TOP
|
特許
|
意匠
|
商標
特許ウォッチ
Twitter
他の特許を見る
10個以上の画像は省略されています。
公開番号
2025153542
公報種別
公開特許公報(A)
公開日
2025-10-10
出願番号
2024056074
出願日
2024-03-29
発明の名称
橋脚構造
出願人
日本製鉄株式会社
代理人
個人
,
個人
,
個人
,
個人
,
個人
,
個人
,
個人
,
個人
主分類
E01D
19/02 20060101AFI20251002BHJP(道路,鉄道または橋りょうの建設)
要約
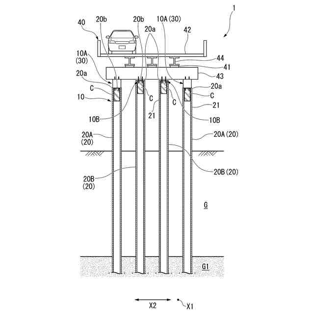
【課題】補修が難しい地中の杭部の損傷を抑制でき、モーメント集中部を横梁と柱の接合部との一部に誘導することができ、補修を容易に行うことができる橋脚構造を提供する。
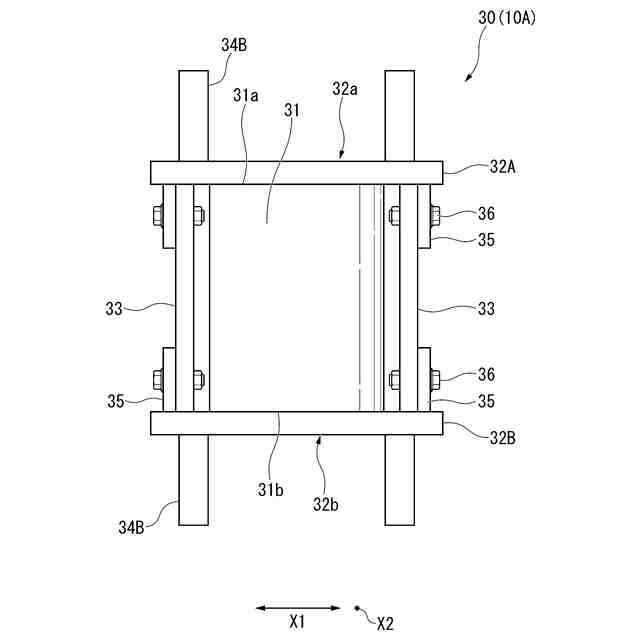
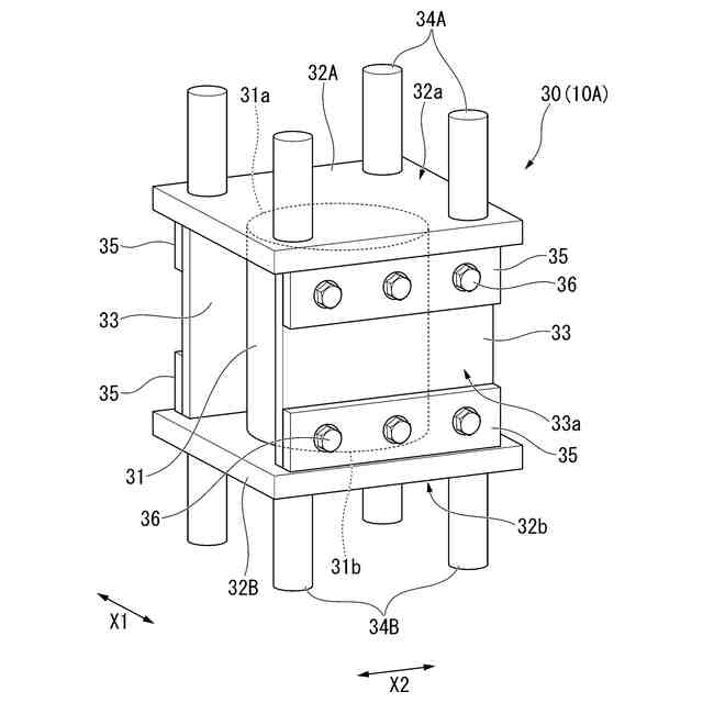
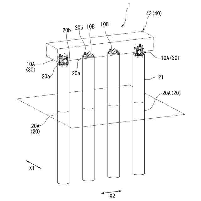
【解決手段】所定の高さまで立ち上げて柱部材を兼用する複数の鋼管杭20と、橋軸直角方向X2に配列される複数の鋼管杭20の杭頭部20aに連結される横梁43と、を備え、橋軸直角方向X2に配置される複数の杭頭部20aと横梁43とのそれぞれの接続部のうち少なくとも1つが第1杭頭固定度による剛結合の第1接続部10Aを有し、他の接続部が第1接続部10Aの第1杭頭固定度より小さい第2杭頭固定度による第2接続部10Bを有する。
【選択図】図1
特許請求の範囲
【請求項1】
地表面から突出した複数の鋼管杭と、橋軸直角方向に配列される前記複数の鋼管杭の杭頭部に連結される横梁と、を備える橋脚構造であって、
橋軸直角方向に配置される複数の前記杭頭部と前記横梁とのそれぞれの接続部のうち少なくとも1つが第1杭頭固定度による剛結合の第1接続部を有し、他の接続部が前記第1接続部の前記第1杭頭固定度より小さい第2杭頭固定度による第2接続部を有する、橋脚構造。
続きを表示(約 280 文字)
【請求項2】
前記第1接続部は、橋軸直角方向に配列される前記複数の鋼管杭のうち少なくとも両端の2本を含む両側に配置され、
前記第2接続部は、前記第1接続部を有する前記両側に配置される鋼管杭の間の中央部に配置される、請求項1に記載の橋脚構造。
【請求項3】
前記第1接続部は、前記杭頭部及び前記横梁に対して取替え可能に設けられる、請求項1又は2に記載の橋脚構造。
【請求項4】
前記第1接続部は、橋軸直角方向の荷重によってせん断降伏するせん断パネルを有するせん断降伏装置を備える、請求項3に記載の橋脚構造。
発明の詳細な説明
【技術分野】
【0001】
本発明は、橋脚構造に関する。
続きを表示(約 1,800 文字)
【背景技術】
【0002】
従来、杭部材を所定の高さまで立ち上げて柱部材とし、頭部を鉄筋コンクリートなどの横梁で結合するパイルベント構造が知られている(例えば、特許文献1参照)。このようなパイルベント構造では、フーチングを省略できることから、従来のRC橋脚に比べて、建設コストの削減や工期短縮、狭隘部施工が可能となる。
【先行技術文献】
【特許文献】
【0003】
特開2009-280956号公報
【発明の概要】
【発明が解決しようとする課題】
【0004】
しかしながら、従来のパイルベント構造は、従来の柱部材と横梁とがすべて剛結合の場合には、地中部と同程度以上のモーメントが柱頭部(杭頭部)に生じるが、現実的には完全に剛結合とすることは難しく,剛結合よりも固定度度合いは低い。そのため、杭頭の固定度合いが低下するに従い、地中部の最大モーメントが増加し、柱頭モーメントが低下するため、杭部の損傷リスクが高まる。
【0005】
すなわち、同一水平力が作用する場合であっても、パイルベントの柱部材の柱高さ(杭の突出長さ)が高くなるほど、地中部の曲げモーメントが増大する特徴があるため、大荷重作用時には地中約5~10m程度の深い位置にある杭部が損傷するリスクがある。この場合、複数ある杭のうちどの杭が損傷するかを予測することが困難であり、補修する場合には土砂を除去するといった大規模な工事が必要となっていた。このように、パイルベント構造では、損傷後の復旧性を考慮すると、地中の杭部での損傷を避けることが望ましく、その点で改善の余地があった。
【0006】
本発明は、上述する問題点に鑑みてなされたもので、補修が難しい地中の杭部の損傷を抑制でき、モーメント集中部を横梁と柱の接合部との一部に誘導することができ、補修を容易に行うことができる橋脚構造を提供することを目的とする。
【課題を解決するための手段】
【0007】
(1)本発明に係る橋脚構造の態様1は、地表面から突出した複数の鋼管杭と、橋軸直角方向に配列される前記複数の鋼管杭の杭頭部に連結される横梁と、を備える橋脚構造であって、橋軸直角方向に配置される複数の前記杭頭部と前記横梁とのそれぞれの接続部のうち少なくとも1つが第1杭頭固定度による剛結合の第1接続部を有し、他の接続部が前記第1接続部の前記第1杭頭固定度より小さい第2杭頭固定度による第2接続部を有することを特徴としている。
【0008】
本発明では、橋軸直角方向に配列される複数の鋼管杭においてそれぞれの杭頭部の杭頭固定度に剛結合の第1接続部と半剛接合の第2接合部とを混在させることによって、剛結合の第1接続部にモーメントを集中させることができ、補修が難しい地中部の鋼管杭の損傷を抑制することができる。そして、本発明では、複数の杭頭部の杭頭固定度において剛結合の第1接続部と半剛接合の第2接続部とを混在させることによって、半剛接合とした鋼管杭への導入力が低減し、大荷重時であっても損傷を防ぎやすくなり、他部が損傷しても橋脚としての鉛直支持保持機能等を維持することができる。
【0009】
このように本発明にかかる橋脚構造では、横梁と鋼管杭との接合部の杭頭固定度を用いて、複数ある杭頭部に剛結合と半剛接合を混在させて剛結合部に損傷を誘導することができる。すなわち、モーメントを集中させたい杭頭部に設定したり、損傷箇所を任意の杭の杭頭部に設定できる。そのため、損傷箇所を補修しやすい例えば橋軸直角方向の両側等の箇所に限定した構造にでき、また空間制約等を考慮して復旧しやすい箇所を選定できる。さらに、損傷しない鋼管杭に対して鉛直支持等の機能を維持させることで構造の冗長性を担保することができる。
【0010】
(2)本発明の態様2は、態様1の橋脚構造において、前記第1接続部は、橋軸直角方向に配列される前記複数の鋼管杭のうち少なくとも両端の2本を含む両側に配置され、前記第2接続部は、前記第1接続部を有する前記両側に配置される鋼管杭の間の中央部に配置されることを特徴としてもよい。
(【0011】以降は省略されています)
この特許をJ-PlatPat(特許庁公式サイト)で参照する
関連特許
日本製鉄株式会社
線材
21日前
日本製鉄株式会社
鋼部品
27日前
日本製鉄株式会社
鋼部品
27日前
日本製鉄株式会社
溶接継手
19日前
日本製鉄株式会社
橋脚構造
25日前
日本製鉄株式会社
鍛鋼ロール
26日前
日本製鉄株式会社
鍛鋼ロール
26日前
日本製鉄株式会社
腐食センサ
25日前
日本製鉄株式会社
高Ni合金鋼
25日前
日本製鉄株式会社
管理システム
25日前
日本製鉄株式会社
高Ni合金鋼
25日前
日本製鉄株式会社
溶鉄の製造方法
6日前
日本製鉄株式会社
溶鉄の製造方法
27日前
日本製鉄株式会社
溶鉄の製造方法
6日前
日本製鉄株式会社
高炉の操業方法
27日前
日本製鉄株式会社
原油油槽用鋼材
21日前
日本製鉄株式会社
鋼矢板の製造方法
26日前
日本製鉄株式会社
鉄道車両用の台車
28日前
日本製鉄株式会社
鉄道車両用の車軸
19日前
日本製鉄株式会社
鉄鉱石の選別方法
18日前
日本製鉄株式会社
焼結鉱の製造方法
26日前
日本製鉄株式会社
鋼の連続鋳造方法
26日前
日本製鉄株式会社
鉄鉱石の選別方法
25日前
日本製鉄株式会社
モールドパウダー
26日前
日本製鉄株式会社
金属材の製造方法
27日前
日本製鉄株式会社
スラグの処理方法
26日前
日本製鉄株式会社
溶鋼の脱窒処理方法
25日前
日本製鉄株式会社
鉄道車両用の台車枠
20日前
日本製鉄株式会社
金属部品の製造方法
25日前
日本製鉄株式会社
腐食モニタリング装置
11日前
日本製鉄株式会社
分析装置および分析方法
5日前
日本製鉄株式会社
堤防および堤防の施工方法
26日前
日本製鉄株式会社
壁用下地部材及び壁パネル
27日前
日本製鉄株式会社
分離システム及び分離方法
11日前
日本製鉄株式会社
分離システム及び分離方法
11日前
日本製鉄株式会社
コークスの粉化量予測方法
6日前
続きを見る
他の特許を見る