TOP
|
特許
|
意匠
|
商標
特許ウォッチ
Twitter
他の特許を見る
公開番号
2025149211
公報種別
公開特許公報(A)
公開日
2025-10-08
出願番号
2024049709
出願日
2024-03-26
発明の名称
鋼部品
出願人
日本製鉄株式会社
代理人
アセンド弁理士法人
主分類
C22C
38/00 20060101AFI20251001BHJP(冶金;鉄または非鉄合金;合金の処理または非鉄金属の処理)
要約
【課題】摩擦係数が十分に抑制された鋼部品を提供する。
【解決手段】本開示の鋼部品は、表層に焼入れ硬化層を備え、化学組成が、C:0.30~0.70%、Si:0.15~1.00%、Mn:0.30~1.00%、P:0.030%以下、S:0.025%以下、Cr:0.90~2.00%、Al:0.005~0.100%、N:0.0250%以下、O:0.0050%以下、Cu:0.10~0.50%、Ni:0.05~2.00%、を含有し、残部はFe及び不純物からなり、鋼部品の化学組成におけるCu含有量及びNi含有量の総和である内部CuNi濃度Tcと、鋼部品の表面から鋼部品の深さ方向にグロー放電発光分光分析を実施して得られる深さ方向元素濃度プロファイルにおいて、鋼部品の表面から10nm深さまでの領域のCu濃度とNi濃度との総和である表層CuNi濃度Tsとが、式(1)を満たす。
Ts/Tc≧0.60 (1)
【選択図】なし
特許請求の範囲
【請求項1】
鋼部品であって、
少なくとも表層に焼入れ硬化層を備え、
化学組成が、質量%で、
C:0.30~0.70%、
Si:0.15~1.00%、
Mn:0.30~1.00%、
P:0.030%以下、
S:0.025%以下、
Cr:0.90~2.00%、
Al:0.005~0.100%、
N:0.0250%以下、
O:0.0050%以下、
Cu:0.10~0.50%、及び、
Ni:0.05~2.00%、を含有し、
残部はFe及び不純物からなり、
前記鋼部品の化学組成における質量%でのCu含有量及びNi含有量の総和である内部CuNi濃度Tcと、
前記鋼部品の表面から前記鋼部品の深さ方向にグロー放電発光分光分析を実施して得られる深さ方向元素濃度プロファイルにおいて、前記鋼部品の表面から10nm深さまでの領域における質量%でのCu濃度とNi濃度との総和である表層CuNi濃度Tsとが、式(1)を満たす、
鋼部品。
表層CuNi濃度Ts/内部CuNi濃度Tc≧0.60 (1)
続きを表示(約 1,000 文字)
【請求項2】
鋼部品であって、
少なくとも表層に焼入れ硬化層を備え、
化学組成が、質量%で、
C:0.30~0.70%、
Si:0.15~1.00%、
Mn:0.30~1.00%、
P:0.030%以下、
S:0.025%以下、
Cr:0.90~2.00%、
Al:0.005~0.100%、
N:0.0250%以下、
O:0.0050%以下、
Cu:0.10~0.50%、及び、
Ni:0.05~2.00%、を含有し、
さらに、第1群~第4群からなる群から選択される1種以上を含有し、
残部はFe及び不純物からなり、
前記鋼部品の化学組成における質量%でのCu含有量及びNi含有量の総和である内部CuNi濃度Tcと、
前記鋼部品の表面から前記鋼部品の深さ方向にグロー放電発光分光分析を実施して得られる深さ方向元素濃度プロファイルにおいて、前記鋼部品の表面から10nm深さまでの領域における質量%でのCu濃度とNi濃度との総和である表層CuNi濃度Tsとが、式(1)を満たす、
鋼部品。
[第1群]
Mo:0.60%以下、及び、
B:0.0050%以下、からなる群から選択される1種以上
[第2群]
Ti:0.050%以下、
Nb:0.050%以下、及び、
V:0.150%以下、からなる群から選択される1種以上
[第3群]
Sn:0.10%以下
[第4群]
Ca:0.0050%以下、及び、
Mg:0.0050%以下、からなる群から選択される1種以上
表層CuNi濃度Ts/内部CuNi濃度Tc≧0.60 (1)
【請求項3】
請求項2に記載の鋼部品であって、
前記化学組成は、第1群を含有する、
鋼部品。
【請求項4】
請求項2に記載の鋼部品であって、
前記化学組成は、第2群を含有する、
鋼部品。
【請求項5】
請求項2に記載の鋼部品であって、
前記化学組成は、第3群を含有する、
鋼部品。
【請求項6】
請求項2に記載の鋼部品であって、
前記化学組成は、第4群を含有する、
鋼部品。
発明の詳細な説明
【技術分野】
【0001】
本開示は鋼部品に関し、さらに詳しくは、焼入れ処理が施された鋼部品に関する。
続きを表示(約 2,000 文字)
【背景技術】
【0002】
自動車等の動力伝達機構(パワーユニット及びパワーユニットの周辺)には、歯車に代表される鋼部品が利用されている。このような用途の鋼部品では、動力伝達機構の摩擦損失を低減させるため、摺動面の摩擦係数の低減が求められる。
【0003】
特開2013-083322号公報(特許文献1)及び特開2021-167395号公報(特許文献2)では、摩擦係数を低減可能な鋼部品を提案する。特許文献1に提案された鋼部品である歯車では、歯車の摺動面にプラトー構造表面を形成することにより、摩擦係数を低減している。特許文献2では、浸炭処理された鋼部品である歯車に、特定の化学組成を有するトライボ膜を形成することにより、摩擦係数を低減している。
【先行技術文献】
【特許文献】
【0004】
特開2013-083322号公報
特開2021-167395号公報
【発明の概要】
【発明が解決しようとする課題】
【0005】
特許文献1では鋼部品の表面形状を調整し、特許文献2ではトライボ膜の化学組成を調整して、鋼部品の表面の摩擦係数を低減している。しかしながら、他の手段によって鋼部品の表面の摩擦係数を低減してもよい。
【0006】
本開示の目的は、摩擦係数が十分に抑制された鋼部品を提供することである。
【課題を解決するための手段】
【0007】
本開示による鋼部品は、
少なくとも表層に焼入れ硬化層を備え、
化学組成が、質量%で、
C:0.30~0.70%、
Si:0.15~1.00%、
Mn:0.30~1.00%、
P:0.030%以下、
S:0.025%以下、
Cr:0.90~2.00%、
Al:0.005~0.100%、
N:0.0250%以下、
O:0.0050%以下、
Cu:0.10~0.50%、及び、
Ni:0.05~2.00%、を含有し、
残部はFe及び不純物からなり、
鋼部品の化学組成における質量%でのCu含有量及びNi含有量の総和である内部CuNi濃度Tcと、
鋼部品の表面から鋼部品の深さ方向にグロー放電発光分光分析を実施して得られる深さ方向元素濃度プロファイルにおいて、鋼部品の表面から10nm深さまでの領域における質量%でのCu濃度とNi濃度との総和である表層CuNi濃度Tsとが、式(1)を満たす。
表層CuNi濃度Ts/内部CuNi濃度Tc≧0.60 (1)
【0008】
本開示による鋼部品は、
少なくとも表層に焼入れ硬化層を備え、
化学組成が、質量%で、
C:0.30~0.70%、
Si:0.15~1.00%、
Mn:0.30~1.00%、
P:0.030%以下、
S:0.025%以下、
Cr:0.90~2.00%、
Al:0.005~0.100%、
N:0.0250%以下、
O:0.0050%以下、
Cu:0.10~0.50%、及び、
Ni:0.05~2.00%、を含有し、
さらに、第1群~第4群からなる群から選択される1種以上を含有し、
残部はFe及び不純物からなり、
鋼部品の化学組成における質量%でのCu含有量及びNi含有量の総和である内部CuNi濃度Tcと、
鋼部品の表面から鋼部品の深さ方向にグロー放電発光分光分析を実施して得られる深さ方向元素濃度プロファイルにおいて、鋼部品の表面から10nm深さまでの領域における質量%でのCu濃度とNi濃度との総和である表層CuNi濃度Tsとが、式(1)を満たす。
[第1群]
Mo:0.60%以下、及び、
B:0.0050%以下、からなる群から選択される1種以上
[第2群]
Ti:0.050%以下、
Nb:0.050%以下、及び、
V:0.150%以下、からなる群から選択される1種以上
[第3群]
Sn:0.10%以下
[第4群]
Ca:0.0050%以下、及び、
Mg:0.0050%以下、からなる群から選択される1種以上
表層CuNi濃度Ts/内部CuNi濃度Tc≧0.60 (1)
【発明の効果】
【0009】
本発明による鋼部品では、摩擦係数が十分に抑制される。
【図面の簡単な説明】
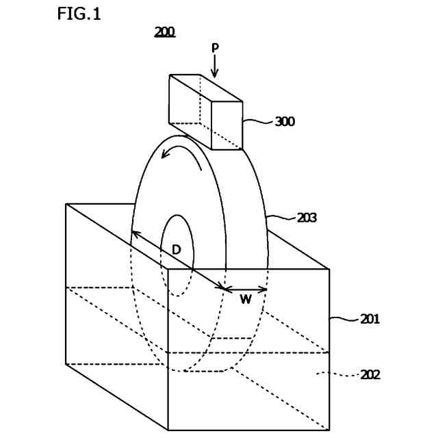
【0010】
図1は、実施例のブロックオンリング試験の模式図である。
【発明を実施するための形態】
(【0011】以降は省略されています)
この特許をJ-PlatPat(特許庁公式サイト)で参照する
関連特許
日本製鉄株式会社
棒鋼
1日前
日本製鉄株式会社
棒鋼
1日前
日本製鉄株式会社
線材
1か月前
日本製鉄株式会社
鋼部品
1か月前
日本製鉄株式会社
鋼部品
1か月前
日本製鉄株式会社
鋼部品
1日前
日本製鉄株式会社
溶接継手
1か月前
日本製鉄株式会社
溶接継手
7日前
日本製鉄株式会社
橋脚構造
1か月前
日本製鉄株式会社
鍛鋼ロール
1か月前
日本製鉄株式会社
腐食センサ
1か月前
日本製鉄株式会社
鍛鋼ロール
1か月前
日本製鉄株式会社
管理システム
1か月前
日本製鉄株式会社
学習システム
1か月前
日本製鉄株式会社
高Ni合金鋼
1か月前
日本製鉄株式会社
高Ni合金鋼
1か月前
日本製鉄株式会社
溶鉄の製造方法
1か月前
日本製鉄株式会社
溶鉄の製造方法
23日前
日本製鉄株式会社
溶鉄の製造方法
23日前
日本製鉄株式会社
原油油槽用鋼材
1か月前
日本製鉄株式会社
高炉の操業方法
1か月前
日本製鉄株式会社
機械構造用部品
2日前
日本製鉄株式会社
モールドパウダー
1か月前
日本製鉄株式会社
鋼の連続鋳造方法
1か月前
日本製鉄株式会社
鋼の連続鋳造方法
1日前
日本製鉄株式会社
鉄道車両用の車軸
1か月前
日本製鉄株式会社
金属材の製造方法
1か月前
日本製鉄株式会社
鉄鉱石の選別方法
1か月前
日本製鉄株式会社
鋼の連続鋳造方法
1か月前
日本製鉄株式会社
鉄道車両用の台車
1か月前
日本製鉄株式会社
スラグの処理方法
1か月前
日本製鉄株式会社
鉄鉱石の選別方法
1か月前
日本製鉄株式会社
金属材の製造方法
1か月前
日本製鉄株式会社
鋼矢板の製造方法
1か月前
日本製鉄株式会社
焼結鉱の製造方法
1か月前
日本製鉄株式会社
焼結鉱の製造方法
14日前
続きを見る
他の特許を見る