TOP
|
特許
|
意匠
|
商標
特許ウォッチ
Twitter
他の特許を見る
10個以上の画像は省略されています。
公開番号
2025152801
公報種別
公開特許公報(A)
公開日
2025-10-10
出願番号
2024054892
出願日
2024-03-28
発明の名称
腐食センサ
出願人
日本製鉄株式会社
代理人
アクシス国際弁理士法人
主分類
G01N
17/04 20060101AFI20251002BHJP(測定;試験)
要約
【課題】塗装傷部からの腐食がどのように進展するかより細かく得ることができ、塗装傷部からの腐食の進展評価を改善できる腐食センサを提供する。
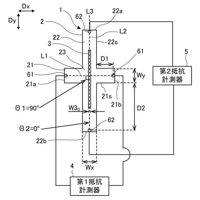
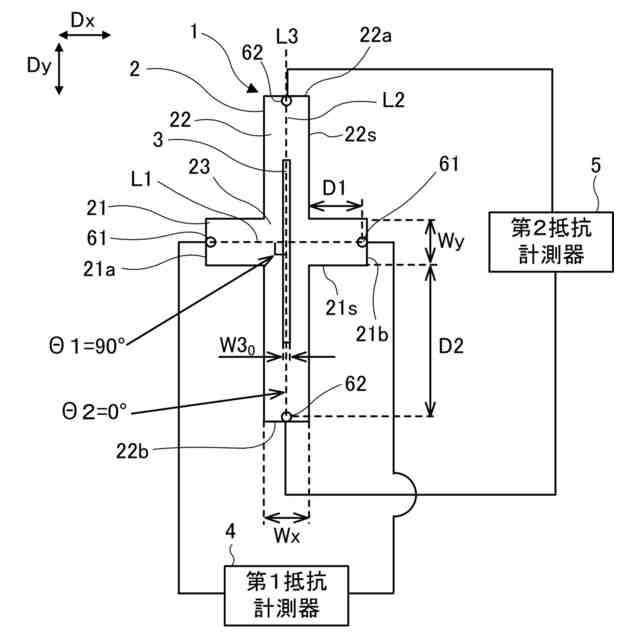
【解決手段】本発明による腐食センサ1は、互いに交差して延在する第1板部21及び第2板部22を有するセンサ本体2と、第1板部21及び第2板部22の交差部23を含めて第2板部22の延在方向に延びるように第2板部22に設けられた線状の塗装傷部3と、塗装傷部3が間に位置するように第1板部21に設けられた第1の一対の点61の間の第1電気抵抗R1を計測するための第1抵抗計測器4と、第2板部22に設けられた第2の一対の点62の間の第2電気抵抗R2を計測するための第2抵抗計測器5とを備え、第1電気抵抗R1及び第2電気抵抗R2から、塗装傷部3からの腐食の幅a及び深さbを得るように構成されている。
【選択図】図1
特許請求の範囲
【請求項1】
互いに交差して延在する第1板部及び第2板部を有する、塗装金属板からなるセンサ本体と、
前記第1板部及び第2板部の交差部を含めて前記第2板部の延在方向に延びるように前記第2板部に設けられた線状の塗装傷部と、
前記塗装傷部が間に位置するように前記第1板部の延在方向に離間して前記第1板部に設けられた第1の一対の点の間の第1電気抵抗を計測するための第1抵抗計測器と、
前記第2板部の延在方向に離間して前記第2板部に設けられた第2の一対の点の間の第2電気抵抗を計測するための第2抵抗計測器と
を備え、
前記第1電気抵抗及び前記第2電気抵抗から、前記塗装傷部からの腐食の幅及び深さを得るように構成されている、
腐食センサ。
続きを表示(約 450 文字)
【請求項2】
前記第1板部及び第2板部は十字をなすように交差されている、
請求項1に記載の腐食センサ。
【請求項3】
前記第1板部の延在方向に係る前記第2板部の幅は、前記第1板部の延在方向に係る前記塗装傷部の初期幅の2倍以上である、
請求項2に記載の腐食センサ。
【請求項4】
前記第1板部の延在方向に係る前記第2板部の側端から前記第1の一対の点までの距離は、前記第2板部の延在方向に係る前記第1板部の幅以上である、
請求項2又は3に記載の腐食センサ。
【請求項5】
前記第2板部の延在方向に係る前記第1板部の幅は、前記第1板部の延在方向に係る前記第2板部の幅と等しい、
請求項2又は3に記載の腐食センサ。
【請求項6】
前記第2板部の延在方向に係る前記第1板部の側端から前記第2の一対の点までの距離は、前記第1板部の延在方向に係る前記第2板部の幅以上である、
請求項2又は3に記載の腐食センサ。
発明の詳細な説明
【技術分野】
【0001】
本発明は、金属材料の腐食を測定する腐食センサに関する。
続きを表示(約 1,700 文字)
【背景技術】
【0002】
例えば鋼材等の金属材料の寿命推定や耐食鋼材の研究開発におけるニーズを背景として、鋼材の腐食モニタリング技術の開発が進められている。例えば下記の特許文献1,2等に示されているように、腐食モニタリング方法の一つとして、板厚減少に伴う電気抵抗の増加に基づいて腐食量を測定する方法が知られている。
【0003】
このような電気抵抗の変化を利用した腐食モニタリング方法は、その原理から、金属材料が均一に腐食する場合の評価に用いられている。一方、例えば塗装鋼材等の塗装金属板では塗装欠陥部からの局部腐食が課題であり、塗装欠陥部の腐食進展を抑制する金属材料の開発が行われている。そのような金属材料の評価方法として、塗装鋼材の一部に切欠きを入れ、実環境下での暴露試験又は腐食試験機内での腐食試験を所定期間実施し、その後、対象とする構造物や試験体の塗装欠陥から生じた腐食部の塗膜を剥ぎ、腐食生成物を除去した後、剥離面積率や腐食深さを調査することが行われている。
【0004】
しかし、剥離面積は表面部を2次元的に捉えた評価であり、腐食深さの計測も一部の深さに限定される。レーザによる形状計測を行った場合でも初期状態が明確でないことや、基準面の設定が難しいことにより簡便には評価できない。また、評価の際に塗膜を剥ぐため試験を継続することができず、同じ試験片では時間的な変化を評価することができない。
【0005】
下記の特許文献3では、「計測金属と、前記計測金属と同じ金属からなる参照金属と、前記計測金属及び前記参照金属を覆う絶縁性の塗膜と、を備え、前記塗膜は、前記計測金属と重なる部分の一部に切欠きを有し、前記計測金属及び前記参照金属は、前記塗膜の切欠きの位置を除いて測定環境から遮蔽されており、前記計測金属及び前記参照金属の各々の電気抵抗を計測できるように構成されている、腐食センサ」が提案されている。
【先行技術文献】
【特許文献】
【0006】
特開2016-197102号公報
特開2017-3376号公報
特開2022-151951号公報
【発明の概要】
【発明が解決しようとする課題】
【0007】
上記の特許文献3の腐食センサでは、局部腐食による腐食量を簡便に評価することができるが、塗装傷部からの腐食がどのように進展するか細かく把握することができず、塗装傷部からの腐食の進展評価に改善の余地がある。より具体的には、上記の特許文献3の腐食センサでは、塗装傷部からの腐食の幅及び深さが得ることができない。
【0008】
本発明は、上記のような課題を解決するためになされたものであり、その目的の一つは、塗装傷部からの腐食がどのように進展するかより細かく得ることができ、塗装傷部からの腐食の進展評価を改善できる腐食センサを提供することである。
【課題を解決するための手段】
【0009】
本発明に係る腐食センサは、一実施形態において、互いに交差して延在する第1板部及び第2板部を有する、塗装金属板からなるセンサ本体と、第1板部及び第2板部の交差部を含めて第2板部の延在方向に延びるように第2板部に設けられた線状の塗装傷部と、塗装傷部が間に位置するように第1板部の延在方向に離間して第1板部に設けられた第1の一対の点の間の第1電気抵抗を計測するための第1抵抗計測器と、第2板部の延在方向に離間して第2板部に設けられた第2の一対の点の間の第2電気抵抗を計測するための第2抵抗計測器とを備え、第1電気抵抗及び第2電気抵抗から、塗装傷部からの腐食の幅及び深さを得るように構成されている。
【発明の効果】
【0010】
本発明の腐食センサの一実施形態によれば、第1電気抵抗及び第2電気抵抗から塗装傷部からの腐食の幅及び深さを得るように構成されているので、塗装傷部からの腐食がどのように進展するかより細かく得ることでき、塗装傷部からの腐食の進展評価を改善できる。
【図面の簡単な説明】
(【0011】以降は省略されています)
この特許をJ-PlatPat(特許庁公式サイト)で参照する
関連特許
日本製鉄株式会社
線材
20日前
日本製鉄株式会社
鋼部品
26日前
日本製鉄株式会社
鋼部品
26日前
日本製鉄株式会社
溶接継手
18日前
日本製鉄株式会社
橋脚構造
24日前
日本製鉄株式会社
鍛鋼ロール
25日前
日本製鉄株式会社
鍛鋼ロール
25日前
日本製鉄株式会社
腐食センサ
24日前
日本製鉄株式会社
管理システム
24日前
日本製鉄株式会社
高Ni合金鋼
24日前
日本製鉄株式会社
高Ni合金鋼
24日前
日本製鉄株式会社
溶鉄の製造方法
5日前
日本製鉄株式会社
溶鉄の製造方法
5日前
日本製鉄株式会社
原油油槽用鋼材
20日前
日本製鉄株式会社
スラグの処理方法
25日前
日本製鉄株式会社
金属材の製造方法
26日前
日本製鉄株式会社
モールドパウダー
25日前
日本製鉄株式会社
鉄道車両用の車軸
18日前
日本製鉄株式会社
焼結鉱の製造方法
25日前
日本製鉄株式会社
鉄鉱石の選別方法
24日前
日本製鉄株式会社
鉄鉱石の選別方法
17日前
日本製鉄株式会社
鋼の連続鋳造方法
25日前
日本製鉄株式会社
鋼矢板の製造方法
25日前
日本製鉄株式会社
金属部品の製造方法
24日前
日本製鉄株式会社
溶鋼の脱窒処理方法
24日前
日本製鉄株式会社
鉄道車両用の台車枠
19日前
日本製鉄株式会社
腐食モニタリング装置
10日前
日本製鉄株式会社
分析装置および分析方法
4日前
日本製鉄株式会社
コークスの粉化量予測方法
5日前
日本製鉄株式会社
堤防および堤防の施工方法
25日前
日本製鉄株式会社
分離システム及び分離方法
10日前
日本製鉄株式会社
分離システム及び分離方法
10日前
日本製鉄株式会社
壁用下地部材及び壁パネル
26日前
日本製鉄株式会社
腐食センサ及び腐食測定方法
24日前
日本製鉄株式会社
フェライト系ステンレス鋼板
24日前
日本製鉄株式会社
電気炉による溶鋼の製造方法
10日前
続きを見る
他の特許を見る