TOP
|
特許
|
意匠
|
商標
特許ウォッチ
Twitter
他の特許を見る
10個以上の画像は省略されています。
公開番号
2025149108
公報種別
公開特許公報(A)
公開日
2025-10-08
出願番号
2024049558
出願日
2024-03-26
発明の名称
溶鉄の製造方法
出願人
日本製鉄株式会社
代理人
個人
主分類
C21B
11/10 20060101AFI20251001BHJP(鉄冶金)
要約
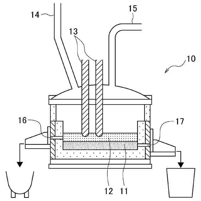
【課題】還元鉄を溶解して高い歩留まりで溶鉄を製造する溶鉄の製造方法を提供する。
【解決手段】炉体の側面に配置された排滓口からスラグを排滓する電気炉において、炭材を添加してアーク加熱により固体還元鉄を溶解し、溶鉄を製造する溶鉄の製造方法であって、添加する炭材のVM含有量を30質量%以下とし、電気炉が固定方式の場合は、排滓口の下端と溶鉄面との距離を100mm以上確保するように溶鉄を出湯し、電気炉が傾動方式の場合は、炉体を傾動した状態において、排滓口の下端の最も高い位置と溶鉄面との高さの差を100mm以上確保するように、炉体を傾動してスラグを排滓する。
【選択図】図1
特許請求の範囲
【請求項1】
炉体を傾動させずに前記炉体の側面に配置された排滓口からスラグを排滓する電気炉において、炭材を添加してアーク加熱により固体還元鉄を溶解し、溶鉄を製造する溶鉄の製造方法であって、
前記炭材のVM含有量を30質量%以下とし、
前記排滓口の下端と溶鉄面との距離を100mm以上確保するように、前記溶鉄を出湯することを特徴とする溶鉄の製造方法。
続きを表示(約 560 文字)
【請求項2】
炉体を傾動させて前記炉体の側面に配置された排滓口からスラグを排滓する電気炉において、炭材を添加してアーク加熱により固体還元鉄を溶解し、溶鉄を製造する溶鉄の製造方法であって、
前記炭材のVM含有量を30質量%以下とし、
前記排滓口の下端の最も高い位置と溶鉄面との高さの差を100mm以上確保するように、前記炉体を傾動して前記スラグを排滓し、その後、前記溶鉄を出湯することを特徴とする溶鉄の製造方法。
【請求項3】
前記排滓口の下端と溶鉄面との距離が150mm以下になる前に、炭材の供給を停止することを特徴とする請求項1に記載の溶鉄の製造方法。
【請求項4】
前記炉体を傾動した場合に前記排滓口の下端の最も高い位置と溶鉄面との距離が150mmとなる高さに溶鉄面が到達する前に炭材の供給を停止することを特徴とする請求項2に記載の溶鉄の製造方法。
【請求項5】
前記電気炉に投入される固体炭素源のうち、炭材から由来する固定炭素の割合を95質量%以下とすることを特徴とする請求項1または2に記載の溶鉄の製造方法。
【請求項6】
炉中心より排滓口側に炭材を添加することを特徴とする請求項1または2に記載の溶鉄の製造方法。
発明の詳細な説明
【技術分野】
【0001】
本発明は、電気炉を用いた溶鉄の製造方法に関する。
続きを表示(約 2,200 文字)
【背景技術】
【0002】
近年、CO
2
削減という観点から、電気炉において固体還元鉄を溶解するとともに未還元の酸化鉄分を還元して溶鉄を製造する方法が多く採用されてきている。未還元の酸化鉄分を還元する場合には、還元剤として炭材が投入される。また、固体還元鉄には脈石成分として多くのSiO
2
やAl
2
O
3
といった成分が含まれており、これらの成分がスラグとなることから塩基度を調整する必要があり、そのために生石灰などが投入される。このように固体還元鉄の溶解により大量のスラグが生成されることから、連続的に固体還元鉄の溶解を行う場合には、スラグの排滓も逐次行う必要がある。
【0003】
そこで、スラグの排滓と溶鉄の出湯とを効率良く行い、生産性を向上させるために様々な技術が提案されている。特許文献1には、アークによる固体還元鉄の溶解と排滓口からのスラグの排出とを交互に複数回繰り返し、所定量の溶銑が生成された段階で出銑を行う溶銑の製造方法が開示されている。
【先行技術文献】
【特許文献】
【0004】
特開2017-57431号公報
【発明の概要】
【発明が解決しようとする課題】
【0005】
一般的に固体還元鉄は電気炉へ連続的に投入されるため、スラグを排出する直前では未溶解の固体還元鉄が残存する場合がある。その場合、固体還元鉄の見かけ密度はスラグよりも大きく溶鉄よりも小さいことから溶鉄とスラグとの界面で溶銑面の上側に未溶解の固体還元鉄が残存しやすい。特許文献1に記載の方法では、スラグを排滓口から排出する際に未溶解の固体還元鉄までも排出されてしまう可能性があり、その場合には鉄の歩留まりが低下してしまう。
【0006】
本発明は前述の問題点を鑑み、還元鉄を溶解して高い歩留まりで溶鉄を製造する溶鉄の製造方法を提供することを目的とする。
【課題を解決するための手段】
【0007】
本発明者らは、未溶解の固体還元鉄がスラグとともに排出されないようにするために、未溶解の固体還元鉄が溶鉄とスラグとの界面にどのように残存するかについて基礎実験を行ったところ、固体還元鉄にHBI(Hot Briquetted Iron)を用いた場合に、HBIが連続投入されると、未溶解のHBIが溶鉄上に平均で2層となって存在することを知見した。つまり、HBIの短径を50mm程度とした場合、溶鉄面の上側には100mm程度のHBI層が存在することを知見した。
【0008】
また、還元剤および加炭材としては一般炭やバイオマス炭が用いられる。これらの炭材には揮発分(VM)が含まれており、これらの炭材が投入されると炉内でガスが急速に発生し、溶鉄面が乱れる。そのため、未溶解の固体還元鉄がスラグ中に浮遊しやすくなる。そこで、炉内での溶鉄面の安定性を考慮しながら固体還元鉄の層をスラグとともに排出しないようにすることにより、鉄の歩留まりを向上させることができることを本発明者らは見出した。
【0009】
本発明は以下のとおりである。
[1]
炉体を傾動させずに前記炉体の側面に配置された排滓口からスラグを排滓する電気炉において、炭材を添加してアーク加熱により固体還元鉄を溶解し、溶鉄を製造する溶鉄の製造方法であって、
前記炭材のVM含有量を30質量%以下とし、
前記排滓口の下端と溶鉄面との距離を100mm以上確保するように、前記溶鉄を出湯することを特徴とする溶鉄の製造方法。
[2]
炉体を傾動させて前記炉体の側面に配置された排滓口からスラグを排滓する電気炉において、炭材を添加してアーク加熱により固体還元鉄を溶解し、溶鉄を製造する溶鉄の製造方法であって、
前記炭材のVM含有量を30質量%以下とし、
前記排滓口の下端の最も高い位置と溶鉄面との高さの差を100mm以上確保するように、前記炉体を傾動して前記スラグを排滓し、その後、前記溶鉄を出湯することを特徴とする溶鉄の製造方法。
[3]
前記排滓口の下端と溶鉄面との距離が150mm以下になる前に、炭材の供給を停止することを特徴とする上記[1]に記載の溶鉄の製造方法。
[4]
前記炉体を傾動した場合に前記排滓口の下端の最も高い位置と溶鉄面との距離が150mmとなる高さに溶鉄面が到達する前に炭材の供給を停止することを特徴とする上記[2]に記載の溶鉄の製造方法。
[5]
前記電気炉に投入される固体炭素源のうち、炭材から由来する固定炭素の割合を95質量%以下とすることを特徴とする上記[1]または[2]に記載の溶鉄の製造方法。
[6]
炉中心より排滓口側に炭材を添加することを特徴とする上記[1]または[2]に記載の溶鉄の製造方法。
【発明の効果】
【0010】
本発明によれば、還元鉄を溶解して高い歩留まりで溶鉄を製造することができる。
【図面の簡単な説明】
(【0011】以降は省略されています)
この特許をJ-PlatPat(特許庁公式サイト)で参照する
関連特許
日本製鉄株式会社
橋脚構造
2日前
日本製鉄株式会社
腐食センサ
2日前
日本製鉄株式会社
高Ni合金鋼
2日前
日本製鉄株式会社
高Ni合金鋼
2日前
日本製鉄株式会社
鉄鉱石の選別方法
2日前
日本製鉄株式会社
金属部品の製造方法
2日前
日本製鉄株式会社
溶鋼の脱窒処理方法
2日前
日本製鉄株式会社
フェライト系ステンレス鋼板
2日前
日本製鉄株式会社
ワカメ藻体及びその育成方法
2日前
日本製鉄株式会社
鋼管の連結構造および鋼管杭
2日前
日本製鉄株式会社
鋼管の連結構造および鋼管杭
2日前
日本製鉄株式会社
腐食センサ及び腐食測定方法
2日前
日本製鉄株式会社
橋脚構造及び橋脚構造の施工方法
2日前
日本製鉄株式会社
耐摩耗ライナー、耐摩耗ライナーの製造方法
2日前
日本製鉄株式会社
表面処理鋼板およびそれを用いた自動車用部材
2日前
日本製鉄株式会社
鉄イオン供給施肥材内包材料、鉄イオン供給方法及び藻場造成方法
2日前
日本製鉄株式会社
プレス成形体の設計方法、プレス成形体の設計装置、及びプログラム
2日前
日本製鉄株式会社
磁石飛散防止保護管、永久磁石同期電動モーターの回転子、及び永久磁石同期電動モーター
2日前
個人
バイオ水素製鉄方法
1か月前
新和環境株式会社
炉システム
7か月前
新和環境株式会社
炉システム
7か月前
日本製鉄株式会社
転炉精錬方法
23日前
日本製鉄株式会社
転炉精錬方法
6か月前
日本製鉄株式会社
溶鋼の製造方法
2か月前
富士電子工業株式会社
焼入れ装置
2か月前
日本製鉄株式会社
溶鉄の製造方法
1か月前
日本製鉄株式会社
溶鉄の製造方法
4日前
株式会社伊原工業
還元鉄の製造方法
6か月前
中外炉工業株式会社
連続式熱処理炉
5か月前
株式会社デンケン
高温炉
6か月前
バイオメッド バレー ディスカバリーズ,インコーポレイティド
C21H22Cl2N4O2の結晶形態
4か月前
中外炉工業株式会社
前処理装置
3か月前
日本製鉄株式会社
溶鋼の脱窒処理方法
2日前
株式会社不二越
熱処理システム
1か月前
日本製鉄株式会社
溶銑の予備処理方法
3か月前
高周波熱錬株式会社
熱処理方法及び熱処理装置
2か月前
続きを見る
他の特許を見る