TOP
|
特許
|
意匠
|
商標
特許ウォッチ
Twitter
他の特許を見る
公開番号
2025154256
公報種別
公開特許公報(A)
公開日
2025-10-10
出願番号
2024057158
出願日
2024-03-29
発明の名称
溶鋼の脱窒処理方法
出願人
日本製鉄株式会社
代理人
個人
主分類
C21C
7/00 20060101AFI20251002BHJP(鉄冶金)
要約
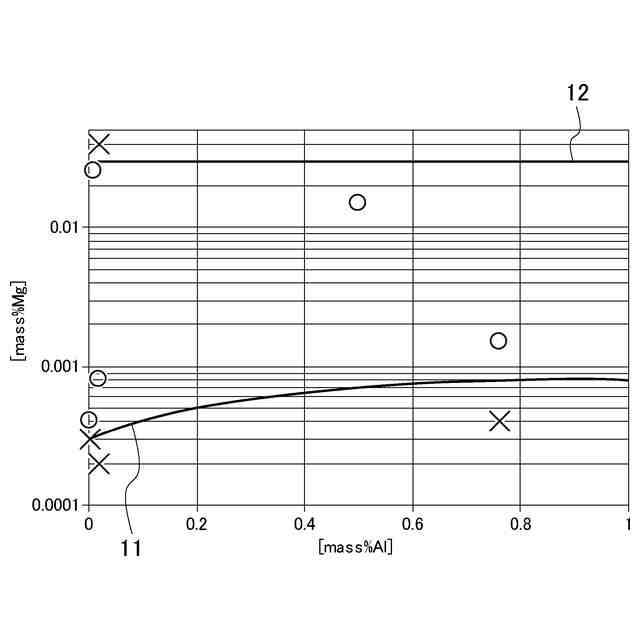
【課題】過剰にMgを用いずに効率よく脱窒処理を行うことが可能な溶鋼の脱窒処理方法を提供する。
【解決手段】減圧下でMgを含有する精錬剤を溶鋼に添加して脱窒処理を行う溶鋼の脱窒処理方法であって、溶鋼中のMg濃度を[Mg]、Al濃度を[Al]、O濃度を[O](いずれも質量%)とした場合に、精錬剤の添加終了直後において、0.03>[Mg]≧-0.0006[Al]
2
+0.0011[Al]+0.0003、かつ0.0020>[O]≧0.0002を満足するように前記精錬剤を添加する。
【選択図】図1
特許請求の範囲
【請求項1】
減圧下でMgを含有する精錬剤を溶鋼に添加して脱窒処理を行う溶鋼の脱窒処理方法であって、
溶鋼中のMg濃度を[Mg]、Al濃度を[Al]、O濃度を[O](いずれも質量%)とした場合に、精錬剤の添加終了直後において、以下の(1)式および(2)式を満足するように前記精錬剤を添加することを特徴とする溶鋼の脱窒処理方法。
0.03>[Mg]≧-0.0006[Al]
2
+0.0011[Al]+0.0003 ・・・(1)
0.0020>[O]≧0.0002 ・・・(2)
発明の詳細な説明
【技術分野】
【0001】
本発明は、効率よく脱窒処理を行うための溶鋼の脱窒処理方法に関する。
続きを表示(約 1,600 文字)
【背景技術】
【0002】
AlN析出物は鋼材の靭性を低下させるため、二次精錬において溶鋼中の窒素濃度を低減することが行われている。二次精錬では、気泡を生成して脱窒速度を向上させるために様々な対策が行われていたが、減圧下においては外部からの大気が侵入して窒素をピックアップしてしまうという課題がある。そこで、大気の侵入による吸窒よりも大きな速度で脱窒を行うための方法として、真空脱ガスプロセスにおいて、揮発性元素であるMgを溶鋼に添加して気泡を発生させ、脱窒を促進するプロセスが提案されている。
【0003】
特許文献1には、Mgなどの脱酸剤を含む粉体を溶鋼に吹付けて脱硫及び脱窒を行う方法が開示されている。また、特許文献2には、Mgなど溶鋼よりも沸点の低い元素を添加して微細な気泡を生成して脱窒処理を行う方法が開示されている。
【先行技術文献】
【特許文献】
【0004】
特開平6-322431号公報
特開2023-127879号公報
【非特許文献】
【0005】
Todoroki et al.: ISIJ Int., 50(2010), 50.
【発明の概要】
【発明が解決しようとする課題】
【0006】
しかしながら、Mgは揮発性が高い金属であることから溶鋼への溶解率が低いため、特許文献1または2に記載の方法を用いて十分に脱窒処理を行うためにはMgを多く添加する必要がある。一方で、過剰にMgを添加するとコストが多くかかり、さらには、過剰なMgが蒸発して精錬容器内に残留するため、メンテナンスの負荷が大きくなるという問題点がある。
【0007】
本発明は前述の問題点を鑑み、過剰にMgを用いずに効率よく脱窒処理を行うことが可能な溶鋼の脱窒処理方法を提供することを目的とする。
【課題を解決するための手段】
【0008】
本発明者らは、過剰にMgを添加せずに効率よく脱窒効果が得られる方法について鋭意検討した。そこで、溶鋼の組成に着目し、実験設備および実機設備を用いて、真空下で溶鋼表面にMgを含有する粉体をキャリアガスとともに吹き付けてMgの溶解率と脱窒速度とを調査した。この実験では、系内で共存する酸化物種を変更し、平衡酸素濃度を変化させるとともに溶鋼組成を種々変化させた。この結果、溶鋼へのMgの溶解率は溶鋼中のMg、Al、Oの化学ポテンシャルにより大きく変化することを明らかにした。この実験結果から本発明者らは、これらの化学ポテンシャルを適切に制御することによりMgの溶解率を増大させて、高い脱窒速度を達成できることを見出した。
【0009】
本発明は以下のとおりである。
[1]
減圧下でMgを含有する精錬剤を溶鋼に添加して脱窒処理を行う溶鋼の脱窒処理方法であって、
溶鋼中のMg濃度を[Mg]、Al濃度を[Al]、O濃度を[O](いずれも質量%)とした場合に、精錬剤の添加終了直後において、以下の(1)式および(2)式を満足するように前記精錬剤を添加することを特徴とする溶鋼の脱窒処理方法。
0.03>[Mg]≧-0.0006[Al]
2
+0.0011[Al]+0.0003 ・・・(1)
0.0020>[O]≧0.0002 ・・・(2)
【発明の効果】
【0010】
本発明によれば、過剰にMgを用いずに効率よく脱窒処理を行うことができる。
【図面の簡単な説明】
(【0011】以降は省略されています)
この特許をJ-PlatPat(特許庁公式サイト)で参照する
関連特許
日本製鉄株式会社
溶鉄の製造方法
8日前
日本製鉄株式会社
溶鉄の製造方法
8日前
日本製鉄株式会社
車両用フロントピラー
今日
日本製鉄株式会社
車両用センターピラー
今日
日本製鉄株式会社
分析装置および分析方法
7日前
日本製鉄株式会社
コークスの粉化量予測方法
8日前
日本製鉄株式会社
分離システム及び分離方法
13日前
日本製鉄株式会社
オーステナイト系ステンレス鋼材
2日前
日本製鉄株式会社
溶接鋼管、及び、溶接鋼管の製造方法
1日前
日本製鉄株式会社
浸炭鋼部品の製造方法及び浸炭鋼部品
8日前
日本製鉄株式会社
精錬用上吹きランス及び溶融金属の精錬方法
10日前
日本製鉄株式会社
プレコート金属板、部材及び表面処理金属板
13日前
個人
バイオ水素製鉄方法
2か月前
新和環境株式会社
炉システム
7か月前
新和環境株式会社
炉システム
7か月前
日本製鉄株式会社
転炉精錬方法
1か月前
日本製鉄株式会社
転炉精錬方法
7か月前
日本製鉄株式会社
溶鉄の製造方法
2か月前
日本製鉄株式会社
溶鋼の製造方法
3か月前
富士電子工業株式会社
焼入れ装置
3か月前
日本製鉄株式会社
溶鉄の製造方法
29日前
NTN株式会社
焼入れ方法
1日前
株式会社伊原工業
還元鉄の製造方法
7か月前
中外炉工業株式会社
連続式熱処理炉
5か月前
日本製鉄株式会社
溶銑の予備処理方法
4か月前
日本製鉄株式会社
溶鋼の脱窒処理方法
27日前
株式会社不二越
熱処理システム
1か月前
中外炉工業株式会社
前処理装置
4か月前
バイオメッド バレー ディスカバリーズ,インコーポレイティド
C21H22Cl2N4O2の結晶形態
4か月前
株式会社デンケン
高温炉
7か月前
大同特殊鋼株式会社
浸炭部材の製造方法
4か月前
高周波熱錬株式会社
熱処理方法及び熱処理装置
3か月前
高周波熱錬株式会社
熱処理方法及び熱処理装置
27日前
バイオメッド バレー ディスカバリーズ,インコーポレイティド
結晶性C21H22Cl2N4O2マロン酸塩
1か月前
JFEスチール株式会社
高炉の原料装入方法
3か月前
東京窯業株式会社
溶鋼処理用の浸漬管
4か月前
続きを見る
他の特許を見る