TOP
|
特許
|
意匠
|
商標
特許ウォッチ
Twitter
他の特許を見る
公開番号
2025161501
公報種別
公開特許公報(A)
公開日
2025-10-24
出願番号
2024064738
出願日
2024-04-12
発明の名称
腐食モニタリング装置
出願人
日本製鉄株式会社
代理人
弁理士法人まこと国際特許事務所
主分類
G01N
27/00 20060101AFI20251017BHJP(測定;試験)
要約
【課題】金属片の腐食量を高精度にモニタリング可能であると共に、腐食生成物が堆積した状態での腐食挙動をモニタリング可能である腐食モニタリング装置を提供する。
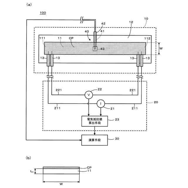
【解決手段】本発明に係る腐食モニタリング装置100は、金属片11と、金属片に通電することで、金属片の電気抵抗値を計測する電気抵抗計測手段20と、電気抵抗計測手段によって計測された金属片の電気抵抗値に基づき、金属片の腐食量を算出する演算手段30と、を備える。金属片の厚みは、0.3mm以下であり、金属片上に予め腐食生成物CPが堆積している。
【選択図】 図1
特許請求の範囲
【請求項1】
金属片と、
前記金属片に通電することで、前記金属片の電気抵抗値を計測する電気抵抗計測手段と、
前記電気抵抗計測手段によって計測された前記金属片の電気抵抗値に基づき、前記金属片の腐食量を算出する演算手段と、を備え、
前記金属片の厚みが、0.3mm以下であり、
前記金属片上に予め腐食生成物が堆積している、
腐食モニタリング装置。
続きを表示(約 230 文字)
【請求項2】
前記演算手段は、算出した前記金属片の腐食量を時間的に平滑化する、
請求項1に記載の腐食モニタリング装置。
【請求項3】
前記金属片の温度を計測する温度計測手段を更に備え、
前記演算手段は、前記電気抵抗計測手段によって計測された前記金属片の電気抵抗値と、前記温度計測手段によって計測された前記金属片の温度とに基づき、前記金属片の腐食量を算出する、
請求項1又は2に記載の腐食モニタリング装置。
発明の詳細な説明
【技術分野】
【0001】
本発明は、金属片の腐食量をモニタリング可能な腐食モニタリング装置に関する。特に、本発明は、金属片の腐食量を高精度にモニタリング可能であると共に、腐食生成物が堆積した状態での腐食挙動をモニタリング可能な腐食モニタリング装置に関する。
続きを表示(約 2,000 文字)
【背景技術】
【0002】
金属製品の寿命予測や維持管理、或いは、耐食性に優れた製品を開発する上で、金属片の腐食量を高精度にモニタリングできる装置が望まれている。
【0003】
金属片の腐食量をモニタリング可能な手段の一つとして、特許文献1~3に記載のような電気抵抗式の腐食センサが挙げられる。電気抵抗式の腐食センサは、腐食センサを構成する金属片の腐食減肉に伴う電気抵抗値の増加に基づき、金属片の腐食量(腐食減肉量)を測定するものである。
【0004】
電気抵抗式の腐食センサにおいて、金属片の腐食量は、金属片の初期の厚みと、金属片の電気抵抗値の変化に関わるパラメータとの積によって算出される。このため、算出される腐食量のノイズ幅(短時間に増減を繰り返すノイズの振幅値)は、金属片の初期の厚みに応じて大きくなる。ノイズ幅が大きい場合には、平滑化等の信号処理を施したとしても、金属片の腐食挙動を精度良く測定できない。したがって、腐食センサの測定精度を高めるには、金属片の初期の厚みを小さく設定する必要がある。
【0005】
一方で、金属片の初期の厚みを小さく設定すると、腐食の進行によって、腐食が金属片の厚み方向に早期に貫通し、腐食量を測定できなくなる。すなわち、測定寿命が短くなってしまう。このため、金属片の腐食がある程度進行して金属片上に腐食生成物が堆積した状態での腐食挙動を把握し難い。金属片の腐食挙動は、腐食生成物の有無で大きく変化するため、腐食生成物が堆積した状態での腐食挙動を把握し難いのは問題である。
【先行技術文献】
【特許文献】
【0006】
特開2017-3376号公報
特開2016-197102号公報
国際公開第2021/235475号
【発明の概要】
【発明が解決しようとする課題】
【0007】
本発明は、上記のような従来技術の問題点を解決するためになされたものであり、金属片の腐食量を高精度にモニタリング可能であると共に、腐食生成物が堆積した状態での腐食挙動をモニタリング可能な腐食モニタリング装置を提供することを課題とする。
【課題を解決するための手段】
【0008】
前記課題を解決するため、本発明者らは、鋭意検討した結果、金属片の厚み(金属片に腐食が生じる前の初期の厚み)を0.3mm以下にすることで、金属片の腐食量を高精度に測定できることを見出した。また、金属片上に予め腐食生成物を堆積させておく(金属片に腐食が生じる前に予め腐食生成物を堆積させておく)ことで、金属片の厚みが小さくても腐食生成物が堆積した状態での腐食挙動を把握できることを見出した。
【0009】
本発明は、本発明者らの上記の知見に基づき完成したものである。
すなわち、前記課題を解決するため、本発明は、金属片と、前記金属片に通電することで、前記金属片の電気抵抗値を計測する電気抵抗計測手段と、前記電気抵抗計測手段によって計測された前記金属片の電気抵抗値に基づき、前記金属片の腐食量を算出する演算手段と、を備え、前記金属片の厚みが、0.3mm以下であり、前記金属片上に予め腐食生成物が堆積している、腐食モニタリング装置を提供する。
【0010】
本発明によれば、金属片の厚みが0.3mm以下であるため、本発明者らが見出したように、金属片の腐食量を高精度にモニタリング可能である。また、金属片上に予め腐食生成物が堆積しているため、金属片の厚み0.3mm以下と小さくても腐食生成物が堆積した状態での腐食挙動をモニタリング可能である。
なお、上記の「金属片の厚み」は金属片に腐食が生じる前の初期(金属片を腐食環境下に設置した直後)の厚みを意味する。金属片の厚みは、0.3mm以下であればよいが、特に0.1mm以下であることが好ましい。
また、「金属片上に予め腐食生成物が堆積している」とは、金属片に腐食が生じる前の初期(金属片を腐食環境下に設置した直後)において、すでに腐食生成物が堆積していることを意味する。腐食生成物は、金属片の一方の面(上面又は下面)のみに堆積していてもよいし、両方の面に堆積していてもよい。また、腐食生成物は、必ずしも金属片の一方の面(又は両方の面)の全体に堆積している必要はなく、その一部のみに堆積していてもよい。腐食生成物の堆積方法としては、これらに限るものではないが、腐食生成物を混合した溶媒を金属片上に塗布して溶媒を乾燥させる方法、導電性テープを用いて金属片上に貼り合わせる方法や、金属片上に圧着させる方法などを例示できる。
(【0011】以降は省略されています)
この特許をJ-PlatPat(特許庁公式サイト)で参照する
関連特許
他の特許を見る