TOP
|
特許
|
意匠
|
商標
特許ウォッチ
Twitter
他の特許を見る
公開番号
2025147924
公報種別
公開特許公報(A)
公開日
2025-10-07
出願番号
2024048439
出願日
2024-03-25
発明の名称
鉄道車両用の台車
出願人
日本製鉄株式会社
代理人
アセンド弁理士法人
主分類
B61F
5/38 20060101AFI20250930BHJP(鉄道)
要約
【課題】簡易な構成で車輪のフランジ摩耗を抑制することのできる鉄道車両用の台車を提供する。
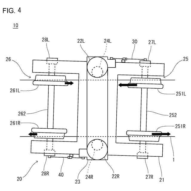
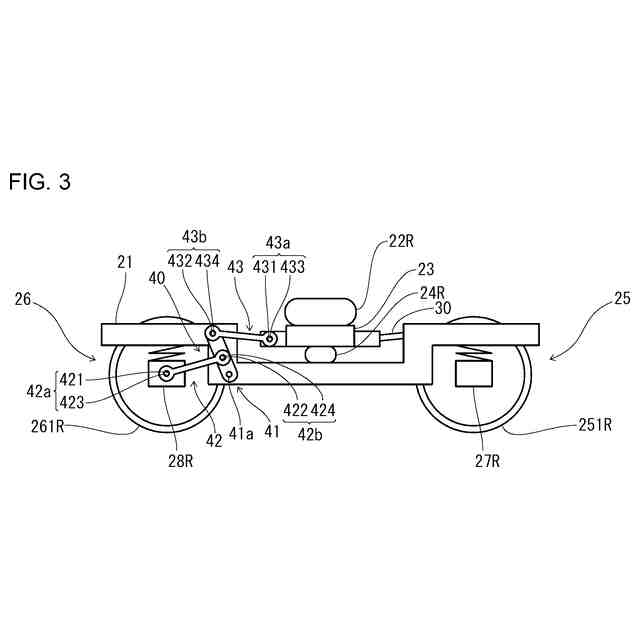
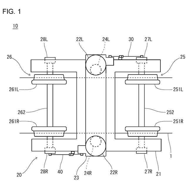
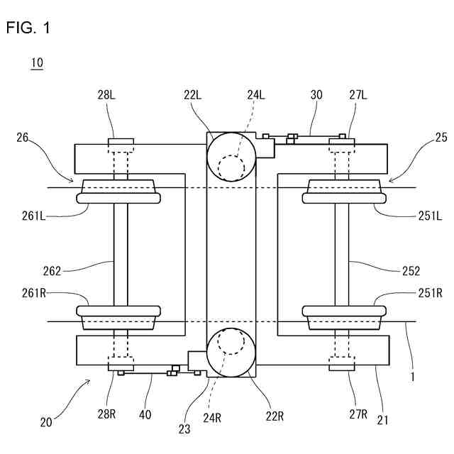
【解決手段】台車(20)は、台車枠(21)と、ボルスタ(23)と、前輪軸(25)と、後輪軸(26)と、前軸箱(27L,27R)と、後軸箱(28L,28R)と、前リンク機構(30)と、後リンク機構(40)と、を備える。前リンク機構(30)は、一方の前軸箱(27L)とボルスタ(23)とを接続する。後リンク機構(40)は、前リンク機構(30)とは反対側に配置された後軸箱(28R)とボルスタ(23)とを接続する。前リンク機構(30)は、前梃子と、前軸箱(27L)と前梃子とを接続する第1前リンクと、ボルスタ(23)と前梃子とを接続する第2前リンクと、を含む。後リンク機構(40)は、後梃子と、後軸箱(28R)と後梃子とを接続する第1後リンクと、ボルスタ(23)と後梃子とを接続する第2後リンクと、を含む。
【選択図】図1
特許請求の範囲
【請求項1】
鉄道車両用の台車であって、
台車枠と、
前記台車の左右方向に延びるボルスタと、
前記左右方向に間隔を空けて前記台車枠に配置され、前記ボルスタを支持する2つの側受と、
前記ボルスタに対して前記台車枠の前側に設けられる前輪軸と、
前記ボルスタに対して前記台車枠の後側に設けられる後輪軸と、
前記前輪軸の左端及び右端にそれぞれ配置される2つの前軸箱と、
前記後輪軸の左端及び右端にそれぞれ配置される2つの後軸箱と、
前記2つの前軸箱のうちの一方の前記前軸箱と前記ボルスタとを接続する前リンク機構と、
前記2つの後軸箱のうち、前記左右方向において前記前リンク機構とは反対側に配置された前記後軸箱と前記ボルスタとを接続する後リンク機構と、を備え、
前記前リンク機構は、前記台車枠に回転可能に支持された前梃子と、前記前軸箱と前記前梃子とを接続する第1前リンクと、前記ボルスタと前記前梃子とを接続する第2前リンクと、を含み、
前記第1前リンクと前記前梃子との接続部は、前記鉄道車両の上下方向において、前記台車枠と前記前梃子との支持部に対し、前記第2前リンクと前記前梃子との接続部と反対側に位置し、
前記後リンク機構は、前記台車枠に回転可能に支持された後梃子と、前記後軸箱と前記後梃子とを接続する第1後リンクと、前記ボルスタと前記後梃子とを接続する第2後リンクと、を含み、
前記第1後リンクと前記後梃子との接続部は、前記上下方向において、前記台車枠と前記後梃子との支持部に対し、前記第2後リンクと前記後梃子との接続部と同じ側に位置する、台車。
続きを表示(約 400 文字)
【請求項2】
請求項1に記載の台車であって、
前記第2前リンクと前記ボルスタとの接続部から前記第2後リンクと前記ボルスタとの接続部までの前記左右方向における距離は、前記第2前リンクと前記前梃子との前記接続部から前記第2後リンクと前記後梃子との前記接続部までの前記左右方向における距離よりも小さい、台車。
【請求項3】
請求項1に記載の台車であって、
前記第1前リンクと前記前軸箱との接続部から前記第1後リンクと前記後軸箱との接続部までの前記左右方向における距離は、前記第2前リンクと前記前梃子との前記接続部から前記第2後リンクと前記後梃子との前記接続部までの前記左右方向における距離よりも大きい、台車。
【請求項4】
請求項1から3のいずれか1項に記載の台車であって、
前記前リンク機構及び前記後リンク機構のてこ比はそれぞれ6未満である、台車。
発明の詳細な説明
【技術分野】
【0001】
本開示は、鉄道車両用の台車に関する。
続きを表示(約 2,500 文字)
【背景技術】
【0002】
鉄道車両は、台車と、台車上に支持された車体とを備え、レール上を走行する。鉄道車両では、例えばダイレクトマウント式の台車が用いられる。台車は、台車枠と、左右方向に延びるボルスタと、ボルスタに対して台車枠の前後にそれぞれ設けられる輪軸と、を備える。車体は、左右に一対の空気ばねを介してボルスタに支持される。ボルスタは、心皿及び左右に一対の側受を介して台車枠に支持される。台車枠は、ボルスタに対して旋回可能である。
【0003】
鉄道車両が曲線路を通過する際、車輪がレールを左右方向に押す力(横圧)が発生する。曲線路の出口で横圧を低減する技術として、例えば特許文献1が知られている。特許文献1には、前後の輪軸が操舵される台車(操舵台車)が開示されている。特許文献1に記載の操舵台車は、台車枠の左右の側部にそれぞれ設けられ、前後の輪軸を意図的に回動させる操舵装置を備える。左右の操舵装置は、それぞれ台車枠に支持された梃子と、3つのリンクを含む。1つ目のリンクは、ボルスタと梃子とを接続する。2つ目のリンクは、前側の輪軸の軸箱と梃子とを接続する。3つ目のリンクは、後側の輪軸の軸箱と梃子とを接続する。
【0004】
操舵台車を備えた鉄道車両が曲線路を通過する際、各操舵装置において、車体と一体化されたボルスタの旋回により、1つ目のリンクを介して、梃子が回転する。梃子の回転により、2つ目のリンクと3つ目のリンクとが相互に逆向きで前後方向に移動する。2つ目のリンクの前後方向移動によって前側の輪軸が操舵され、3つ目のリンクの前後方向移動によって後側の輪軸が操舵される。特許文献1に記載の操舵台車では、前側の輪軸の操舵角が後側の輪軸の操舵角よりも大きくなるように、各輪軸が操舵される。鉄道車両が曲線路を通過した直後において、輪軸の操舵角が軌道に対して過剰に大きくなる状態(過操舵状態)が抑制され、横圧が低減される、と特許文献1には記載されている。
【先行技術文献】
【特許文献】
【0005】
特許第5765432号
【発明の概要】
【発明が解決しようとする課題】
【0006】
曲線路の通過中、台車枠は、ボルスタに対して旋回する。ボルスタ(車体)と台車枠との間の角度は、ボギー角とも称される。鉄道車両が曲線路から直線路に進入する際にボギー角が残っている場合、すなわち台車枠がボルスタに対して傾いたままの場合、輪軸はレールに対して傾いている。このとき、一方の車輪はフランジ近傍でレールと接触し、他方の車輪はフランジから離れた位置でレールと接触する。一般に、車輪の直径はフランジに近づくにつれて大きくなるため、左右の車輪間においてレールと接触する部分の直径に差が生じる。これにより、前後の輪軸の各々は、縦クリープ力を受ける。前側の輪軸には、縦クリープ力がボギー角を小さくする向きにはたらく。一方、後側の輪軸には、縦クリープ力がボギー角を大きくする向きにはたらく。
【0007】
輪軸が受ける縦クリープ力が側受と台車枠との間の摩擦力よりも大きければ、ボギー角が小さくなるように台車枠はボルスタに対して旋回し、台車枠の姿勢は直線に沿う。しかしながら、台車によっては車体の全重量に対する側受が支持する車体の重量、すなわち側受の負担率が大きい場合がある。この場合には、側受と台車枠との間の摩擦力が大きくなり、台車枠の姿勢が戻らず、ボギー角が残ったままとなることがある。すると、先行する台車において、前側の輪軸における内軌側の車輪のフランジがレールと接触し、フランジが摩耗しやすくなる恐れがある。
【0008】
鉄道車両が曲線路から直線路に進入する際に残っているボギー角を低減するため、特許文献1に記載されたような操舵装置を台車に設けることも考えられる。しかしながら、この場合、操舵装置を設けない場合と比較して鉄道車両全体の部品点数が増加する。鉄道車両の軽量化や部品のコスト低減の観点から、部品点数は極力少ないことが好ましい。
【0009】
本開示の目的は、簡易な構成で車輪のフランジ摩耗を抑制することのできる鉄道車両用の台車を提供することである。
【課題を解決するための手段】
【0010】
本開示に係る鉄道車両用の台車は、台車枠と、ボルスタと、2つの側受と、前輪軸と、後輪軸と、2つの前軸箱と、2つの後軸箱と、前リンク機構と、後リンク機構と、を備える。ボルスタは、台車の左右方向に延びる。2つの側受は、左右方向に間隔を空けて台車枠に配置され、ボルスタを支持する。前輪軸は、ボルスタに対して台車枠の前側に設けられる。後輪軸は、ボルスタに対して台車枠の後側に設けられる。2つの前軸箱は、前輪軸の左端及び右端にそれぞれ配置される。2つの後軸箱は、後輪軸の左端及び右端にそれぞれ配置される。前リンク機構は、2つの前軸箱のうちの一方の前軸箱とボルスタとを接続する。後リンク機構は、2つの後軸箱のうち、左右方向において前リンク機構とは反対側に配置された後軸箱とボルスタとを接続する。前リンク機構は、台車枠に回転可能に支持された前梃子と、前軸箱と前梃子とを接続する第1前リンクと、ボルスタと前梃子とを接続する第2前リンクと、を含む。第1前リンクと前梃子との接続部は、鉄道車両の上下方向において、台車枠と前梃子との支持部に対し、第2前リンクと前梃子との接続部と反対側に位置する。後リンク機構は、台車枠に回転可能に支持された後梃子と、後軸箱と後梃子とを接続する第1後リンクと、ボルスタと後梃子とを接続する第2後リンクと、を含む。第1後リンクと後梃子との接続部は、上下方向において、台車枠と後梃子との支持部に対し、第2後リンクと後梃子との接続部と同じ側に位置する。
【発明の効果】
(【0011】以降は省略されています)
この特許をJ-PlatPat(特許庁公式サイト)で参照する
関連特許
日本信号株式会社
ホーム柵
1か月前
日本信号株式会社
ホーム柵
1か月前
個人
車両及び走行システム
5か月前
近畿車輌株式会社
耐火床構造
11日前
日本信号株式会社
ホーム柵装置
6か月前
日本車輌製造株式会社
鉄道車両
3日前
日本車輌製造株式会社
台車組立装置
4か月前
ナブテスコ株式会社
ホームドア装置
2か月前
日本信号株式会社
列車接近警報装置
2か月前
日本信号株式会社
ホームドア制御装置
3か月前
日本ケーブル株式会社
索道の支索引留め装置
2か月前
株式会社ダイフク
搬送車
4か月前
日本信号株式会社
物体検知装置
6か月前
日本信号株式会社
ホーム安全システム
6か月前
株式会社東芝
台車搬送装置
7日前
ヤマハ発動機株式会社
無人搬送車
6か月前
株式会社日立製作所
鉄道車両
15日前
ヤマハ発動機株式会社
無人搬送車
6か月前
株式会社ダイフク
搬送設備
5か月前
ヤマハ発動機株式会社
無人搬送車
6か月前
ヤマハ発動機株式会社
無人搬送車
4か月前
オークラ輸送機株式会社
無人搬送車
11日前
日本信号株式会社
自動列車運転装置
2か月前
株式会社京三製作所
車上装置
7か月前
日本車輌製造株式会社
車両用ヒップレスト
1か月前
日本ケーブル株式会社
チェアリフト搬器の椅子構造
4か月前
日本信号株式会社
列車無線通信システム
4か月前
株式会社京三製作所
情報伝送装置
6か月前
株式会社京三製作所
可動式ホーム柵
11日前
日本信号株式会社
ホームドア制御システム
4か月前
日本信号株式会社
ホーム柵及びホーム柵の設置方法
15日前
株式会社京三製作所
運行管理システム
2か月前
株式会社京三製作所
運行管理システム
2か月前
日本ケーブル株式会社
自動循環式索道の搬器間隔規制装置
6か月前
日本製鉄株式会社
鉄道車両用の台車
3日前
日本製鉄株式会社
車輪径の管理方法
7か月前
続きを見る
他の特許を見る