TOP
|
特許
|
意匠
|
商標
特許ウォッチ
Twitter
他の特許を見る
10個以上の画像は省略されています。
公開番号
2025163818
公報種別
公開特許公報(A)
公開日
2025-10-30
出願番号
2024067358
出願日
2024-04-18
発明の名称
分析装置および分析方法
出願人
日本製鉄株式会社
代理人
弁理士法人ブライタス
主分類
G01N
21/47 20060101AFI20251023BHJP(測定;試験)
要約
【課題】コンクリート内の鋼材の腐食状態を適切に分析することを可能にする分析装置および分析方法を提供する。
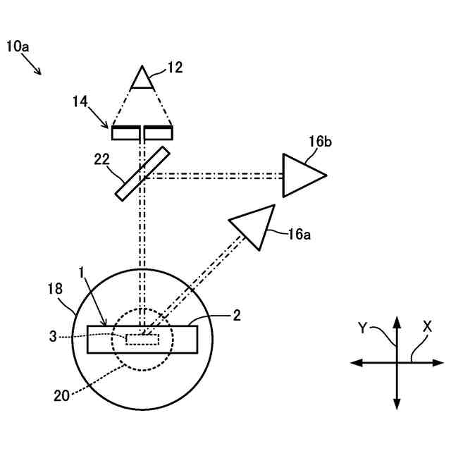
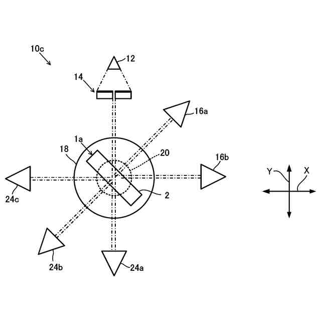
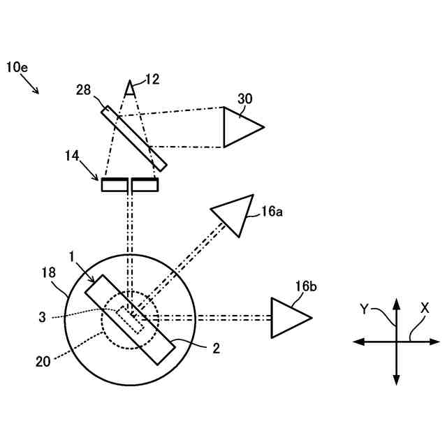
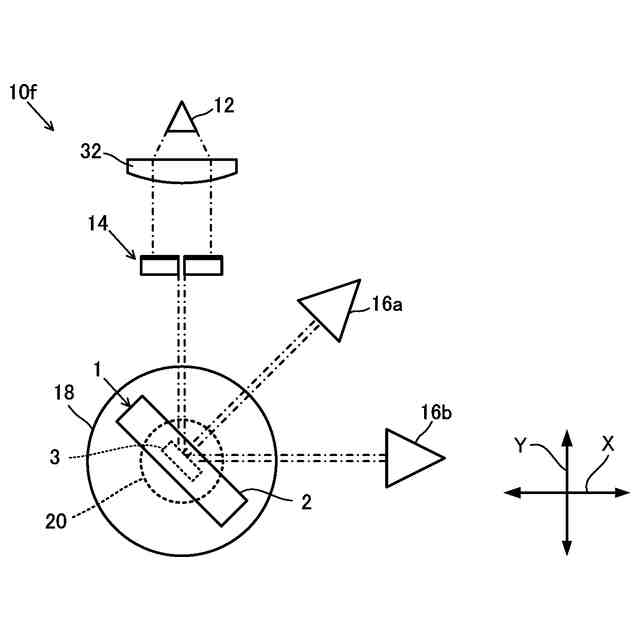
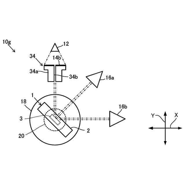
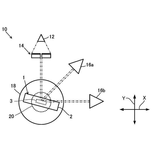
【解決手段】分析装置10は、対象物1に向かって0.1~100GHzの周波数を有する電磁波を発信可能に設けられた発信器12と、発信器12から発信された電磁波の進行経路を制限する絞り14と、電磁波の強度を検出可能な複数の第1検出器16a,16bと、を備える。複数の第1検出器16a,16bは、対象物1において互いに異なる反射角で反射した電磁波を受波できるように配置されている。
【選択図】 図1
特許請求の範囲
【請求項1】
対象物に向かって0.1~100GHzの周波数を有する電磁波を発信可能に設けられた発信器と、
前記発信器から発信された前記電磁波の進行経路を制限する絞りと、
電磁波の強度を検出可能な複数の第1検出器と、を備え、
前記複数の第1検出器は、前記発信器から発信されて前記絞りを通過した後、前記対象物において互いに異なる反射角で反射した前記電磁波を受波できるように配置されている、分析装置。
続きを表示(約 630 文字)
【請求項2】
前記対象物を支持する支持台と、
前記支持台に支持された前記対象物、前記発信器および前記複数の第1検出器の位置関係を調整する調整部と、をさらに備える、請求項1に記載の分析装置。
【請求項3】
前記対象物を透過した前記電磁波の強度を検出可能に設けられた第2検出器をさらに備える、請求項1に記載の分析装置。
【請求項4】
前記絞りに到達する前の前記電磁波の強度を検出する第3検出器をさらに備える、請求項1に記載の分析装置。
【請求項5】
前記絞りに到達する前の前記電磁波の一部を反射するミラーと、
前記ミラーによって反射された前記電磁波の強度を検出する第3検出部と、をさらに備える、請求項1に記載の分析装置。
【請求項6】
前記電磁波の発散角を小さくするレンズをさらに備える、請求項1に記載の分析装置。
【請求項7】
対象物に向かって0.1~100GHzの周波数を有する電磁波を発信し、
発信された前記電磁波の進行経路を制限して前記対象物に照射し、
前記対象物に向かって前記電磁波を発信した後、前記対象物からの前記電磁波の強度を複数の第1検出器で検出し、
前記電磁波の強度を検出するに際して、前記複数の第1検出器は、前記対象物において互いに異なる反射角で反射した前記電磁波を受波できるように配置されている、分析方法。
発明の詳細な説明
【技術分野】
【0001】
本発明は、電磁波を用いて対象物の分析を行うための情報を取得する分析装置および分析方法に関する。
続きを表示(約 1,300 文字)
【背景技術】
【0002】
従来、コンクリートの劣化状態を分析するための技術が提案されている。例えば、特許文献1には、テラヘルツ波を利用してコンクリートの劣化度を評価する方法が開示されている。
【0003】
特許文献1に開示された方法では、コンクリートに一対のボーリング孔を形成し、一方のボーリング孔から他方のボーリング孔に向けてテラヘルツ波を照射した際のテラヘルツ波の透過波から、吸光度が算出される。そして、算出した吸光度と、評価対象となるコンクリートと同一組成を有し劣化度が既知のコンクリートの吸光度とを対比することによって、コンクリートの劣化度が評価される。
【先行技術文献】
【特許文献】
【0004】
特開2011-033390号公報
【発明の概要】
【発明が解決しようとする課題】
【0005】
橋梁および建築物等のコンクリート構造物では、コンクリート内部に鋼材が設けられている。このようなコンクリート構造物において、コンクリート内の鋼材の腐食状態を評価するために、特許文献1に開示された方法を利用することが考えられる。
【0006】
しかしながら、高周波数(例えば、0.1THzを超える周波数)の電磁波が透過できるコンクリートの厚みは数mm程度である。このため、コンクリートの表面から鋼材の表面までの距離が大きい場合(例えば、5mm以上の場合)には、上記のような高周波数の電磁波を利用した方法では、コンクリート構造物の劣化状態を適切に評価できない。
【0007】
そこで、コンクリートにおける透過距離がより長い、0.1THz以下の周波数の電磁波を利用することが考えられる。具体的には、0.1THz以下の周波数の電磁波をコンクリート構造物に照射した際の吸光度を検出して、コンクリート内の鋼材の腐食状態を評価することが考えられる。
【0008】
しかしながら、0.1THz以下の周波数の電磁波をコンクリート表面から照射すると、コンクリート内部の水分、空隙、骨材等によって電磁波の散乱、反射および吸収が生じる。これらが検出結果においてノイズとなり、鋼材の腐食状態を適切に評価することができない。
【0009】
そこで、本発明は、コンクリート内の鋼材の腐食状態を適切に分析することを可能にする分析装置および分析方法を提供することを目的とする。
【課題を解決するための手段】
【0010】
(1)本発明の一実施形態に係る分析装置は、
対象物に向かって0.1~100GHzの周波数を有する電磁波を発信可能に設けられた発信器と、
前記発信器から発信された前記電磁波の進行経路を制限する絞りと、
電磁波の強度を検出可能な複数の第1検出器と、を備え、
前記複数の第1検出器は、前記発信器から発信されて前記絞りを通過した後、前記対象物において互いに異なる反射角で反射した前記電磁波を受波できるように配置されている。
(【0011】以降は省略されています)
この特許をJ-PlatPat(特許庁公式サイト)で参照する
関連特許
日本製鉄株式会社
線材
1か月前
日本製鉄株式会社
棒鋼
3日前
日本製鉄株式会社
棒鋼
3日前
日本製鉄株式会社
鋼部品
3日前
日本製鉄株式会社
溶接継手
9日前
日本製鉄株式会社
溶接継手
1か月前
日本製鉄株式会社
機械構造用部品
4日前
日本製鉄株式会社
溶鉄の製造方法
25日前
日本製鉄株式会社
溶鉄の製造方法
25日前
日本製鉄株式会社
鋼の連続鋳造方法
3日前
日本製鉄株式会社
鉄道車両用の車軸
1か月前
日本製鉄株式会社
鉄鉱石の選別方法
1か月前
日本製鉄株式会社
焼結鉱の製造方法
16日前
日本製鉄株式会社
焼結鉱の製造方法
16日前
日本製鉄株式会社
鉄道車両用の台車枠
1か月前
日本製鉄株式会社
LF装置の操業方法
16日前
日本製鉄株式会社
仮設橋による施工方法
3日前
日本製鉄株式会社
腐食モニタリング装置
1か月前
日本製鉄株式会社
車両用センターピラー
17日前
日本製鉄株式会社
車両用フロントピラー
17日前
日本製鉄株式会社
分析装置および分析方法
24日前
日本製鉄株式会社
分離システム及び分離方法
1か月前
日本製鉄株式会社
コークスの粉化量予測方法
25日前
日本製鉄株式会社
分離システム及び分離方法
1か月前
日本製鉄株式会社
成形体の曲げ性の評価方法
16日前
日本製鉄株式会社
内張補助装置及び施工方法
3日前
日本製鉄株式会社
電気炉による溶鋼の製造方法
1か月前
日本製鉄株式会社
鋼の連続鋳造鋳片の冷却方法
1か月前
日本製鉄株式会社
鋼の連続鋳造鋳片の製造方法
1か月前
日本製鉄株式会社
欠陥検査装置及び欠陥検査方法
16日前
日本製鉄株式会社
オーステナイト系ステンレス鋼材
19日前
日本製鉄株式会社
不活性ガスの遡上を抑制する方法
11日前
日本製鉄株式会社
超音波探傷装置及び超音波探傷方法
16日前
日本製鉄株式会社
超音波探傷装置及び超音波探傷方法
16日前
日本製鉄株式会社
スラグ排滓装置及びスラグ排滓方法
16日前
日本製鉄株式会社
試験体分析装置及び試験体分析方法
1か月前
続きを見る
他の特許を見る