TOP
|
特許
|
意匠
|
商標
特許ウォッチ
Twitter
他の特許を見る
10個以上の画像は省略されています。
公開番号
2025159521
公報種別
公開特許公報(A)
公開日
2025-10-21
出願番号
2024062147
出願日
2024-04-08
発明の名称
試験体分析装置及び試験体分析方法
出願人
日本製鉄株式会社
代理人
弁理士法人太陽国際特許事務所
主分類
G01N
3/32 20060101AFI20251014BHJP(測定;試験)
要約
【課題】高温疲労試験において試験体の表面に生じる初期の亀裂から試験体が破断する直前の亀裂までを分析した結果に基づいて、試験体を分析できるようにする。
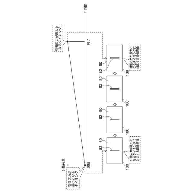
【解決手段】試験体分析装置は、撮像画像のうち、予め決められたサイクルの中で引張応力が最大となるタイミングで生成された撮像画像において、加熱部により加熱された試験体の表面と亀裂の内部との温度差に応じて生じる輝度の差に基づいて、撮像画像内における亀裂を特定し、特定した亀裂が写った撮像画像を亀裂観察画像として抽出し、抽出した亀裂観察画像のうち、試験体が破断する直前の亀裂と見做せる亀裂が写った破断直前の亀裂観察画像に着目し、破断直前の亀裂観察画像に写った試験体の表面の位置に対応する位置を撮像した過去の亀裂観察画像を、破断直前の亀裂観察画像から亀裂が発生する起点となる初期の亀裂が写った初期の亀裂観察画像まで遡ることで、試験体の表面に生じる亀裂を分析する。
【選択図】図14
特許請求の範囲
【請求項1】
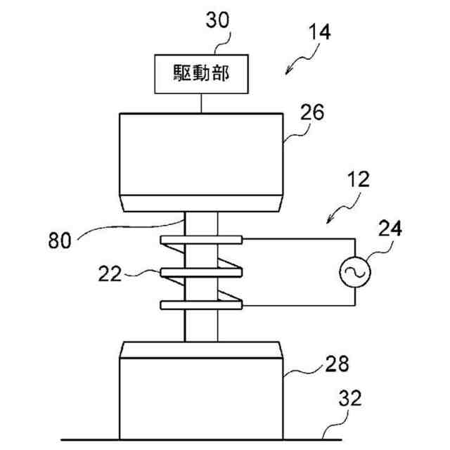
700℃以上の範囲で設定された温度範囲に試験体の表面の温度を維持して行う高温疲労試験において、前記試験体の表面に生じる亀裂に基づいて前記試験体を分析する試験体分析装置であって、
前記高温疲労試験における負荷として、前記試験体の表面を前記温度範囲に加熱する加熱部と、
前記高温疲労試験における負荷として、前記試験体の軸方向に、予め決められたサイクルで引張応力と圧縮応力とを繰り返し付与する応力付与部と、
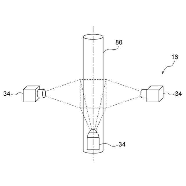
前記試験体の表面を撮像し、撮像画像を生成する撮像部と、
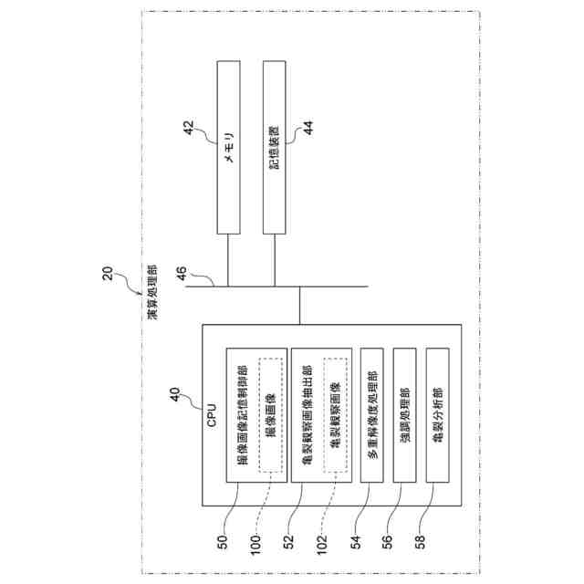
前記撮像部により生成された撮像画像を用いて、前記試験体の表面に生じる亀裂を分析し、当該分析結果に基づいて前記試験体を分析する演算処理部と、
を有し、
前記演算処理部は、
前記撮像部で生成された撮像画像のうち、前記予め決められたサイクルの中で引張応力が最大となるタイミングで生成された撮像画像において、前記加熱部により加熱された前記試験体の表面と前記亀裂の内部との温度差に応じて生じる輝度の差に基づいて、前記撮像画像内における亀裂を特定し、特定した亀裂が写った撮像画像を亀裂観察画像として抽出する亀裂観察画像抽出部と、
前記亀裂観察画像抽出部で抽出された亀裂観察画像のうち、前記試験体が破断する直前の亀裂と見做せる亀裂が写った破断直前の亀裂観察画像に着目し、前記破断直前の亀裂観察画像に写った前記試験体の表面の位置に対応する位置を撮像した過去の亀裂観察画像を、前記破断直前の亀裂観察画像から亀裂が発生する起点となる初期の亀裂が写った初期の亀裂観察画像まで遡ることで、前記試験体の表面に生じる亀裂を分析する亀裂分析部と、
を有する、試験体分析装置。
続きを表示(約 1,800 文字)
【請求項2】
前記亀裂分析部は、
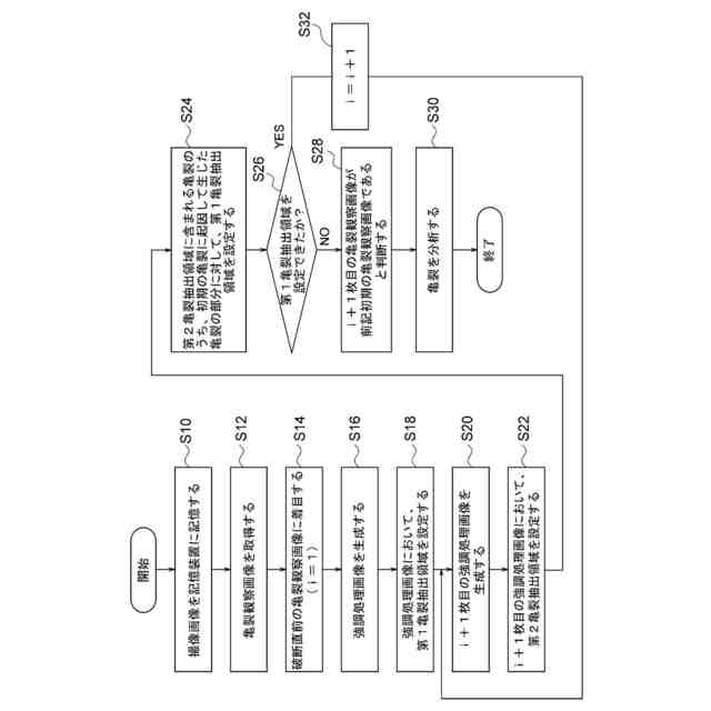
前記破断直前の亀裂観察画像を1枚目として、前記破断直前の亀裂観察画像から前記初期の亀裂観察画像まで、前記過去の亀裂観察画像を時系列で遡る際に、
i枚目(変数iは1以上の整数)の亀裂観察画像において、前記i枚目の亀裂観察画像に写った亀裂のうち、前記初期の亀裂に起因して生じた亀裂の部分に対して、前記亀裂の部分の高さと略同じ高さを有し、前記亀裂の部分の幅と略同じ幅を有する矩形の領域を、前記i枚目の亀裂観察画像における第1亀裂抽出領域として設定し、
i+1枚目の亀裂観察画像において、前記i枚目の亀裂観察画像における第1亀裂抽出領域と同じ位置を表す領域を第2亀裂抽出領域として設定し、前記第2亀裂抽出領域に含まれる亀裂のうち、前記初期の亀裂に起因して生じた亀裂の部分に対して、前記亀裂の部分の高さと略同じ高さを有し、前記亀裂の部分の幅と略同じ幅を有する矩形の領域を、前記i+1枚目の亀裂観察画像における第1亀裂抽出領域として設定し、
i+1枚目の亀裂観察画像において、前記第2亀裂抽出領域を設定でき、前記第1亀裂抽出領域を設定できなかった場合に、
i+1枚目の亀裂観察画像が前記初期の亀裂観察画像であると判断し、前記初期の亀裂観察画像の前記第2亀裂抽出領域内に亀裂が発生する起点が存在すると判断する、請求項1に記載の試験体分析装置。
【請求項3】
前記演算処理部は、
前記撮像部により生成された撮像画像を、異なる複数の解像度の撮像画像に変換する多解像度処理部と、
前記多解像度処理部で生成した複数の解像度の撮像画像に対して、第1の方向に対応する第1ガボールフィルタと、前記第1の方向と異なる方向である第2の方向に対応する第2ガボールフィルタとを適用して、それぞれ新たな撮像画像を生成し、前記新たな撮像画像を足し合わせて平均化して強調処理画像を生成する強調処理部と、
を有し、
前記破断直前の亀裂観察画像を1枚目として、前記破断直前の亀裂観察画像から前記初期の亀裂観察画像まで、前記過去の亀裂観察画像を時系列で遡る際に、
前記i+1枚目の亀裂観察画像に対して、前記多解像度処理部及び前記強調処理部を用いて、前記i+1枚目の強調処理画像を生成し、前記i+1枚目の強調処理画像における第1亀裂抽出領域を設定する、請求項2に記載の試験体分析装置。
【請求項4】
700℃以上の範囲で設定された温度範囲に試験体の表面の温度を維持して行う高温疲労試験において、前記試験体の表面に生じる亀裂に基づいて前記試験体を分析する試験体分析方法であって、
前記高温疲労試験における負荷として、前記試験体の表面を前記温度範囲に加熱する加熱部と、
前記高温疲労試験における負荷として、前記試験体の軸方向に、予め決められたサイクルで引張応力と圧縮応力とを繰り返し付与する応力付与部と、
前記試験体の表面を撮像し、撮像画像を生成する撮像部と、
前記撮像部により生成された撮像画像を用いて、前記試験体の表面に生じる亀裂を分析し、当該分析結果に基づいて前記試験体を分析する演算処理部と、
を有する試験体分析装置を用い、
前記撮像部で生成された撮像画像のうち、前記予め決められたサイクルの中で引張応力が最大となるタイミングで生成された撮像画像において、前記加熱部により加熱された前記試験体の表面と前記亀裂の内部との温度差に応じて生じる輝度の差に基づいて、前記撮像画像内における亀裂を特定し、特定した亀裂が写った撮像画像を亀裂観察画像として抽出する亀裂観察画像抽出ステップと、
前記亀裂観察画像抽出ステップで抽出された亀裂観察画像のうち、前記試験体が破断する直前の亀裂と見做せる亀裂が写った破断直前の亀裂観察画像に着目し、前記破断直前の亀裂観察画像に写った前記試験体の表面の位置に対応する位置を撮像した過去の亀裂観察画像を、前記破断直前の亀裂観察画像から亀裂が発生する起点となる初期の亀裂が写った初期の亀裂観察画像まで遡ることで、前記試験体の表面に生じる亀裂を分析する亀裂分析ステップと、
を有する、試験体分析方法。
発明の詳細な説明
【技術分野】
【0001】
本発明は、700℃以上の範囲で設定された温度範囲に試験体の表面の温度を維持して行う高温疲労試験において、試験体の表面に生じる亀裂に基づいて試験体を分析する試験体分析装置及び試験体分析方法に関する。
続きを表示(約 3,400 文字)
【背景技術】
【0002】
高温疲労試験を実施する過程で試験体の表面に生じる亀裂の観察は、所定のサイクル毎に、試験機を停止し、常温までの冷却を経て、作業員による目視観察及びレプリカ法による顕微鏡観察によって実施される。しかし、発生直後の亀裂は、数十μmほどの大きさであり、顕微鏡による目視観察においても発見は困難である。高温疲労試験の初期では、亀裂の位置及び有無を確認することが困難であり、所定のサイクル毎に試験体の表面のレプリカを採取する場合、レプリカ法において顕微鏡で亀裂を視認できるのは、数百μmから数mmほどの大きさまで進展した亀裂であり、この大きさの亀裂でようやく位置を同定することが可能となる。視認可能となった亀裂の位置から既に採取済みの初期のレプリカを再度見直することで、初期の亀裂及び初期の亀裂のその後の進展速度を探索することになる。しかし、初期の亀裂のような微小な亀裂は、レプリカに転写させることが難しく、初期の亀裂の同定ができない場合がある。また、空気が気泡としてレプリカに現れる場合もあるため、試験体の表面の観察自体を困難にする場合がある。
【0003】
このようにレプリカ法は、初期の亀裂を確実にレプリカに転写させる高度な技術が必要であると共に、レプリカの採取には多大な時間を要する。また、レプリカへの気泡の入り込み等を確認しつつの作業となるため、場合によっては、1時間以上もの時間を要する。加えて、レプリカを採取するのが高温疲労試験の過程であるため、所定のサイクル毎に行うレプリカの採取は、試験体を冷却後の作業となり、レプリカの採取後、再度の加熱を経て、次回の所定のサイクルまで疲労試験を行うことになる。したがって、加熱、冷却、レプリカ採取、及び再加熱を繰り返す作業となり、1つの試験体の疲労試験に膨大な時間を要することになる。加えて、高温疲労試験の後期において大きな亀裂は確認できたとしても、初期の亀裂の転写が行えていなかった場合は、実施した高温疲労試験自体が無駄になることも多々ある。このように非常に難しいレプリカ法ではあるが、試験体の表面に生じる亀裂を所定のサイクル毎に同定し、亀裂の進展量を評価することは、試験体に対応する製品の正確な寿命及び強度を把握する上で、非常に重要となるため、亀裂の寸法を過小評価したり、亀裂を見逃したりすることは回避しなければならない。
【0004】
ここで、試験体の亀裂を観察し得る手法として、次の手法が提案されている。すなわち、特許文献1には、試験体の表面に予めドットパターンやグリッドパターンを付与し、疲労試験中のパターンの変化に基づいて、モアレ法と画像相関法により試験体の表面の歪みを計測する手法が開示されている。また、特許文献2には、試験体の表面に予め1次元又は2次元のパターン(格子)を付与し、疲労試験中のパターンの変化に基づいて、フーリエ変換と位相変化により試験体の表面の歪みを測定する手法が開示されている。
【0005】
また、亀裂の長さを測定する手法として、次の手法が提案されている。すなわち、特許文献3には、撮像装置で撮像した画像に基づいて亀裂の先端部を検出し、撮像装置の視野が試験片に対して相対的に亀裂の進展方向へ移動するように、移動装置によって撮像装置及び試験片支持装置の少なくとも一方を他方に対して相対的に移動させ、撮像装置及び試験片支持装置の相対的な移動量に基づいて亀裂の進展寸法を演算する手法が提案されている。
【先行技術文献】
【特許文献】
【0006】
特開2011-27526号公報
特開2019-66369号公報
特開平5-223717号公報
【発明の概要】
【発明が解決しようとする課題】
【0007】
しかしながら、特許文献1及び特許文献2に記載の手法では、高温疲労試験中に試験体の表面からパターンが剥がれ落ちるという課題がある。また、特許文献3に記載の手法では、亀裂の先端部を検出することが前提であるため、初期の亀裂の場合には、亀裂の先端部を検出することができないという課題がある。したがって、高温疲労試験において試験体の表面に生じる初期の亀裂から試験体が破断する直前の亀裂までを分析した結果に基づいて、試験体を分析することができるようにするためには、改善の余地がある。
【0008】
本発明は、高温疲労試験において試験体の表面に生じる初期の亀裂から試験体が破断する直前の亀裂までを分析した結果に基づいて、試験体を分析することができる試験体分析装置及び試験体分析方法を提供することを目的とする。
【課題を解決するための手段】
【0009】
本発明の第1態様は、700℃以上の範囲で設定された温度範囲に試験体の表面の温度を維持して行う高温疲労試験において、前記試験体の表面に生じる亀裂に基づいて前記試験体を分析する試験体分析装置であって、前記高温疲労試験における負荷として、前記試験体の表面を前記温度範囲に加熱する加熱部と、前記高温疲労試験における負荷として、前記試験体の軸方向に、予め決められたサイクルで引張応力と圧縮応力とを繰り返し付与する応力付与部と、前記試験体の表面を撮像し、撮像画像を生成する撮像部と、前記撮像部により生成された撮像画像を用いて、前記試験体の表面に生じる亀裂を分析し、当該分析結果に基づいて前記試験体を分析する演算処理部と、を有し、前記演算処理部は、前記撮像部で生成された撮像画像のうち、前記予め決められたサイクルの中で引張応力が最大となるタイミングで生成された撮像画像において、前記加熱部により加熱された前記試験体の表面と前記亀裂の内部との温度差に応じて生じる輝度の差に基づいて、前記撮像画像内における亀裂を特定し、特定した亀裂が写った撮像画像を亀裂観察画像として抽出する亀裂観察画像抽出部と、前記亀裂観察画像抽出部で抽出された亀裂観察画像のうち、前記試験体が破断する直前の亀裂と見做せる亀裂が写った破断直前の亀裂観察画像に着目し、前記破断直前の亀裂観察画像に写った前記試験体の表面の位置に対応する位置を撮像した過去の亀裂観察画像を、前記破断直前の亀裂観察画像から亀裂が発生する起点となる初期の亀裂が写った初期の亀裂観察画像まで遡ることで、前記試験体の表面に生じる亀裂を分析する亀裂分析部と、を有する、試験体分析装置である。
【0010】
本発明の第2態様は、700℃以上の範囲で設定された温度範囲に試験体の表面の温度を維持して行う高温疲労試験において、前記試験体の表面に生じる亀裂に基づいて前記試験体を分析する試験体分析方法であって、前記高温疲労試験における負荷として、前記試験体の表面を前記温度範囲に加熱する加熱部と、前記高温疲労試験における負荷として、前記試験体の軸方向に、予め決められたサイクルで引張応力と圧縮応力とを繰り返し付与する応力付与部と、前記試験体の表面を撮像し、撮像画像を生成する撮像部と、前記撮像部により生成された撮像画像を用いて、前記試験体の表面に生じる亀裂を分析し、当該分析結果に基づいて前記試験体を分析する演算処理部と、を有する試験体分析装置を用い、前記撮像部で生成された撮像画像のうち、前記予め決められたサイクルの中で引張応力が最大となるタイミングで生成された撮像画像において、前記加熱部により加熱された前記試験体の表面と前記亀裂の内部との温度差に応じて生じる輝度の差に基づいて、前記撮像画像内における亀裂を特定し、特定した亀裂が写った撮像画像を亀裂観察画像として抽出する亀裂観察画像抽出ステップと、前記亀裂観察画像抽出ステップで抽出された亀裂観察画像のうち、前記試験体が破断する直前の亀裂と見做せる亀裂が写った破断直前の亀裂観察画像に着目し、前記破断直前の亀裂観察画像に写った前記試験体の表面の位置に対応する位置を撮像した過去の亀裂観察画像を、前記破断直前の亀裂観察画像から亀裂が発生する起点となる初期の亀裂が写った初期の亀裂観察画像まで遡ることで、前記試験体の表面に生じる亀裂を分析する亀裂分析ステップと、を有する、試験体分析方法である。
【発明の効果】
(【0011】以降は省略されています)
この特許をJ-PlatPat(特許庁公式サイト)で参照する
関連特許
日本製鉄株式会社
線材
11日前
日本製鉄株式会社
鋼部品
17日前
日本製鉄株式会社
床構造
26日前
日本製鉄株式会社
鋼部品
17日前
日本製鉄株式会社
床構造
26日前
日本製鉄株式会社
剪断機
26日前
日本製鉄株式会社
ボルト
26日前
日本製鉄株式会社
ボルト
1か月前
日本製鉄株式会社
構造部材
1か月前
日本製鉄株式会社
溶接継手
9日前
日本製鉄株式会社
橋脚構造
15日前
日本製鉄株式会社
管理装置
1か月前
日本製鉄株式会社
耐火構造物
1か月前
日本製鉄株式会社
耐火構造物
1か月前
日本製鉄株式会社
耐火構造物
1か月前
日本製鉄株式会社
鍛鋼ロール
16日前
日本製鉄株式会社
腐食センサ
15日前
日本製鉄株式会社
リクレーマ
1か月前
日本製鉄株式会社
鍛鋼ロール
16日前
日本製鉄株式会社
高Ni合金板
1か月前
日本製鉄株式会社
高Ni合金鋼
15日前
日本製鉄株式会社
高Ni合金鋼
15日前
日本製鉄株式会社
学習システム
18日前
日本製鉄株式会社
管理システム
15日前
日本製鉄株式会社
転炉精錬方法
1か月前
日本製鉄株式会社
溶鉄の製造方法
1か月前
日本製鉄株式会社
高炉の操業方法
1か月前
日本製鉄株式会社
高炉の操業方法
1か月前
日本製鉄株式会社
高炉の操業方法
17日前
日本製鉄株式会社
溶鉄の製造方法
17日前
日本製鉄株式会社
原油油槽用鋼材
11日前
日本製鉄株式会社
高炉の冷却構造
1か月前
日本製鉄株式会社
鉄道車両用の台車
18日前
日本製鉄株式会社
合成梁及び床構造
1か月前
日本製鉄株式会社
焼結鉱の製造方法
1か月前
日本製鉄株式会社
金属材の製造方法
17日前
続きを見る
他の特許を見る