TOP
|
特許
|
意匠
|
商標
特許ウォッチ
Twitter
他の特許を見る
10個以上の画像は省略されています。
公開番号
2025134365
公報種別
公開特許公報(A)
公開日
2025-09-17
出願番号
2024032223
出願日
2024-03-04
発明の名称
耐火構造物
出願人
日本製鉄株式会社
,
株式会社竹中工務店
代理人
個人
,
個人
,
個人
,
個人
,
個人
,
個人
,
個人
,
個人
主分類
E04B
5/32 20060101AFI20250909BHJP(建築物)
要約
【課題】多様な仕様の床部を備えてもメンブレン効果を発揮できる耐火構造物を提供する。
【解決手段】耐火構造物1は、耐火性能を有する複数の耐火性能梁と、耐火性能を有し、複数の耐火性能梁に接合され、自身の一部及び複数の耐火性能梁で耐火環状体を構成する複数の耐火性能柱と、第1コンクリート51中に第1引張力伝達部材56が設けられ、自身の第1外周縁50aの一部が耐火環状体により支持される第1床部50と、第2コンクリート66中に、第1引張力伝達部材に連なる第2引張力伝達部材67が設けられ、自身の第2外周縁65aの一部が耐火環状体により支持されるとともに、第2外周縁の残部の一部が第1外周縁の残部よりも上方に配置された第2床部65と、耐火性能を有さずに耐火環状体内に配置され、両端部が複数の耐火性能梁にそれぞれ接合されるとともに、第1床部及び第2床部の少なくとも一方を支持する減耐火性能梁35と、を備える。
【選択図】図5
特許請求の範囲
【請求項1】
所定の耐火性能を有する複数の耐火性能梁と、
前記所定の耐火性能を有し、前記複数の耐火性能梁に接合され、自身の一部及び前記複数の耐火性能梁全体で環状の耐火環状体を構成する複数の耐火性能柱と、
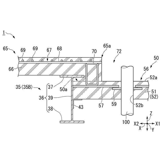
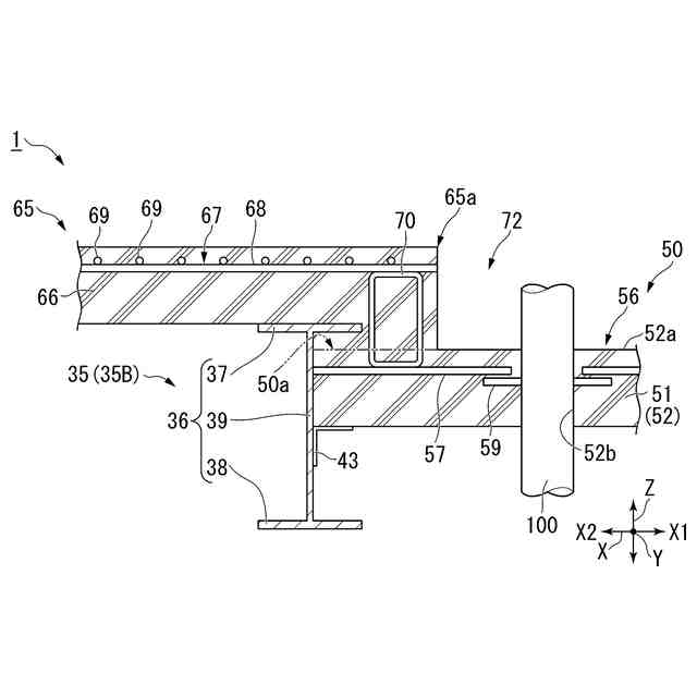
第1コンクリート中に第1引張力伝達部材が設けられ、自身の第1外周縁の一部が前記耐火環状体により下方から支持される第1床部と、
第2コンクリート中に、前記第1引張力伝達部材に連なる第2引張力伝達部材が設けられ、自身の第2外周縁の一部が前記耐火環状体により支持されるとともに、前記第2外周縁の残部の少なくとも一部が前記第1外周縁の残部の少なくとも一部よりも上方に配置された第2床部と、
前記所定の耐火性能を有さずに前記耐火環状体内に配置され、両端部が前記複数の耐火性能梁にそれぞれ接合されるとともに、前記第1床部及び前記第2床部の少なくとも一方を下方から支持する減耐火性能梁と、
を備え、
前記第1床部の上面内で互いに交差する方向を第1交差方向、第2交差方向と規定したときに、
前記第1引張力伝達部材は、前記第1床部の前記第1交差方向の端部間の引張力、及び、前記第1床部の前記第2交差方向の端部間の引張力をそれぞれ伝達し、
前記第2引張力伝達部材は、前記第2床部の前記第1交差方向の端部間の引張力、及び、前記第2床部の前記第2交差方向の端部間の引張力をそれぞれ伝達する、耐火構造物。
続きを表示(約 65 文字)
【請求項2】
前記第1床部と前記第2床部との接合部近傍に配置された補強鉄筋を備える、請求項1に記載の耐火構造物。
発明の詳細な説明
【技術分野】
【0001】
本発明は、耐火構造物に関する。
続きを表示(約 2,300 文字)
【背景技術】
【0002】
従来、耐火性能を有する大梁(耐火性能梁)と耐火被覆が削減された小梁とで、鉄筋コンクリート製のスラブ(床部)を支持する耐火構造物が知られている(例えば、特許文献1参照)。
特許文献1の耐火構造物では、小梁は、大梁に剛接合されている。
スラブは、平板状である。スラブは、大梁及び小梁に支持されている。大梁及び小梁には、水平鋼板が跨って接合されている。
このように構成することで、水平鋼板が大梁と小梁との接続構造を補強し、耐火構造物における火災時の耐力を確保することができる。
【先行技術文献】
【特許文献】
【0003】
特許第6864991号公報
【発明の概要】
【発明が解決しようとする課題】
【0004】
しかしながら、特許文献1の耐火構造物では、適用可能なスラブの仕様が限定的である。
【0005】
本発明は、このような問題点に鑑みてなされたものであって、より多様な仕様の床部を備える場合であっても、メンブレン効果を発揮することができる耐火構造物を提供することを目的とする。
【課題を解決するための手段】
【0006】
前記課題を解決するために、この発明は以下の手段を提案している。
(1)本発明の態様1は、所定の耐火性能を有する複数の耐火性能梁と、前記所定の耐火性能を有し、前記複数の耐火性能梁に接合され、自身の一部及び前記複数の耐火性能梁全体で環状の耐火環状体を構成する複数の耐火性能柱と、第1コンクリート中に第1引張力伝達部材が設けられ、自身の第1外周縁の一部が前記耐火環状体により下方から支持される第1床部と、第2コンクリート中に、前記第1引張力伝達部材に連なる第2引張力伝達部材が設けられ、自身の第2外周縁の一部が前記耐火環状体により支持されるとともに、前記第2外周縁の残部の少なくとも一部が前記第1外周縁の残部の少なくとも一部よりも上方に配置された第2床部と、前記所定の耐火性能を有さずに前記耐火環状体内に配置され、両端部が前記複数の耐火性能梁にそれぞれ接合されるとともに、前記第1床部及び前記第2床部の少なくとも一方を下方から支持する減耐火性能梁と、を備え、前記第1床部の上面内で互いに交差する方向を第1交差方向、第2交差方向と規定したときに、前記第1引張力伝達部材は、前記第1床部の前記第1交差方向の端部間の引張力、及び、前記第1床部の前記第2交差方向の端部間の引張力をそれぞれ伝達し、前記第2引張力伝達部材は、前記第2床部の前記第1交差方向の端部間の引張力、及び、前記第2床部の前記第2交差方向の端部間の引張力をそれぞれ伝達する、耐火構造物である。
【0007】
この発明では、第1床部の第1外周縁の一部は、所定の耐火性能を有して、火災時でも一定の剛性及び耐力を維持できる耐火環状体により下方から支持される。第1床部中に設けられた第1引張力伝達部材は、第1床部の第1交差方向の端部間の引張力、及び、第1床部の第2交差方向の端部間の引張力をそれぞれ伝達する。
同様に、第2床部の第2外周縁の一部は、耐火環状体により支持される。第2床部中に設けられた第2引張力伝達部材は、第2床部の第1交差方向の端部間の引張力、及び、第2床部の第2交差方向の端部間の引張力をそれぞれ伝達する。
そして、第1床部と第2床部との接合部に、上下方向に段差が形成される。
【0008】
火災時には、第1床部及び第2床部に作用する重力等により、第1床部及び第2床部全体としての平面視における中央部等が下方に向かって凸となるように撓む。しかし、メンブレン効果により、第1床部及び第2床部全体としての外周縁が耐火環状体により支持される。そして、第1床部及び第2床部が撓むことにより伸びた、互いに連なる第1引張力伝達部材及び第2引張力伝達部材が第1交差方向及び第2交差方向にそれぞれ引張力を伝達することにより、第1床部及び第2床部全体としての中央部が支持される。従って、耐火構造物の耐火性能を従来と同等に維持することができる。
【0009】
耐火環状体内には、両端部が複数の耐火性能梁にそれぞれ接合された減耐火性能梁が配置されているため、火災が発生していない通常時には、耐火環状体だけでなく、減耐火性能梁により、第1床部及び第2床部の少なくとも一方を支持することができる。
以上のような、火災時のメンブレン効果、及び通常時の第1床部及び第2床部全体を支持する効果は、発明者等の鋭意検討の結果、第1床部及び第2床部に段差が形成されている場合に生じることが分かった。また、これらの効果は、第1床部及び第2床部に段差が形成されていない場合にも生じることが分かっている。従って、段差の有無によらない、より多様な仕様の床部を耐火構造物が備える場合であっても、メンブレン効果を発揮することができる。
【0010】
(2)本発明の態様2は、前記第1床部と前記第2床部との接合部近傍における、前記第1コンクリート及び前記第2コンクリートの少なくとも一方内に配置された補強鉄筋を備える、(1)に記載の耐火構造物であってもよい。
この発明では、補強鉄筋により、接合部近傍の第1コンクリート及び第2コンクリートの少なくとも一方を補強することができる。
【発明の効果】
(【0011】以降は省略されています)
この特許をJ-PlatPat(特許庁公式サイト)で参照する
関連特許
日本製鉄株式会社
線材
21日前
日本製鉄株式会社
橋脚構造
25日前
日本製鉄株式会社
溶接継手
19日前
日本製鉄株式会社
腐食センサ
25日前
日本製鉄株式会社
鍛鋼ロール
26日前
日本製鉄株式会社
鍛鋼ロール
26日前
日本製鉄株式会社
管理システム
25日前
日本製鉄株式会社
高Ni合金鋼
25日前
日本製鉄株式会社
高Ni合金鋼
25日前
日本製鉄株式会社
溶鉄の製造方法
6日前
日本製鉄株式会社
溶鉄の製造方法
6日前
日本製鉄株式会社
原油油槽用鋼材
21日前
日本製鉄株式会社
鉄道車両用の車軸
19日前
日本製鉄株式会社
鋼矢板の製造方法
26日前
日本製鉄株式会社
鉄鉱石の選別方法
25日前
日本製鉄株式会社
スラグの処理方法
26日前
日本製鉄株式会社
鋼の連続鋳造方法
26日前
日本製鉄株式会社
鉄鉱石の選別方法
18日前
日本製鉄株式会社
鉄道車両用の台車枠
20日前
日本製鉄株式会社
金属部品の製造方法
25日前
日本製鉄株式会社
溶鋼の脱窒処理方法
25日前
日本製鉄株式会社
腐食モニタリング装置
11日前
日本製鉄株式会社
分析装置および分析方法
5日前
日本製鉄株式会社
コークスの粉化量予測方法
6日前
日本製鉄株式会社
分離システム及び分離方法
11日前
日本製鉄株式会社
分離システム及び分離方法
11日前
日本製鉄株式会社
腐食センサ及び腐食測定方法
25日前
日本製鉄株式会社
ワカメ藻体及びその育成方法
25日前
日本製鉄株式会社
フェライト系ステンレス鋼板
25日前
日本製鉄株式会社
鋼管の連結構造および鋼管杭
25日前
日本製鉄株式会社
鋼管の連結構造および鋼管杭
25日前
日本製鉄株式会社
電気炉による溶鋼の製造方法
11日前
日本製鉄株式会社
鋼の連続鋳造鋳片の冷却方法
11日前
日本製鉄株式会社
鋼の連続鋳造鋳片の製造方法
11日前
日本製鉄株式会社
橋脚構造及び橋脚構造の施工方法
25日前
日本製鉄株式会社
護岸構造及び護岸構造の施工方法
26日前
続きを見る
他の特許を見る