TOP
|
特許
|
意匠
|
商標
特許ウォッチ
Twitter
他の特許を見る
10個以上の画像は省略されています。
公開番号
2025171933
公報種別
公開特許公報(A)
公開日
2025-11-20
出願番号
2024216427
出願日
2024-12-11
発明の名称
内張補助装置及び施工方法
出願人
日本製鉄株式会社
代理人
個人
,
個人
,
個人
,
個人
,
個人
,
個人
主分類
F27D
1/16 20060101AFI20251113BHJP(炉,キルン,窯;レトルト)
要約
【課題】作業負荷の軽減と築炉品質の向上を図ることが可能な内張補助装置及び内張方法を提供する。
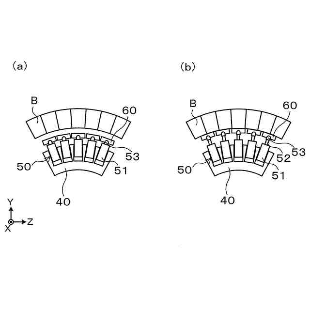
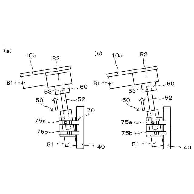
【解決手段】略円筒状の窯炉設備の内部において内張り材を支持する内張補助装置であって、前記窯炉設備の軸方向に移動自在に設けられる本体部と、前記本体部に取り付けられ、前記窯炉設備の径方向に伸縮自在に構成される複数のアーム部材と、前記アーム部材の先端に取り付けられ、前記窯炉設備の周方向に延びるアーチ部材と、前記アーチ部材において、前記窯炉設備の内周面に対向するように複数配置され、前記窯炉設備の内周面に向かって伸縮自在に構成される伸縮部材と、前記伸縮部材の先端に取り付けられ、前記内張り材を支持する支持部材と、を備える。
【選択図】図2
特許請求の範囲
【請求項1】
略円筒状の窯炉設備の内部において内張り材を支持する内張補助装置であって、
前記窯炉設備の軸方向に移動自在に設けられる本体部と、
前記本体部に取り付けられ、前記窯炉設備の径方向に伸縮自在に構成される複数のアーム部材と、
前記アーム部材の先端に取り付けられ、前記窯炉設備の周方向に延びるアーチ部材と、
前記アーチ部材において、前記窯炉設備の内周面に対向するように複数配置され、前記窯炉設備の内周面に向かって伸縮自在に構成される伸縮部材と、
前記伸縮部材の先端に取り付けられ、前記内張り材を支持する支持部材と、を備えることを特徴とする、内張補助装置。
続きを表示(約 730 文字)
【請求項2】
前記伸縮部材は、前記窯炉設備の軸方向に傾動自在に構成されることを特徴とする、請求項1に記載の内張補助装置。
【請求項3】
前記窯炉設備は、半径が軸方向において連続的に変化し、内部に傾斜面を有する略円筒形状を有し、
前記伸縮部材及び前記支持部材は、前記窯炉設備の内部の傾斜面に対し垂直に前記内張り材を支持するように傾動させる傾動機構を備えることを特徴とする、請求項1又は2に記載の内張補助装置。
【請求項4】
前記支持部材は複数備えられ、
前記支持部材には、当該支持部材が支持する前記内張り材との間において少なくとも2以上の前記支持部材に亘って配置される支持部材表面平滑化部材が取り付けられることを特徴とする、請求項1に記載の内張補助装置。
【請求項5】
請求項3に記載の内張補助装置を用いて窯炉設備の内周面に対し前記内張り材を施工する施工方法であって、
前記窯炉設備の軸方向において、複数の施工位置において前記窯炉設備の内部の傾斜面に対し垂直に前記内張り材を支持するように前記伸縮部材及び前記支持部材を傾動させて施工を行うことを特徴とする、施工方法。
【請求項6】
請求項4に記載の内張補助装置を用いて窯炉設備の内周面に対し前記内張り材を施工する施工方法であって、
前記窯炉設備の軸方向において前記窯炉設備の内面に対し前記内張り材を支持する際に、複数の前記支持部材がなす円弧を一体的に覆うように前記支持部材表面平滑化部材を取り付け、複数の前記内張り材を当該支持部材表面平滑化部材を介して前記支持部材により支持して施工を行うことを特徴とする、施工方法。
発明の詳細な説明
【技術分野】
【0001】
本発明は、略円筒体の窯炉設備内において内張り材を貼り付ける際に用いられる内張補助装置及び施工方法に関する。
続きを表示(約 1,900 文字)
【背景技術】
【0002】
製鉄所において用いられる窯炉設備は、高温の溶鋼や雰囲気に耐えるために、内部に耐火物が施工されている。内部に施工された耐火物は、窯炉設備の稼働とともに徐々に損耗していくため、操業開始後、一定期間が経過した後には、損耗した耐火物を除去して新たな耐火物を施工するといった補修を行う必要がある。例えば、転炉や取鍋等の略円筒形状の窯炉設備の内側に耐火物(耐火煉瓦)を施工する際には、耐火物を円環状(リング状)に施工した後、軸方向に移動して再び耐火物を円環状に施工するといった作業を繰り返し、略円筒形状の窯炉設備内側に耐火物を施工するのが一般的である。
【0003】
耐火煉瓦の施工作業は、窯炉設備に立ち入り、例えば1枚当たりの重量が10~50kgである耐火煉瓦を1枚ずつ施工することが求められ、作業負荷が非常に高いのが実情である。そこで、施工作業の軽減、効率化や自動化を目的とした技術が創案されており、作業負荷の低減が図られている。
【0004】
例えば特許文献1には、円筒体への煉瓦内張装置が開示されており、円筒体の内周に煉瓦を自動的に内張りさせる装置を実現させている。また、例えば特許文献2には、セメントロータリーキルンの煉瓦上巻作業を能率よく行うための装置が開示されており、キルン煉瓦の貼り替え施工の効率化を図っている。また、例えば特許文献3には、略円筒状の精錬容器内部に、耐火物を施工する耐火物施工装置が開示されており、施工作業の軽減やレンガ目地数の削減による損耗速度軽減などを図っている。
【先行技術文献】
【特許文献】
【0005】
特開平8-313170号公報
特開平6-66480号公報
特許第5609038号
【発明の概要】
【発明が解決しようとする課題】
【0006】
ところで、製鉄所において用いられる貨車として、半径が軸方向において連続的に変化するような形状を有する混銑車(いわゆるトーピードカー)が知られており、その内側においても耐火物を施工することが求められる。上記特許文献1~3の技術は、いずれも半径が軸方向に一定であるような円筒形状の設備の内側に耐火物を施工するものであり、混銑車のような半径が軸方向において連続的に変化する形状に対して適用するのは困難である。
【0007】
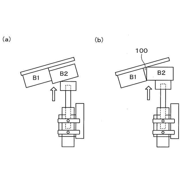
例えば、図1に示すように、内部に傾斜面を有する設備に対し、傾斜面に対し垂直ではなく、従来と同じように鉛直方向(設備全体に対し垂直方向)に耐火煉瓦を施工し、複数の耐火煉瓦を並べていくと、隣り合う煉瓦B1と煉瓦B2の間に形成される目地部(隙間)が大きくなり、図示のような三角目地100が形成される。この三角目地100は、窯炉設備の稼働に伴い耐火煉瓦の厚みが減少すると、目地厚みが拡大し、煉瓦が緩むことによる煉瓦脱落や、目地を介した溶湯やガスの漏洩などの生産トラブルの原因になる恐れがある。
【0008】
そこで、従来、混銑車のような半径が軸方向において連続的に変化するような形状の設備では、内部の特にその上半周において耐火煉瓦を施工する際に、耐火煉瓦を重力に逆らって支持するための木製の迫り枠(木枠)を用い、煉瓦が混銑車の内面に合わせて傾斜して固定できるように木枠と煉瓦の間にクサビを打ち込んで目地が開かないように煉瓦を設置するのが一般的であった。この場合、狭隘な作業空間において木枠を施工位置まで運搬し、設置した木枠の上に耐火煉瓦を1枚ずつ施工していくため、一般的な転炉や取鍋等と比べても作業負荷が高く、その低減が強く求められているのが実情である。
【0009】
本発明者らの検討によれば、一般的な円筒形状の窯炉設備の内側に耐火物を施工する場合に加え、混銑車のような半径が軸方向において連続的に変化し、内部に傾斜面を有する略円筒形状の窯炉設備についても作業負荷を軽減させ、効率的に耐火物の内張りを行うことが可能な技術について鋭意検討を行った。
【0010】
本発明は、かかる点に鑑みてなされたものであり、混銑車のような半径が軸方向において連続的に変化し、内部に傾斜面を有する略円筒形状の窯炉設備に対しても適用可能であり、作業負荷の軽減と築炉品質の向上を図ることが可能な内張補助装置及び施工方法を提供することを目的とする。
【課題を解決するための手段】
(【0011】以降は省略されています)
この特許をJ-PlatPat(特許庁公式サイト)で参照する
関連特許
日本製鉄株式会社
線材
1か月前
日本製鉄株式会社
棒鋼
3日前
日本製鉄株式会社
棒鋼
3日前
日本製鉄株式会社
床構造
1か月前
日本製鉄株式会社
剪断機
1か月前
日本製鉄株式会社
鋼部品
1か月前
日本製鉄株式会社
鋼部品
1か月前
日本製鉄株式会社
ボルト
1か月前
日本製鉄株式会社
鋼部品
3日前
日本製鉄株式会社
ボルト
2か月前
日本製鉄株式会社
床構造
1か月前
日本製鉄株式会社
溶接継手
1か月前
日本製鉄株式会社
溶接継手
9日前
日本製鉄株式会社
管理装置
2か月前
日本製鉄株式会社
構造部材
2か月前
日本製鉄株式会社
橋脚構造
1か月前
日本製鉄株式会社
耐火構造物
2か月前
日本製鉄株式会社
リクレーマ
2か月前
日本製鉄株式会社
鍛鋼ロール
1か月前
日本製鉄株式会社
耐火構造物
2か月前
日本製鉄株式会社
耐火構造物
2か月前
日本製鉄株式会社
鍛鋼ロール
1か月前
日本製鉄株式会社
腐食センサ
1か月前
日本製鉄株式会社
高Ni合金鋼
1か月前
日本製鉄株式会社
高Ni合金鋼
1か月前
日本製鉄株式会社
学習システム
1か月前
日本製鉄株式会社
転炉精錬方法
2か月前
日本製鉄株式会社
高Ni合金板
2か月前
日本製鉄株式会社
管理システム
1か月前
日本製鉄株式会社
高炉の冷却構造
2か月前
日本製鉄株式会社
溶鉄の製造方法
2か月前
日本製鉄株式会社
機械構造用部品
4日前
日本製鉄株式会社
ステンレス鋼板
3か月前
日本製鉄株式会社
原油油槽用鋼材
1か月前
日本製鉄株式会社
溶鉄の製造方法
25日前
日本製鉄株式会社
溶鉄の製造方法
25日前
続きを見る
他の特許を見る