TOP
|
特許
|
意匠
|
商標
特許ウォッチ
Twitter
他の特許を見る
10個以上の画像は省略されています。
公開番号
2025161167
公報種別
公開特許公報(A)
公開日
2025-10-24
出願番号
2024064126
出願日
2024-04-11
発明の名称
床版架設方法
出願人
鹿島建設株式会社
代理人
弁理士法人後藤特許事務所
主分類
E01D
21/00 20060101AFI20251017BHJP(道路,鉄道または橋りょうの建設)
要約
【課題】床版架設に要する作業時間を短縮する。
【解決手段】床版架設方法は、先に設置された先行床版20Aに隣接して後行床版20Bを設置する設置工程と、先行床版20Aと後行床版20Bとの間の隙間G1にスペーサ40を介在させた状態において先行床版20Aと後行床版20Bとを締結部材40により締結する締結工程と、先行床版20Aと後行床版20Bとは別の床版2bを搬送する搬送台車16、及び、別の床版2bを揚重する揚重台車15,17の少なくとも何れかが先行床版20A及び後行床版20Bの上面を走行面S1として移動する移動工程と、を含む。
【選択図】図4
特許請求の範囲
【請求項1】
橋桁上にプレキャストコンクリート製の床版を順に並べて設置する床版架設方法であって、
先に設置された先行床版に隣接して後行床版を設置する設置工程と、
前記先行床版と前記後行床版との間の隙間にスペーサを介在させた状態において前記先行床版と前記後行床版とを締結部材により締結する締結工程と、
前記先行床版及び前記後行床版とは別の床版を搬送する搬送台車、及び、前記別の床版を揚重する揚重台車の少なくとも何れかが前記先行床版及び前記後行床版の上を走行して移動する移動工程と、を含む、
床版架設方法。
続きを表示(約 540 文字)
【請求項2】
前記隙間に充填材を充填する充填工程をさらに含み、
前記充填工程は、前記移動工程の後に行われる、
請求項1に記載の床版架設方法。
【請求項3】
前記スペーサを前記隙間から除去する除去工程と、
前記隙間に充填材を充填する充填工程と、をさらに含み、
前記除去工程及び前記充填工程は、前記移動工程の後に行われる、
請求項1に記載の床版架設方法。
【請求項4】
前記スペーサの弾性係数は、前記先行床版及び前記後行床版の弾性係数よりも小さい、
請求項1から3のいずれか1項に記載の床版架設方法。
【請求項5】
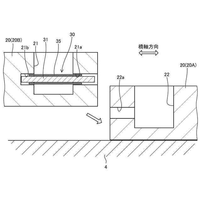
前記締結部材は、一端が前記先行床版に形成された第1凹部内に突出し、他端が前記後行床版に形成された第2凹部内に突出するように橋軸方向に沿って配置された長軸部材である、
請求項1から3のいずれか1項に記載の床版架設方法。
【請求項6】
前記締結部材は、前記先行床版と前記後行床版とに跨って設けられ、
前記スペーサは、少なくとも一部分が前記締結部材よりも上方に位置するように設けられる、
請求項1から3のいずれか1項に記載の床版架設方法。
発明の詳細な説明
【技術分野】
【0001】
本発明は、床版架設方法に関する。
続きを表示(約 1,400 文字)
【背景技術】
【0002】
特許文献1には、橋軸方向に延在する主桁上にプレキャストコンクリート製の床版を順に並べて設置する床版架設方法が開示されている。
【先行技術文献】
【特許文献】
【0003】
特開2018-104972号公報
【発明の概要】
【発明が解決しようとする課題】
【0004】
一般的に床版架設作業は、少なくとも一車線を通行止めとして行われることから、より早く作業が完了することが求められている。床版架設作業は、設置された床版間にコンクリートを打設し床版を橋軸方向において連結させることによりほぼ完了した状態となるが、特許文献1に記載されるような床版架設方法では、設置された床版上に、床版を搬送する搬送台車や床版を揚重する揚重台車が走行するレールが設置されるため、レールの撤去作業が完了するまでは床版間にコンクリートを打設し養生させることができないことから、床版架設に要する作業時間をさらに短縮し、作業コストを低減させることが困難である。
【0005】
本発明は、床版架設に要する作業時間を短縮することを目的とする。
【課題を解決するための手段】
【0006】
本発明は、橋桁上にプレキャストコンクリート製の床版を順に並べて設置する床版架設方法であって、先に設置された先行床版に隣接して後行床版を設置する設置工程と、先行床版と後行床版との間の隙間にスペーサを介在させた状態において先行床版と後行床版とを締結部材により締結する締結工程と、先行床版及び後行床版とは別の床版を搬送する搬送台車、及び、別の床版を揚重する揚重台車の少なくとも何れかが先行床版及び後行床版の上を走行して移動する移動工程と、を含む。
【発明の効果】
【0007】
本発明によれば、床版架設に要する作業時間を短縮することができる。
【図面の簡単な説明】
【0008】
床版更新作業を説明するための概略図である。
床版架設方法について説明するための概略図である。
図2の矢印Aの方向から見た床版の状態を示した図である。
図3のB-B線に沿う床版の断面を示した断面図である。
図4のC-C線に沿う断面を示した断面図である。
床版を架設する工程を順に説明するための図である。
床版を架設する工程を順に説明するための図であり、図6Aに続く状態を示した図である。
床版を架設する工程を順に説明するための図であり、図6Bに続く状態を示した図である。
床版を架設する工程を順に説明するための図であり、図6Cに続く状態を示した図である。
床版同士を締結する締結部材の変形例を示す図である。
床版同士を締結する締結部材の別の変形例を示す図である。
【発明を実施するための形態】
【0009】
以下、本発明の実施形態に係る床版架設方法について、図面を参照して説明する。
【0010】
本発明の実施形態に係る床版架設方法は、例えば、橋梁やトンネル内に設けられた既設の床版を新たな床版に更新する床版更新作業において、既設の床版が撤去された箇所に新たな床版を順次架設するための方法である。
(【0011】以降は省略されています)
この特許をJ-PlatPat(特許庁公式サイト)で参照する
関連特許
鹿島建設株式会社
制震架構
1か月前
鹿島建設株式会社
構築方法
11日前
鹿島建設株式会社
接合構造
25日前
鹿島建設株式会社
解体方法
1か月前
鹿島建設株式会社
過重力施設
1か月前
鹿島建設株式会社
床版架設方法
23日前
鹿島建設株式会社
空調システム
1か月前
鹿島建設株式会社
柱建て込み方法
1か月前
鹿島建設株式会社
シールド掘進機
1か月前
鹿島建設株式会社
運搬台車および運搬方法
1か月前
鹿島建設株式会社
接続方法および接続構造
1か月前
鹿島建設株式会社
ワイヤレス給電システム
1か月前
鹿島建設株式会社
橋、および橋の製造方法
1か月前
鹿島建設株式会社
作業サイクル分析システム
23日前
鹿島建設株式会社
コンクリート構造物構築方法
10日前
鹿島建設株式会社
壁体の構築方法およびタンク
24日前
鹿島建設株式会社
鋼管柱の接合方法、及び鋼管柱
1か月前
鹿島建設株式会社
品質評価装置および品質評価方法
19日前
鹿島建設株式会社
水硬性硬化体の炭酸化養生システム
1か月前
鹿島建設株式会社
盛土評価システムおよび盛土評価方法
24日前
鹿島建設株式会社
生態系環境改善部材及び生態系環境改善構造
9日前
鹿島道路株式会社
コンクリート舗装の養生方法
1か月前
鹿島道路株式会社
コンクリート舗装の養生方法
1か月前
鹿島建設株式会社
二酸化炭素の回収方法、二酸化炭素回収システム
10日前
鹿島道路株式会社
アスファルト混合物の製造方法
18日前
鹿島建設株式会社
環境音モニタ装置、環境音モニタ方法及びプログラム
1か月前
ゼネラルヒートポンプ工業株式会社
ヒートポンプシステム
23日前
ケイミューシポレックス株式会社
軽量気泡コンクリートの製造方法
1か月前
鹿島建設株式会社
生物生息場構造体、生物生息場構造、生物生息場構造体の引き上げ方法
1か月前
鹿島建設株式会社
搬送管および搬送装置
1か月前
Haloworld株式会社
マップ作成システム及び自動走行システム
1か月前
鹿島建設株式会社
光ファイバー設置構造、コンクリート部材養生方法、損傷評価方法及び構造特性評価方法
1か月前
株式会社熊谷組
床版
1か月前
株式会社熊谷組
床版
1か月前
白出商事株式会社
縁石銘板(名板)
1か月前
株式会社セイトク
防雪パネル
1か月前
続きを見る
他の特許を見る