TOP
|
特許
|
意匠
|
商標
特許ウォッチ
Twitter
他の特許を見る
公開番号
2025177543
公報種別
公開特許公報(A)
公開日
2025-12-05
出願番号
2024084475
出願日
2024-05-24
発明の名称
カバー体
出願人
積水樹脂株式会社
代理人
主分類
E01F
9/673 20160101AFI20251128BHJP(道路,鉄道または橋りょうの建設)
要約
【課題】柱体の側方から取り付け可能であり、表示面を平面状に形成する端部分の変形を抑制して視認性を向上させるカバー体を提供する。
【解決手段】表示面となる表面と裏面を有するシート状の基材で形成、相対させた前記各裏面を離間不能に固定する縦長状の固定部を形成すると共に、この固定部から幅方向一方側へ延出する縦長形状の拡張部と、他方側へ延出する第1のシート部と第2のシート部とを形成し、前記第1のシート部と第2のシート部の幅方向の端部に面ファスナーからなる面係合部をそれぞれ形成し、この各面係合部を構成する面ファスナーを縦長形状に形成して前記第1のシート部及び第2のシート部の裏面側にそれぞれ固定する。
前記面ファスナーを係合させた縦長形状の面係合部の剛性により変形が抑制され、前記係合部分の表面からなる表示面の良好な視認性を安定して得ることができる。
【選択図】 図7
特許請求の範囲
【請求項1】
可撓性を有するシート状の基材で形成され、
該基材は表示面となされる表面と、該表面の逆側の裏面を有し、
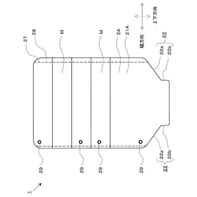
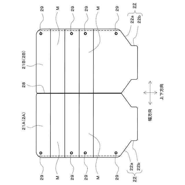
相対させた前記各裏面が離間不能に固定される縦長状の固定部が形成されると共に、該固定部から幅方向一方側へ延出する前記基材からなる縦長形状の拡張部と、他方側へ延出する第1のシート部と第2のシート部とが形成されており、
前記第1のシート部と第2のシート部の幅方向の端部には面ファスナーからなる面係合部がそれぞれ形成され、該各面係合部を構成する面ファスナーは縦長形状に形成されて前記第1のシート部及び第2のシート部の裏面側にそれぞれ固定されていることを特徴とするカバー体。
続きを表示(約 200 文字)
【請求項2】
第1のシート部に形成された前記面係合部と第2のシート部に形成された前記面係合部は、前記拡張部の根元を構成する前記固定部からの幅方向の間隔が同じ大きさに配置されていることを特徴とする請求項1に記載のカバー体
【請求項3】
前記第1のシート部と第2のシート部の裏面には、前記固定部と前記面係合部との間に磁着部が形成されていることを特徴とする請求項1又は2に記載のカバー体。
発明の詳細な説明
【技術分野】
【0001】
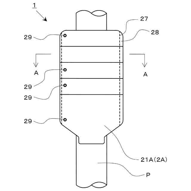
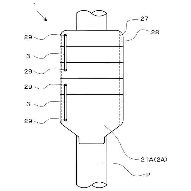
本発明は、主に道路等の付近に立設する柱体の外周に取り付けるカバー体に関するものである。
続きを表示(約 2,300 文字)
【背景技術】
【0002】
車両が通行する道路や駐車場などの付近に立設する道路用標示体や、柵の支柱や、車止め等の柱体は従来から利用されており、その外面に視認性を向上させるカバー体を取り付ける構造についても種々の発明が提案されている。
【0003】
例えば、特許文献1には、車両などが接触して変形した後に元の状態に復元する可撓性を有する弾性柱へ取り付け可能なカバー体であって、前記弾性柱の柱部が収納される筒状の本体部と、該本体部から外側側方へ突出する拡張部とを備え、前記本体部は前記柱部の変形に対応可能な柔軟性を有しており、前記拡張部は外側側方への突出大きさがより小さく設けられた幅狭部を備えると共に、該幅狭部は前記拡張部の下端に形成されて前記本体部の下部に配置されていることを特徴とするカバー体の発明が本出願人によって提案されている。
また、特許文献2には、ワイヤーロープが掛け渡されたポールに取り付けられる視線誘導標であって、前記ポールの側面を覆うシート部材を備え、該シート部材には、前記ワイヤーロープを通す切欠き及び前記ポールに前記シート部材を固定する固定具を取り付ける固定具取付部が設けられていることを特徴とする視線誘導標の発明が提案されている。
【先行技術文献】
【特許文献】
【0004】
特開2020-193495号公報
特開2019-007249号公報
【発明の概要】
【発明が解決しようとする課題】
【0005】
特許文献1に示されるカバー体は、弾性柱の柱部が収納される筒状の本体部を備え、この本体部の内側へ柱部を収納させて取り付けるように設けているが、柱部の上側から本体部を被せるように取り付ける構造のため、上部にビームや、他の大きな部材が取り付けられている柱体への取り付けが困難であった。
また、特許文献2に示される視線誘導標は、シート部材を第1シート部材と第2シート部材から構成し、第1シート部材と前記第2シート部材の少なくとも左右方向の一側を接合して、第1シート部材と第2シート部材をポール本体の側面に巻き付け、結束バンドからなる固定具で締め付けてポールに取り付ける構成が示されています。しかしながら特許文献2の視線誘導標は、固定具よりも外側のシート部材の端部の変形による視認性への影響が懸念される。
【0006】
本発明は、柱体の側方から取り付け可能であり、表示面を平面状に形成する端部分の変形を抑制して視認性を向上させるカバー体を提供するものである。
【課題を解決するための手段】
【0007】
上記目的を達成するため、本発明は以下のような構成としている。
すなわち本発明に係るカバー体は、可撓性を有するシート状の基材で形成され、該基材は表示面となされる表面と、該表面の逆側の裏面を有し、相対させた前記各裏面が離間不能に固定される縦長状の固定部が形成されると共に、該固定部から幅方向一方側へ延出する前記基材からなる縦長形状の拡張部と、他方側へ延出する第1のシート部と第2のシート部とが形成されており、前記第1のシート部と第2のシート部の幅方向の端部には面ファスナーからなる面係合部がそれぞれ形成され、該各面係合部を構成する面ファスナーは縦長形状に形成されて前記第1のシート部及び第2のシート部の裏面側にそれぞれ固定されていることを特徴とするものである。
【0008】
本発明に係るカバー体によれば、可撓性を有するシート状の基材で形成し、この基材の表面を表示面とし、相対させた前記各裏面を離間不能に固定する縦長状の固定部を形成すると共に、この固定部から幅方向一方側へ延出する前記基材からなる縦長形状の拡張部を形成するので、車両運転手などの観者がこの縦長の拡張部の表面からなる表示面を視認することで誘目性が向上する。
また、幅方向他方側へ延出する第1のシート部と第2のシート部とを形成し、第1のシート部と第2のシート部の幅方向の端部に面ファスナーからなる面係合部がそれぞれ形成するので、第1のシート部と第2のシート部の間に柱体を配置し、前記各面ファスナーからなる面係合部を係合させることで、柱体の側方からカバー体を取り付けることができる。
また、前記各面係合部を構成する面ファスナーを縦長形状に形成して前記第1のシート部及び第2のシート部の裏面側にそれぞれ固定するので、前記面ファスナーを係合させた縦長形状の面係合部の剛性により変形が抑制され、前記係合部分の表面からなる表示面の良好な視認性を安定して得ることができる。
【0009】
また、第1のシート部に形成された前記面係合部と第2のシート部に形成された前記面係合部とを、前記拡張部の根元を構成する前記固定部からの幅方向の間隔を同じ大きさに配置すれば、各面係合部を係合させてカバー体を柱体に取り付けた状態において拡張部と各面係合部の係合部分が柱体の中心をはさんでその両側に配置されるので、意匠性と視認性が向上し、好ましい。
【0010】
また、前記第1のシート部と第2のシート部の裏面において、前記固定部と前記面係合部との間に磁着部を形成すれば、柱体が鋼材などで形成されている場合において前記磁着部を柱体の外面へ磁着させることができるので、カバー体の柱体への取り付けがより強固となるので、好ましい。
【発明の効果】
(【0011】以降は省略されています)
この特許をJ-PlatPat(特許庁公式サイト)で参照する
関連特許
積水樹脂株式会社
カバー体
2日前
積水樹脂株式会社
シート止め具
9日前
株式会社デンソーウェーブ
投入品管理用装置
2日前
株式会社ミライト・ワン
ボラード
1か月前
積水樹脂株式会社
ストレッチフィルム包装方法及びストレッチフィルム包装機
1か月前
積水樹脂株式会社
フェンス、フェンスの施工方法、外構製品、及び外構製品の施工方法
1か月前
株式会社熊谷組
床版
4日前
積水樹脂株式会社
カバー体
2日前
株式会社熊谷組
床版
1か月前
株式会社熊谷組
床版
1か月前
個人
掃除装置
2日前
株式会社セイトク
防雪パネル
1か月前
コスモテック株式会社
表示装置
1か月前
株式会社パロマ
融雪装置
9日前
株式会社NIPPO
距離補正装置
1か月前
株式会社 林物産発明研究所
道路安全体
17日前
株式会社ササキコーポレーション
作業機
1か月前
戸田建設株式会社
コンクリート構造
1か月前
三信工業株式会社
床版架設装置
1か月前
桑名金属工業株式会社
融雪マットおよび融雪方法
1か月前
東亜グラウト工業株式会社
防護柵の支柱構造
1か月前
西松建設株式会社
耐震補強方法
9日前
戸田建設株式会社
鋼製ブラケットの取付装置
1か月前
戸田建設株式会社
鋼製ブラケットの取付装置
1か月前
株式会社丸治コンクリート工業所
防護柵
11日前
株式会社川金コアテック
橋梁用鋼弾塑性ダンパー
25日前
西尾レントオール株式会社
コーンベット型電源装置
1か月前
個人
充填剤及びそれが充填された人工芝
9日前
日鉄建材株式会社
吊り材で支持された足場用床パネル
1か月前
日立建機株式会社
転圧機械
1か月前
鹿島建設株式会社
床版架設方法
1か月前
オリエンタル白石株式会社
補強鋼板及び排土方法
1か月前
鹿島建設株式会社
壁高欄の施工方法
10日前
株式会社日本コンポジット工業
壁用構造体
1か月前
宮地エンジニアリング株式会社
ワイヤブリッジの設置方法
1か月前
ダンレックス株式会社
表示装置
18日前
続きを見る
他の特許を見る