TOP
|
特許
|
意匠
|
商標
特許ウォッチ
Twitter
他の特許を見る
公開番号
2025177558
公報種別
公開特許公報(A)
公開日
2025-12-05
出願番号
2024084507
出願日
2024-05-24
発明の名称
投入品管理用装置
出願人
株式会社デンソーウェーブ
,
積水樹脂株式会社
代理人
個人
,
個人
主分類
G06K
7/10 20060101AFI20251128BHJP(計算;計数)
要約
【課題】未投入品の無線タグを読取対象とすることなく、投入口を介して投入された投入品の無線タグを確実に読取対象とし得る構成を提供する。
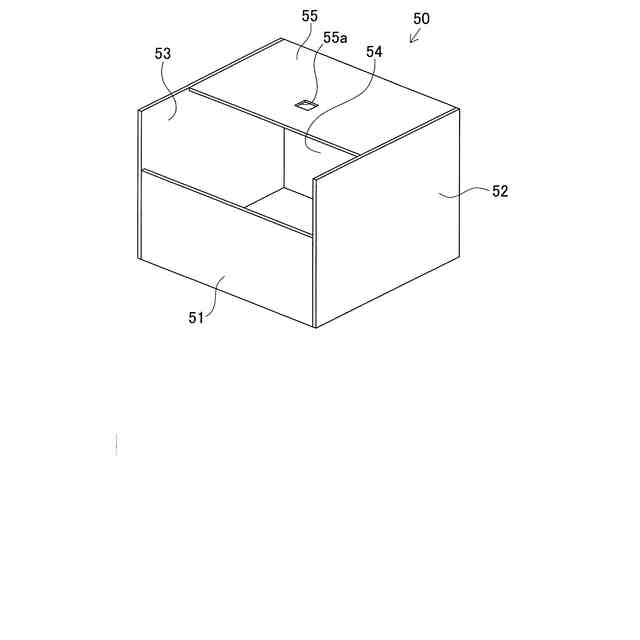
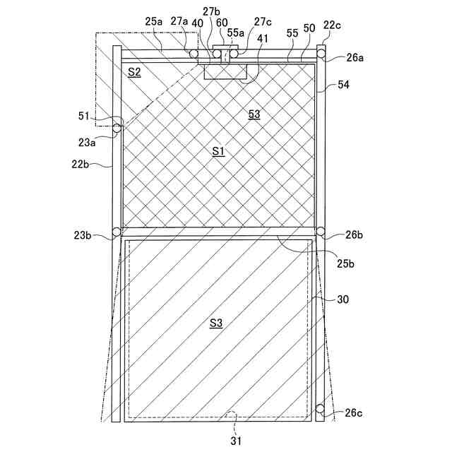
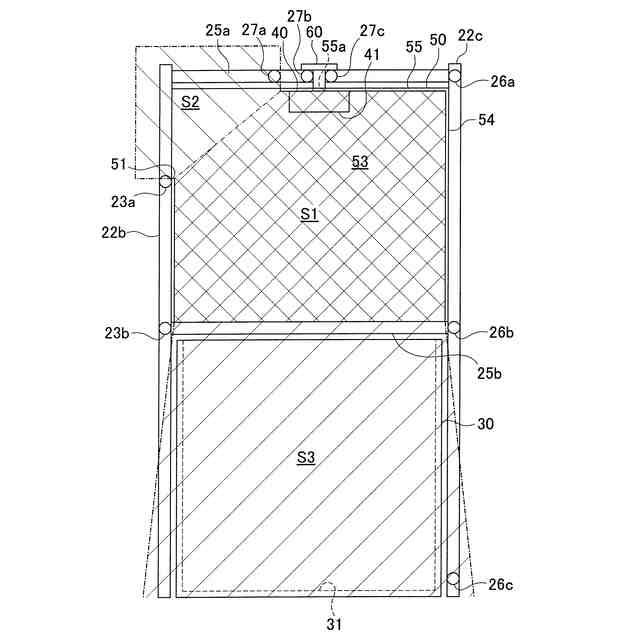
【解決手段】ダストボックス10は、投入口21を介して投入された医療器具Eが電波漏洩防止エリアS1内を通過した後に収容部30に収容され、電波漏洩防止エリアS1内の無線タグTを通信対象とするように無線タグリーダ40及びアンテナ41が配置され、電波漏洩防止エリアS1の周囲に電波吸収部50が配置されるように構成される。
【選択図】図5
特許請求の範囲
【請求項1】
無線タグを付した投入品が投入口を介して投入される外郭構成体と、
前記外郭構成体内に配置されて前記投入口を介して投入された前記投入品が所定のエリア内を通過した後に収容される収容部と、
前記所定のエリア内の前記無線タグを通信対象とするように配置されるアンテナと、
前記所定のエリアの周囲に配置される電波吸収部と、
を備えることを特徴とする投入品管理用装置。
続きを表示(約 380 文字)
【請求項2】
前記投入品は、使い捨ての医療器具であって、
前記収容部は、廃棄される前記医療器具が収容されるゴミ箱であることを特徴とする請求項1に記載の投入品管理用装置。
【請求項3】
前記電波吸収部は、前記所定のエリアを囲む前後左右の四方のうち少なくとも三方にそれぞれ配置される電波吸収パネルを備えることを特徴とする請求項1に記載の投入品管理用装置。
【請求項4】
前記電波吸収部は、前記三方の電波吸収パネルに加えて、前記所定のエリアの上方に配置される電波吸収パネルを備えることを特徴とする請求項3に記載の投入品管理用装置。
【請求項5】
前記アンテナは、前記収容部の底面に向けて電波を放射するように、前記所定のエリアの上方に配置されることを特徴とする請求項1に記載の投入品管理用装置。
発明の詳細な説明
【技術分野】
【0001】
本発明は、投入品に付された無線タグを利用してその投入品の情報を取得するための投入品管理用装置に関するものである。
続きを表示(約 1,900 文字)
【背景技術】
【0002】
従来、物品に付されたRFタグ等の無線タグから読み取った情報を利用してその物品を管理する運用として、例えば、使い捨てで使用する医療器具に所定の情報を記録した無線タグを付し、無線タグから読み取った情報を利用して医療器具の使用状況等を管理する運用がある。このような運用では、例えば、使用した医療器具の廃棄時にその医療器具の無線タグから読み取った情報を集計等することで、在庫管理や補充計画等を行うことができる。
【0003】
例えば、下記特許文献1にて開示される読取システムでは、医療廃棄物を廃棄するゴミ箱の投入口の近傍にアンテナを配置して、そのアンテナを介して医療廃棄物に付されたRFタグから読み取った情報を利用することで、その医療廃棄物の廃棄等を管理している。この読取システムでは、ゴミ箱の投入口を囲う四側面のうちの直交する2つの側面に沿うように第1のアンテナ及び第2のアンテナをそれぞれ配置することで、投入された医療廃棄物の無線タグについて読み取り漏れを抑制している。
【先行技術文献】
【特許文献】
【0004】
特開2017-019602号公報
【発明の概要】
【発明が解決しようとする課題】
【0005】
しかしながら、上述のように直交する2つのアンテナを利用することで無線タグの読み取り漏れは抑制できても、読み取り性能を強化するが故に、例えば、現時点では廃棄しない未使用の医療器具がゴミ箱近くを持ち運ばれていると、その未使用の医療器具の無線タグを誤って読み取ってしまう可能性がある。このように、廃棄しない医療器具の無線タグを誤って読み取る可能性があると、無線タグを利用した医療廃棄物に関する正確な廃棄管理ができなくなるという問題がある。
【0006】
このような問題に対して、例えば、医療廃棄物を廃棄する際に無線タグを読み取る読取装置に対して読取開始操作を行い、医療廃棄物をゴミ箱に入れた後に読取終了操作を行うことで、不要な無線タグの読み取りを防止することができる。しかしながら、廃棄作業ごとに読取開始操作及び読取終了操作を行う必要があり、廃棄作業が煩雑になるという問題がある。このような問題は、ゴミ箱に投入されることで廃棄される医療器具の管理だけでなく、投入品の無線タグを利用した投入品等管理でも生じる問題である。
【0007】
本発明は、上述した課題を解決するためになされたものであり、その目的とするところは、未投入品の無線タグを読取対象とすることなく、投入口を介して投入された投入品の無線タグを確実に読取対象とし得る構成を提供することにある。
【課題を解決するための手段】
【0008】
上記目的を達成するため、本発明に係る投入品管理用装置(10)は、
無線タグ(T)を付した投入品(E)が投入口(21)を介して投入される外郭構成体(20)と、
前記外郭構成体内に配置されて前記投入口を介して投入された前記投入品が所定のエリア(S1)内を通過した後に収容される収容部(30)と、
前記所定のエリア内の前記無線タグを通信対象とするように配置されるアンテナ(41)と、
前記所定のエリアの周囲に配置される電波吸収部(50,50a,50b,50c)と、
を備えることを特徴とする。
なお、上記各括弧内の符号は、後述する実施形態に記載の具体的手段との対応関係を示すものである。
【発明の効果】
【0009】
本発明では、投入口を介して投入された投入品が所定のエリア内を通過した後に収容部に収容され、上記所定のエリア内の無線タグを通信対象とするようにアンテナが配置され、上記所定のエリアの周囲に電波吸収部が配置される。
【0010】
これにより、無線タグを付した投入品が投入口を介して投入された際に上記所定のエリア内を通過することで、その無線タグに記録される情報がアンテナを介して読み取り可能となり、このように読み取った情報を利用することで、収容部に収容された投入品の投入状況等を把握することができる。特に、上記所定のエリアの周囲に電波吸収部が配置されるために、上記所定のエリア内を通過しない無線タグ、例えば、装置近傍にある未投入品の無線タグに対してアンテナからの電波が到達し難くなる。したがって、未投入品の無線タグを読取対象とすることなく、投入口を介して投入された投入品の無線タグを確実に読取対象とし得る投入品管理用装置を実現することができる。
(【0011】以降は省略されています)
この特許をJ-PlatPat(特許庁公式サイト)で参照する
関連特許
個人
詐欺保険
1か月前
個人
縁伊達ポイン
1か月前
個人
RFタグシート
1か月前
個人
職業自動販売機
23日前
個人
5掛けポイント
1か月前
個人
QRコードの彩色
1か月前
個人
ペルソナ認証方式
1か月前
個人
情報処理装置
1か月前
個人
自動調理装置
1か月前
個人
立体グラフの利用方法
2日前
個人
農作物用途分配システム
1か月前
個人
インターネットの利用構造
1か月前
個人
タッチパネル操作指代替具
1か月前
NISSHA株式会社
入力装置
3日前
個人
サービス情報提供システム
25日前
個人
携帯端末障害問合せシステム
1か月前
個人
学習用データ生成装置
4日前
個人
スケジュール調整プログラム
1か月前
個人
エリアガイドナビAIシステム
1か月前
キヤノン株式会社
画像認識装置
17日前
エッグス株式会社
情報処理装置
1か月前
キヤノン株式会社
情報処理装置
17日前
トヨタ自動車株式会社
通知装置
1か月前
キラル株式会社
顧客体験提供システム
5日前
株式会社ケアコム
項目選択装置
1か月前
キヤノン株式会社
情報処理装置
17日前
キヤノン株式会社
情報処理装置
1か月前
株式会社ワコム
電子ペン
1か月前
株式会社ワコム
電子ペン
1か月前
株式会社ケアコム
項目選択装置
1か月前
キヤノン株式会社
印刷システム
1か月前
個人
請求金額算出システム
9日前
太陽誘電株式会社
表示装置
1か月前
キヤノン電子株式会社
情報処理システム
2日前
株式会社アジラ
行動推定システム
17日前
株式会社ITP
仮想展示システム
11日前
続きを見る
他の特許を見る