TOP
|
特許
|
意匠
|
商標
特許ウォッチ
Twitter
他の特許を見る
10個以上の画像は省略されています。
公開番号
2025151617
公報種別
公開特許公報(A)
公開日
2025-10-09
出願番号
2024053138
出願日
2024-03-28
発明の名称
床版
出願人
株式会社熊谷組
代理人
個人
主分類
E01D
19/12 20060101AFI20251002BHJP(道路,鉄道または橋りょうの建設)
要約
【課題】床版の角縁から継手構成部材が設置される位置までの離間距離を短くできて、床版の角縁近傍部分のひび割れ抑制効果、耐久性、及び、耐荷力を向上させることできるように構成された床版を提供する。
【解決手段】本発明に係る四角形板状の鉄筋コンクリート製の床版10は、角縁を境界として隣り合う一方の辺縁面11と他方の辺縁面11とにおいて、一方の辺縁面11の角縁近傍には、橋梁の橋軸方向Yに沿って隣り合う床版と接続するための第1の床版継手装置1Aの継手構成部材(受部材2A)を備えるとともに、他方の辺縁面11の角縁近傍には、橋梁の橋軸直角方向Yに沿って隣り合う床版と接続するための第2の床版継手装置1の継手構成部材(受部材2)を備え、第1の床版継手装置の継手構成部材及び第2の床版継手装置の継手構成部材は、辺縁面11と平行な一直線S上に位置するように設けられたことを特徴とする。
【選択図】図2
特許請求の範囲
【請求項1】
橋梁の橋軸方向及び橋軸直角方向に沿って並ぶように桁の上に設置されて床版継手装置により接続される四角形板状の鉄筋コンクリート製の床版であって、
四角形板状の床版の角縁を境界として隣り合う一方の辺縁面と他方の辺縁面とにおいて、一方の辺縁面の角縁近傍には、橋梁の橋軸方向に沿って隣り合う床版と接続するための第1の床版継手装置の継手構成部材を備えるとともに、他方の辺縁面の角縁近傍には、橋梁の橋軸直角方向に沿って隣り合う床版と接続するための第2の床版継手装置の継手構成部材を備え、
第1の床版継手装置の継手構成部材及び第2の床版継手装置の継手構成部材は、辺縁面と平行な一直線上に位置するように設けられたことを特徴とする床版。
続きを表示(約 1,500 文字)
【請求項2】
橋梁の橋軸方向及び橋軸直角方向に沿って並ぶように桁の上に設置されて床版継手装置により接続される四角形板状の鉄筋コンクリート製の床版であって、
四角形板状の床版の角縁を境界として隣り合う一方の辺縁面と他方の辺縁面とにおいて、一方の辺縁面の角縁近傍には、橋梁の橋軸方向に沿って隣り合う床版と接続するための第1の床版継手装置の継手構成部材を備えるとともに、他方の辺縁面の角縁近傍には、橋梁の橋軸直角方向に沿って隣り合う床版と接続するための第2の床版継手装置の継手構成部材を備え、
第1の床版継手装置の継手構成部材及び第2の床版継手装置の継手構成部材は、それぞれ、継手機能部と、当該継手機能部を床版のコンクリートに定着させるための定着部材とを備え、
第1の床版継手装置の継手構成部材は、定着部材が一方の辺縁面と直交する方向に延長するように設けられるとともに、第2の床版継手装置の継手構成部材は、定着部材が他方の辺縁面と直交する方向に延長するように設けられており、
第1の床版継手装置の継手構成部材及び第2の床版継手装置の継手構成部材は、定着部材同士が交差しないように配置されて、かつ、辺縁面と平行な一直線上に位置するように設けられたことを特徴とする床版。
【請求項3】
第1の床版継手装置の継手構成部材及び第2の床版継手装置の継手構成部材のうちの一方の継手構成部材は、第1の床版継手装置の継手構成部材及び第2の床版継手装置の継手構成部材のうちの他方の継手構成部材の定着部材の延長端の位置よりも前記角縁に近い位置に設けられたことを特徴とする請求項2に記載の床版。
【請求項4】
第1の床版継手装置の継手構成部材の継手機能部と第2の床版継手装置の継手構成部材の継手機能部とが、辺縁面と平行な一直線上に位置するように設けられたことを特徴とする請求項2に記載の床版。
【請求項5】
第1の床版継手装置の継手構成部材の定着部材及び第2の床版継手装置の継手構成部材の定着部材のうちの一方の定着部材は、第1の床版継手装置の継手構成部材の定着部材及び第2の床版継手装置の継手構成部材の定着部材のうちの他方の定着部材よりも長さが短いことを特徴とする請求項2に記載の床版。
【請求項6】
床版継手装置が、一方の床版に設けられる受部材と、他方の床版に設けられる受部材と、これら各受部材を繋ぐ繋ぎ部材とを備え、受部材は、繋ぎ部材が係合する被係合部と、当該被係合部を床版のコンクリートに定着させるための定着部材とを備えた構成である場合、前記継手構成部材が受部材であって前記継手機能部が被係合部であり、
床版継手装置が、一方の床版に設けられる受部材と、他方の床版に設けられた接続部材とを備えて構成され、受部材は、被係合部と、当該被係合部を床版のコンクリートに定着させるための定着部材とを備え、接続部材は、被係合部に係合する係合部と、当該係合部を床版のコンクリートに定着させるための定着部材とを備えた構成である場合、前記継手構成部材が受部材であって前記継手機能部が被係合部であるか、あるいは、前記継手構成部材が接続部材であって前記継手機能部が係合部であることを特徴とする請求項2乃至請求項5のいずれか一項に記載の床版。
【請求項7】
定着部材と床版内の鉄筋とが接続されたことを特徴とする請求項6に記載の床版。
【請求項8】
定着部材は、継手機能部に接続されて床版にプレストレストを付加する緊張材であることを特徴とする請求項6に記載の床版。
【請求項9】
定着部材は、継手機能部に接続された床版内の鉄筋であることを特徴とする請求項6に記載の床版。
発明の詳細な説明
【技術分野】
【0001】
本発明は、橋梁の橋軸方向及び橋軸直角方向に沿って並ぶように桁の上に設置されて床版継手装置により接続される四角形板状の鉄筋コンクリート製の床版に関する。
続きを表示(約 5,200 文字)
【背景技術】
【0002】
橋梁の桁の上に隣り合うように設置される一方の床版と他方の床版とを接続するためのコッター式継手と呼ばれるような床版継手装置が知られている(特許文献1,2参照)。
床版継手装置は、橋梁の桁の上に隣り合うように設置される一方の床版と他方の床版とを接続するための装置であって、一方の床版に設けられるC型金物と呼ばれるような継手構成部材としての受部材と、他方の床版に設けられるC型金物と呼ばれるような継手構成部材としての受部材と、これら各受部材をH型金物と呼ばれるような繋ぐ繋ぎ部材とを備えて構成される。
継手構成部材としての受部材は、係合凹部を有した継手機能部としての被係合部と、当該被係合部を床版のコンクリートに定着させるために当該床版のコンクリートに定着される定着部材とを備える。
繋ぎ部材は、一方の受部材の係合凹部に係合する一方の係合部と、他方の受部材の係合凹部に係合する他方の係合部と、一方の係合部と他方の係合部とを繋ぐ連結部とを備える。
また、橋梁に構築される道路の床版取替工事として、橋梁の橋軸直角方向Yを2等分して、走行車線用の床版を橋軸方向(車両進行方向)に沿って並べて接続する一期工事と、追越車線用の床版を橋軸方向(車両進行方向)Xに沿って並べて接続する二期工事とを分けて行う半断面施工(車線別床版取替工事)が知られている(特許文献2参照)。
当該半断面施工においては、橋軸直角方向に沿って延長することになる辺縁面側には当該辺縁面の長手方向に沿って所定の間隔を隔てて床版継手装置の受部材を備えるとともに、橋軸方向に沿って延長することになる辺縁面側には当該辺縁面の長手方向に沿って所定の間隔を隔てて床版継手装置の受部材を備えた床版を使用する。
【先行技術文献】
【特許文献】
【0003】
特開2018-159233号公報
特開2014-177767号公報
【発明の概要】
【発明が解決しようとする課題】
【0004】
特許文献2では、橋軸方向に沿って隣り合う床版同士を接続するための床版継手装置と橋軸直角方向に沿って隣り合う床版同士を接続するための床版継手装置とで同じ構成の床版継手装置を使用している。
従って、四角形板状の床版の角縁を境界として隣り合う一方の辺縁面と他方の辺縁面とにおいて、当該角縁の近傍に各受部材を設置した場合、各受部材の定着部材同士が接触するので、この場合、各受部材は、各受部材の定着部材同士が接触して干渉しないように、当該角縁から必要十分な離間距離を隔てて設置する必要があり、床版の角縁から受部材が設置される位置までの離間距離を長くしなければならなくなる。
しかしながら、床版の角縁から受部材(継手構成部材)が設置される位置までの離間距離を長くした場合、床版の角縁近傍部分にひび割れが生じ易くなり、床版の角縁近傍部分の耐久性、及び、耐荷力等が低下してしまう可能性があるという課題があった。
本発明は、上述した課題に鑑みて、床版の角縁から継手構成部材が設置される位置までの離間距離を短くできて、床版の角縁近傍部分(隅角部)のひび割れ抑制効果、耐久性、及び、耐荷力を向上させることできるように構成された床版を提供するものである。
【課題を解決するための手段】
【0005】
本発明に係る床版は、橋梁の橋軸方向及び橋軸直角方向に沿って並ぶように桁の上に設置されて床版継手装置により接続される四角形板状の鉄筋コンクリート製の床版であって、四角形板状の床版の角縁を境界として隣り合う一方の辺縁面と他方の辺縁面とにおいて、一方の辺縁面の角縁近傍には、橋梁の橋軸方向に沿って隣り合う床版と接続するための第1の床版継手装置の継手構成部材を備えるとともに、他方の辺縁面の角縁近傍には、橋梁の橋軸直角方向に沿って隣り合う床版と接続するための第2の床版継手装置の継手構成部材を備え、第1の床版継手装置の継手構成部材及び第2の床版継手装置の継手構成部材は、辺縁面と平行な一直線上に位置するように設けられたことを特徴とする。
また、本発明に係る床版は、橋梁の橋軸方向及び橋軸直角方向に沿って並ぶように桁の上に設置されて床版継手装置により接続される四角形板状の鉄筋コンクリート製の床版であって、四角形板状の床版の角縁を境界として隣り合う一方の辺縁面と他方の辺縁面とにおいて、一方の辺縁面の角縁近傍には、橋梁の橋軸方向に沿って隣り合う床版と接続するための第1の床版継手装置の継手構成部材を備えるとともに、他方の辺縁面の角縁近傍には、橋梁の橋軸直角方向に沿って隣り合う床版と接続するための第2の床版継手装置の継手構成部材を備え、第1の床版継手装置の継手構成部材及び第2の床版継手装置の継手構成部材は、それぞれ、継手機能部と、当該継手機能部を床版のコンクリートに定着させるための定着部材とを備え、第1の床版継手装置の継手構成部材は、定着部材が一方の辺縁面と直交する方向に延長するように設けられるとともに、第2の床版継手装置の継手構成部材は、定着部材が他方の辺縁面と直交する方向に延長するように設けられており、第1の床版継手装置の継手構成部材及び第2の床版継手装置の継手構成部材は、定着部材同士が交差しないように配置されて、かつ、辺縁面と平行な一直線上に位置するように設けられたことを特徴とする。
また、第1の床版継手装置の継手構成部材及び第2の床版継手装置の継手構成部材のうちの一方の継手構成部材は、第1の床版継手装置の継手構成部材及び第2の床版継手装置の継手構成部材のうちの他方の継手構成部材の定着部材の延長端の位置よりも前記角縁に近い位置に設けられたことを特徴とする。
また、第1の床版継手装置の継手構成部材の継手機能部と第2の床版継手装置の継手構成部材の継手機能部とが、辺縁面と平行な一直線上に位置するように設けられたことを特徴とする。
また、第1の床版継手装置の継手構成部材の定着部材及び第2の床版継手装置の継手構成部材の定着部材のうちの一方の定着部材は、第1の床版継手装置の継手構成部材の定着部材及び第2の床版継手装置の継手構成部材の定着部材のうちの他方の定着部材よりも長さが短いことを特徴とする。
また、床版継手装置が、一方の床版に設けられる受部材と、他方の床版に設けられる受部材と、これら各受部材を繋ぐ繋ぎ部材とを備え、受部材は、繋ぎ部材が係合する被係合部と、当該被係合部を床版のコンクリートに定着させるための定着部材とを備えた構成である場合、前記継手構成部材が受部材であって前記継手機能部が被係合部であり、床版継手装置が、一方の床版に設けられる受部材と、他方の床版に設けられた接続部材とを備えて構成され、受部材は、被係合部と、当該被係合部を床版のコンクリートに定着させるための定着部材とを備え、接続部材は、被係合部に係合する係合部と、当該係合部を床版のコンクリートに定着させるための定着部材とを備えた構成である場合、前記継手構成部材が受部材であって前記継手機能部が被係合部であるか、あるいは、前記継手構成部材が接続部材であって前記継手機能部が係合部であることを特徴とする。
本発明によれば、床版の角縁から継手構成部材が設置される位置までの離間距離を短くできるので、床版の角縁近傍部分(隅角部)のひび割れ抑制効果、耐久性、及び、耐荷力を向上させることできるように構成された床版を提供できるようになった。
また、定着部材と床版内の鉄筋とが接続されたことを特徴とする。
また、定着部材は、継手機能部に接続されて床版にプレストレストを付加する緊張材であることを特徴とする。
また、定着部材は、継手機能部に接続された床版内の鉄筋であることを特徴とする。
以上によれば、角縁近傍部分(隅角部)のひび割れ抑制効果、耐久性、及び、耐荷力を向上させることできるとともに、継手構成部材のコストを削減でき、経済的な床版を提供できるようになる。
【図面の簡単な説明】
【0006】
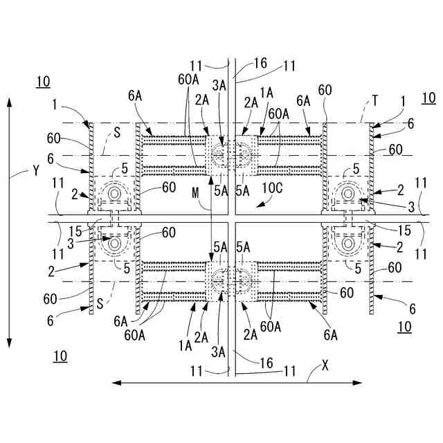
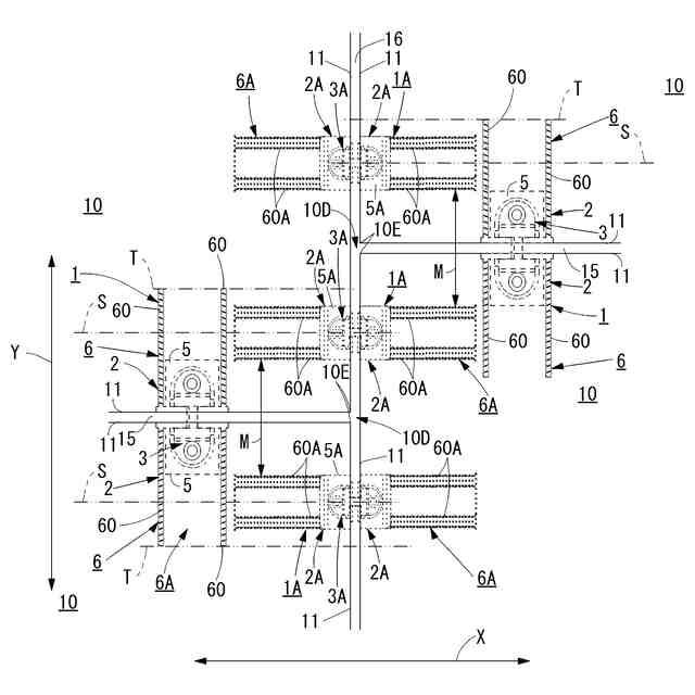
床版接合構造を示す平面図(実施形態1)。
床版接合構造における角縁隣接部を示す要部拡大平面図(実施形態1)。
床版の角縁近傍部における一方の受部材と他方の受部材との位置関係を示す斜視図(実施形態1)。
床版継手装置1を示す図であり、(a)は床版継手装置の分解斜視図、(b)は床版継手装置の斜視図(実施形態1)。
床版継手装置1Aを示す図であり、(a)は床版継手装置の分解斜視図、(b)は床版継手装置の斜視図(実施形態1)。
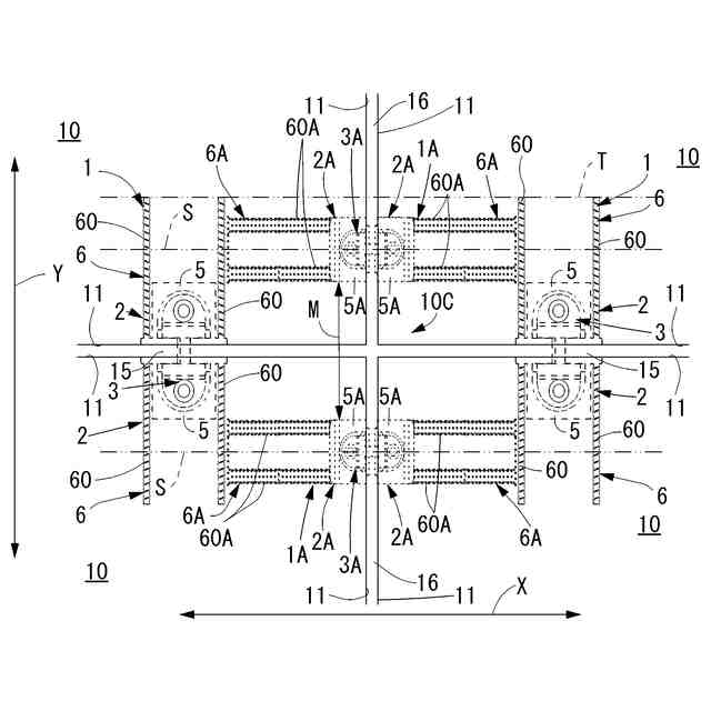
床版接合構造を示す平面図(実施形態2)。
床版接合構造における角縁隣接部を示す要部拡大平面図(実施形態2)。
床版を示す要部説明図(実施形態4)。
床版を示す要部説明図(実施形態5)。
床版を示す要部説明図(実施形態7)。
角縁近傍部に一方の受部材と他方の受部材とを備えた床版を示す平面図(実施形態8)。
角縁近傍部に一方の受部材と他方の受部材とを備えた床版を示す平面図(実施形態9)。
角縁近傍部に一体型受部材を備えた床版を示す平面図(実施形態10)。
床版を示す平面図(実施形態11)。
床版の角縁近傍部分を示す図(図14のA部拡大詳細図)(実施形態11)。
【発明を実施するための形態】
【0007】
実施形態1
図1に示すように、実施形態1に係る床版10は、橋梁の橋軸方向X及び橋軸直角方向Yに沿って並ぶように桁(図示せず)の上に設置されて床版継手装置により接続される四角形板状の鉄筋コンクリート製の床版である。
尚、鉄筋コンクリート製の床版とは、例えば、鉄筋、又は、PC鋼線、又は、鋼材、又は、これら鉄筋、鋼材、PC鋼線のうちの2つ以上を内蔵した床版である。
【0008】
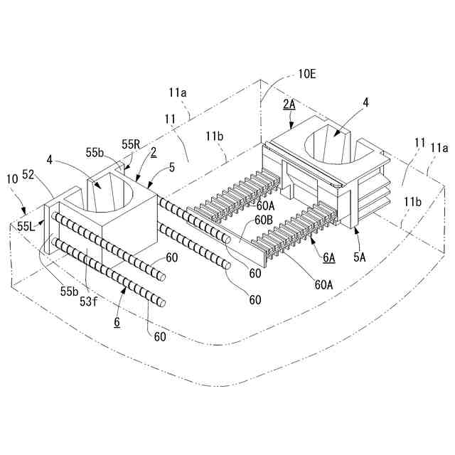
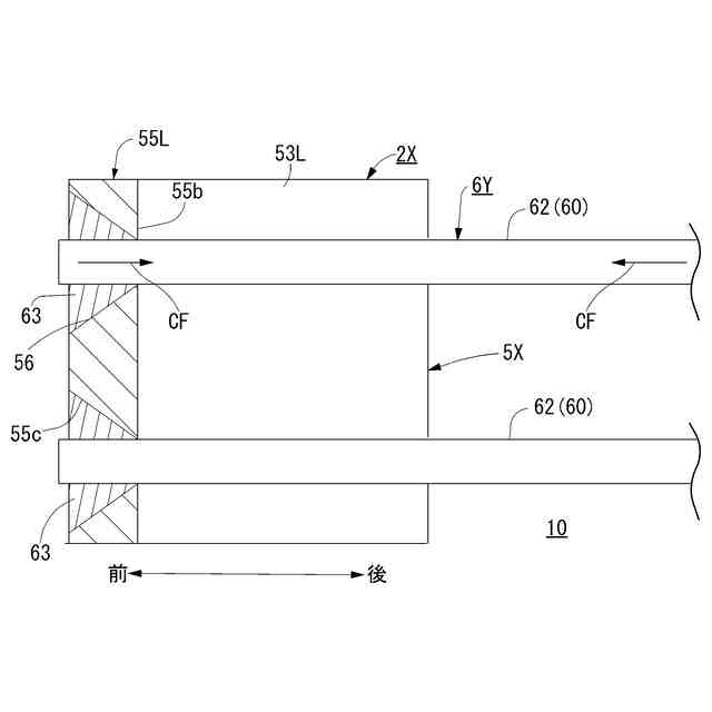
実施形態1に係る床版10は、例えば図2,図3に示すように、四角形板状の床版の角縁10Eを境界として隣り合う一方の辺縁面11と他方の辺縁面11とにおいて、一方の辺縁面11の角縁10Eの近傍には、橋梁の橋軸方向Xに沿って隣り合う床版と接続するための第1の床版継手装置としての床版継手装置1Aの継手構成部材としての受部材2Aを備えるとともに、他方の辺縁面11の角縁近傍には、橋梁の橋軸直角方向Yに沿って隣り合う床版と接続するための第2の床版継手装置としての床版継手装置1の継手構成部材としての受部材2を備える。
尚、図3に示すように、辺縁面11とは、床版10の角縁10Eと床版の上面の辺縁11aと下面の辺縁11bとで囲まれた面、換言すれば、床版の側面のことである。
【0009】
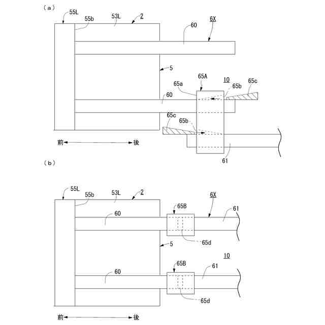
床版継手装置1Aの受部材2Aは、継手機能部としての被係合部5Aと、当該被係合部5Aを床版10のコンクリートに定着させるための定着部材60A,60Aとを備える。
床版継手装置1の受部材2は、継手機能部としての被係合部5と、当該被係合部5を床版10のコンクリートに定着させるための定着部材60,60とを備える。
床版継手装置1Aの受部材2Aは、定着部材60A,60Aが一方の辺縁面11と直交する方向に延長するように設けられるとともに、床版継手装置1の受部材2は、定着部材60,60が他方の辺縁面11と直交する方向に延長するように設けられている。
【0010】
そして、実施形態1に係る床版10は、一方の辺縁面11の角縁10Eの近傍に設けられた床版継手装置1Aの受部材2A及び他方の辺縁面11の角縁10Eの近傍に設けられた床版継手装置1の受部材2は、定着部材60Aと定着部材60とが交差しないように配置されて、かつ、他方の辺縁面11と平行な一直線S上に位置するように設けられ、さらに、床版継手装置1Aの受部材2A及び床版継手装置1の受部材2のうちの一方の受部材2Aは、床版継手装置1Aの受部材2A及び床版継手装置1の受部材2のうちの他方の受部材2の定着部材60,60の延長端の位置Tよりも角縁10Eに近い位置に設けられた構成とした。
尚、図2に示した床版10の場合、他方の辺縁面11と平行な一直線S上に、受部材2Aの継手機能部としての被係合部5Aと受部材2の定着部材60,60とが位置された構成とした。
(【0011】以降は省略されています)
この特許をJ-PlatPat(特許庁公式サイト)で参照する
関連特許
積水樹脂株式会社
カバー体
2日前
個人
掃除装置
2日前
株式会社熊谷組
床版
4日前
株式会社セイトク
防雪パネル
1か月前
株式会社パロマ
融雪装置
9日前
コスモテック株式会社
表示装置
1か月前
株式会社 林物産発明研究所
道路安全体
17日前
戸田建設株式会社
コンクリート構造
1か月前
戸田建設株式会社
鋼製ブラケットの取付装置
1か月前
戸田建設株式会社
鋼製ブラケットの取付装置
1か月前
西松建設株式会社
耐震補強方法
9日前
株式会社丸治コンクリート工業所
防護柵
11日前
株式会社川金コアテック
橋梁用鋼弾塑性ダンパー
25日前
個人
充填剤及びそれが充填された人工芝
9日前
鹿島建設株式会社
床版架設方法
1か月前
オリエンタル白石株式会社
補強鋼板及び排土方法
1か月前
鹿島建設株式会社
壁高欄の施工方法
10日前
宮地エンジニアリング株式会社
ワイヤブリッジの設置方法
1か月前
ダンレックス株式会社
表示装置
18日前
株式会社朝日設計事務所
床版橋の梁組合せ床版及び施工方法
9日前
酒井重工業株式会社
建設車両
2日前
鹿島建設株式会社
橋、および橋の製造方法
1か月前
ワールド開発工業株式会社
センサ用支持体およびロードローラー
3日前
愛知製鋼株式会社
磁気マーカの施工方法および施工用の補助工具
1か月前
清水建設株式会社
床版架設装置および床版架設方法
17日前
PUMP MAN株式会社
路面成型補助部材、及び、路面成型方法
1か月前
オリエンタル白石株式会社
馬蹄形ジベルの合成床版撤去工法
1か月前
公益財団法人鉄道総合技術研究所
レール締結用工具
2日前
ミネベアミツミ株式会社
冠水検出ユニット
4日前
日本製鉄株式会社
仮設橋による施工方法
17日前
個人
蓄光性の白色モルタル、その硬化体、及びその硬化体の耐候性強化方法。
2日前
花王株式会社
アスファルト添加剤組成物
3日前
花王株式会社
アスファルト添加剤組成物
3日前
株式会社安藤・間
橋梁健全度評価システム
1か月前
三井住友建設株式会社
床版揚重装置及び床版工事設備
1か月前
公益財団法人鉄道総合技術研究所
バラスト軌道つき固め装置及び方法
2日前
続きを見る
他の特許を見る