TOP
|
特許
|
意匠
|
商標
特許ウォッチ
Twitter
他の特許を見る
公開番号
2025144473
公報種別
公開特許公報(A)
公開日
2025-10-02
出願番号
2024044274
出願日
2024-03-19
発明の名称
折り畳み式標識具
出願人
個人
代理人
個人
主分類
E01F
13/02 20060101AFI20250925BHJP(道路,鉄道または橋りょうの建設)
要約
【課題】標識具の表示利用領域の増大を図り、かつ、簡易な機構で折り畳み状態を維持して運搬や保管を容易にする折り畳み式標識具を提供すること
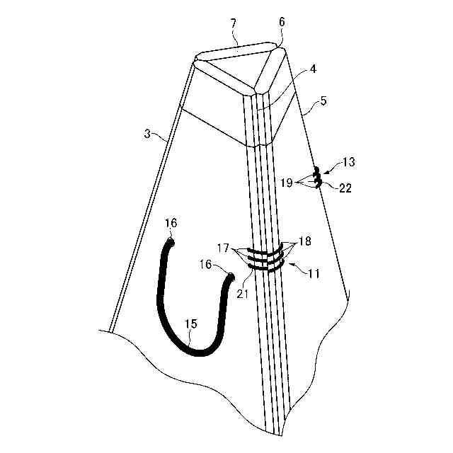
【解決手段】折り畳み式標識具1は、平板状であって略台形形状の第1部材3、第2部材5および第3部材7が連結されてなる。第1部材3と第2部材5は、第1の紐蝶番11によって連結され、第2部材5と第3部材7は、第2の紐蝶番22によって連結され、展開した状態で連結されている第1部材3、第2部材5および第3部材7の一方の面を第1の面、他方の面を第2の面として、第1の面および第2の面の何れか一方の面を第1標識面とし、他方の面を第2標識面とする使用形態に組み立てられる。
【選択図】図1
特許請求の範囲
【請求項1】
平板状であって略台形形状の第1部材、第2部材および第3部材が連結されてなる折り畳み式標識具であって、
前記第1部材と前記第2部材は、第1の蝶番によって連結され、
前記第2部材と前記第3部材は、第2の蝶番によって連結され、
展開した状態で連結されている前記第1部材、前記第2部材および前記第3部材の一方の面を第1の面、他方の面を第2の面として、前記第1の面および前記第2の面の何れか一方の面を第1標識面とし、他方の面を第2標識面とする使用形態に組み立てられる、
ことを特徴とする折り畳み式標識具。
続きを表示(約 2,300 文字)
【請求項2】
前記第1の蝶番および第2の蝶番は紐蝶番からなり、
前記第1の蝶番は、前記第1部材と前記第2部材を連結して、当該連結箇所を中心に前記第1部材と前記第2部材を相対的に360度回転可能に支持し、
前記第2の蝶番は、前記第2部材と前記第3部材を連結して、当該連結箇所を中心に前記第2部材と前記第3部材を相対的に360度回転可能に支持する、
ことを特徴とする請求項1に記載の折り畳み式標識具。
【請求項3】
前記第1の蝶番は一対の蝶番で構成され、一方の前記蝶番は前記第1部材と前記第2部材の上部側に設けられ、他方の前記蝶番は前記第1部材と前記第2部材の下部側に設けられ、
前記第2の蝶番は一対の蝶番で構成され、一方の前記蝶番は前記第2部材と前記第3部材の上部側に設けられ、他方の前記蝶番は前記第2部材と前記第3部材の下部側に設けられる、
ことを特徴とする請求項2に記載の折り畳み式標識具。
【請求項4】
前記第1部材には、当該第1部材と前記第2部材の連結辺上側近傍に第1の紐を挿し通すための第1の第1紐通し孔が高さ方向に沿って所定ピッチで複数穿設され、
前記第1部材には、当該第1部材と前記第2部材の連結辺下側近傍に第3の紐を挿し通すための第3の第1紐通し孔が高さ方向に沿って所定ピッチで複数穿設され、
前記第2部材には、前記第1部材と前記第2部材の連結辺上側近傍に前記第1の紐を挿し通すための第2の第1紐通し孔が高さ方向に沿って所定ピッチで複数穿設され、
前記第2部材には、前記第1部材と前記第2部材の連結辺下側近傍に前記第3の紐を挿し通すための第4の第1紐通し孔が高さ方向に沿って所定ピッチで複数穿設され、
前記第2部材には、前記第2部材と前記第3部材の連結辺上側近傍に第2の紐を挿し通すための第1の第2紐通し孔が高さ方向に沿って所定ピッチで複数穿設され、
前記第2部材には、前記第2部材と前記第3部材の連結辺下側近傍に第4の紐を挿し通すための第3の第2紐通し孔が高さ方向に沿って所定ピッチで複数穿設され、
前記第3部材には、前記第2部材と前記第3部材の連結辺上側近傍に前記第2の紐を挿し通すための第2の第2紐通し孔が高さ方向に沿って所定ピッチで複数穿設され、
前記第3部材には、前記第2部材と前記第3部材の連結辺下側近傍に前記第4の紐を挿し通すための第4の第2紐通し孔が高さ方向に沿って所定ピッチで複数穿設され、
前記第1の第1紐通し孔と前記第2の第1紐通し孔に前記第1の紐を交互に挿し通しながら前記第1部材と前記第2部材に掛け渡し、前記第3の第1紐通し孔と前記第4の第1紐通し孔に前記第3の紐を交互に挿し通しながら前記第1部材と前記第2部材に掛け渡して前記一対の第1の蝶番が構成され、
前記第1の第2紐通し孔と前記第2の第2紐通し孔に前記第2の紐を交互に挿し通しながら前記第2部材と前記第3部材に掛け渡し、前記第3の第2紐通し孔と前記第4の第2紐通し孔に前記第3の紐を交互に挿し通しながら前記第2部材と前記第3部材に掛け渡して前記一対の第2の蝶番が構成される、
ことを特徴とする請求項3に記載の折り畳み式標識具。
【請求項5】
前記第1部材、前記第2部材および第3部材は木材で形成され、
前記第1部材、前記第2部材および前記第3部材のそれぞれは、部材本体と、前記部材本体の上側に連結された上側分割部材と、前記部材本体の下側に連結された下側分割部材とが連結されてなり、
前記部材本体、前記上側分割部材および前記下側分割部材においては、前記部材本体の木目の方向と前記上側分割部材の木目の方向が異なるように木材が用いられ、前記部材本体の木目の方向と前記下側分割部材の木目の方向が異なるように木材が用いられる、
ことを特徴とする請求項1又は2に記載の折り畳み式標識具。
【請求項6】
前記第1部材、前記第2部材および前記第3部材のいずれかの上部近傍に固定用紐通し孔が幅方向に所定の間隔をおいて2つ穿設され、
標識使用形態に組み立てられた状態において、前記第1部材、前記第2部材および前記第3部材に掛け回すための伸縮性のある固定用紐が少なくとも2つの前記固定用紐通し孔を介して取り付けられている、
ことを特徴とする請求項1又は2に記載の折り畳み式標識具。
【請求項7】
前記第1部材、前記第2部材および前記第3部材のいずれかの上部近傍に固定用紐通し孔が幅方向に所定の間隔をおいて2つ穿設され、
前記第1部材、前記第2部材および前記第3部材を折り畳んだ状態において、前記第1部材、前記第2部材および前記第3部材に掛け回すための伸縮性のある固定用紐が少なくとも2つの前記固定用紐通し孔を介して取り付けられている、
ことを特徴とする請求項1又は2に記載の折り畳み式標識具。
【請求項8】
展開状態において左側の部材を前記第1部材とし、右側の部材を前記第3部材とし、前記第1部材と前記第3部材の間に配置される中央の部材を前記第2部材とした場合、前記第1部材の側面の中央近傍に第1突起部が立設され、前記第3部材の側面の中央近傍であって前記第3部材の高さ方向
に沿って所定間隔をおいて、第2突起部が2つ立設され、
組み立て状態において2つの前記第2突起部の間に前記第1突起部が挟持される、
ことを特徴とする請求項1又は2に記載の折り畳み式標識具。
発明の詳細な説明
【技術分野】
【0001】
本発明は、折り畳み標識具に関する。
続きを表示(約 2,400 文字)
【背景技術】
【0002】
交通事故の検証現場や交通取締りの検問現場に並べ置かれる交通規制標識や、道路工事、電線工事、建設工事等の工事現場に並べ置かれる区画標識としては、全体が赤色等の着色プラスチックで一体成形されたコーン標識具が一般的に普及している。この普及品のコーン標識具は、四角いベース上に円錐形のコーン本体が突設された形態を有する。
【0003】
このように全体がプラスチックで一体成形されたコーン標識具は、運搬や保管が不便であるという欠点があった。このような事情に鑑みて、折り畳んだときに運搬や保管に便利な偏平状態になる折り畳み式のコーン標識具が知られている(以下の特許文献1参照)。
【先行技術文献】
【特許文献】
【0004】
特開平10-102445号公報
【発明の概要】
【発明が解決しようとする課題】
【0005】
上記した従来技術に係るコーン標識具は、工事現場等の区画標識として機能し、かつ運搬や保管に便利な折り畳み式であるが、コーン標識具の本来の機能、すなわち工事現場に並べ置かれる区画標識としての機能以外にも、例えば店舗の入り口やショッピングモールの中の飲食店への案内標識として利用したいという需要がある。この場合、案内情報はできる限り多く掲載できることが望ましいが、通常、三角錐体や四角錐台の場合内周面には表示しないので表示可能な領域は組み立て後の外周面部分だけである。
【0006】
そこで、本発明は、標識具の表示利用領域の増大を図り、かつ、簡易な機構で折り畳み状態を維持して運搬や保管を容易にする折り畳み式標識具を提供することを目的とする。
【課題を解決するための手段】
【0007】
[1]本発明に係る折り畳み式標識具は、平板状であって略台形形状の第1部材(第1面部)、第2部材(第2面部)および第3部材(第3面部)が連結されてなる。第1部材と第2部材は、第1の蝶番によって連結され、前記第2部材と前記第3部材は、第2の蝶番によって連結されている。折り畳み式標識具は、展開した状態で連結されている前記第1部材、前記第2部材および前記第3部材の一方の面を第1の面、他方の面を第2の面として、前記第1の面および前記第2の面の何れか一方の面を第1標識面とし、他方の面を第2標識面とする使用形態に組み立てられる。
【0008】
[2]本発明に係る折り畳み式標識具においては、前記第1の蝶番および第2の蝶番は紐蝶番からなり、前記第1の蝶番は、前記第1部材と前記第2部材を連結して、当該連結箇所を中心に前記第1部材と前記第2部材を相対的に360度回転可能に支持し、前記第2の蝶番は、前記第2部材と前記第3部材を連結して、当該連結箇所を中心に前記第2部材と前記第3部材を相対的に360度回転可能に支持する、
ことが好ましい。
【0009】
[3]本発明に係る折り畳み式標識具においては、前記第1の蝶番は一対の蝶番で構成され、一方の前記蝶番は前記第1部材と前記第2部材の上部側に設けられ、他方の前記蝶番は前記第1部材と前記第2部材の下部側に設けられ、
前記第2の蝶番は一対の蝶番で構成され、一方の前記蝶番は前記第2部材と前記第3部材の上部側に設けられ、他方の前記蝶番は前記第2部材と前記第3部材の下部側に設けられる、
ことが好ましい。
【0010】
[4]
本発明に係る折り畳み式標識具においては、前記第1部材には、当該第1部材と前記第2部材の連結辺上側近傍に第1の紐を挿し通すための第1の第1紐通し孔が高さ方向に沿って所定ピッチで複数穿設され、
前記第1部材には、当該第1部材と前記第2部材の連結辺下側近傍に第3の紐を挿し通すための第3の第1紐通し孔が高さ方向に沿って所定ピッチで複数穿設され、前記第2部材には、前記第1部材と前記第2部材の連結辺上側近傍に前記第1の紐を挿し通すための第2の第1紐通し孔が高さ方向に沿って所定ピッチで複数穿設され、
前記第2部材には、前記第1部材と前記第2部材の連結辺下側近傍に前記第3の紐を挿し通すための第4の第1紐通し孔が高さ方向に沿って所定ピッチで複数穿設され、
前記第2部材には、前記第2部材と前記第3部材の連結辺上側近傍に第2の紐を挿し通すための第1の第2紐通し孔が高さ方向に沿って所定ピッチで複数穿設され、
前記第2部材には、前記第2部材と前記第3部材の連結辺下側近傍に第4の紐を挿し通すための第3の第2紐通し孔が高さ方向に沿って所定ピッチで複数穿設され、
前記第3部材には、前記第2部材と前記第3部材の連結辺上側近傍に前記第2の紐を挿し通すための第2の第2紐通し孔が高さ方向に沿って所定ピッチで複数穿設され、
前記第3部材には、前記第2部材と前記第3部材の連結辺下側近傍に前記第4の紐を挿し通すための第4の第2紐通し孔が高さ方向に沿って所定ピッチで複数穿設され、
前記第1の第1紐通し孔と前記第2の第1紐通し孔に前記第1の紐を交互に挿し通しながら前記第1部材と前記第2部材に掛け渡し、前記第3の第1紐通し孔と前記第4の第1紐通し孔に前記第3の紐を交互に挿し通しながら前記第1部材と前記第2部材に掛け渡して前記一対の第1の蝶番が構成され、
前記第1の第2紐通し孔と前記第2の第2紐通し孔に前記第2の紐を交互に挿し通しながら前記第2部材と前記第3部材に掛け渡し、前記第3の第2紐通し孔と前記第4の第2紐通し孔に前記第3の紐を交互に挿し通しながら前記第2部材と前記第3部材に掛け渡して前記一対の第2の蝶番が構成される
ことが好ましい。
(【0011】以降は省略されています)
この特許をJ-PlatPat(特許庁公式サイト)で参照する
関連特許
株式会社熊谷組
床版
28日前
株式会社熊谷組
床版
28日前
白出商事株式会社
縁石銘板(名板)
1か月前
株式会社セイトク
防雪パネル
20日前
株式会社ササキコーポレーション
作業機
27日前
株式会社NIPPO
斜面用ローラ
29日前
株式会社NIPPO
距離補正装置
28日前
株式会社NIPPO
斜面用ローラ
29日前
戸田建設株式会社
コンクリート構造
10日前
株式会社NIPPO
切削用制御装置
28日前
三信工業株式会社
床版架設装置
27日前
桑名金属工業株式会社
融雪マットおよび融雪方法
27日前
戸田建設株式会社
鋼製ブラケットの取付装置
10日前
戸田建設株式会社
鋼製ブラケットの取付装置
10日前
東亜グラウト工業株式会社
防護柵の支柱構造
28日前
西尾レントオール株式会社
コーンベット型電源装置
22日前
日鉄神鋼建材株式会社
補強金具、及び支柱取付構造
28日前
株式会社NIPPO
アスファルトスタッカ制御装置
29日前
株式会社NIPPO
バンク用建設機械サポータ装置
29日前
鹿島建設株式会社
床版架設方法
13日前
日立建機株式会社
転圧機械
28日前
日鉄建材株式会社
吊り材で支持された足場用床パネル
27日前
株式会社日本コンポジット工業
壁用構造体
27日前
オリエンタル白石株式会社
補強鋼板及び排土方法
20日前
三井住友建設株式会社
床版拡幅工法
29日前
宮地エンジニアリング株式会社
ワイヤブリッジの設置方法
16日前
株式会社NIPPO
コンクリートスタッカ
1か月前
鹿島建設株式会社
橋、および橋の製造方法
21日前
株式会社プロテックエンジニアリング
衝撃吸収柵
23日前
東日本旅客鉄道株式会社
横取り方法
1か月前
愛知製鋼株式会社
磁気マーカの施工方法および施工用の補助工具
今日
株式会社NIPPO
スコップ加熱器
27日前
オリエンタル白石株式会社
馬蹄形ジベルの合成床版撤去工法
14日前
株式会社NIPPO
土壌改質材及びそれを含む土壌
28日前
日本製鉄株式会社
橋脚構造
27日前
三井住友建設株式会社
床版揚重装置及び床版工事設備
9日前
続きを見る
他の特許を見る