TOP
|
特許
|
意匠
|
商標
特許ウォッチ
Twitter
他の特許を見る
公開番号
2025164233
公報種別
公開特許公報(A)
公開日
2025-10-30
出願番号
2024068055
出願日
2024-04-19
発明の名称
プレストレストコンクリート構造物とその施工方法
出願人
三井住友建設株式会社
,
西日本高速道路株式会社
代理人
個人
,
個人
主分類
E01D
19/12 20060101AFI20251023BHJP(道路,鉄道または橋りょうの建設)
要約
【課題】複数のセグメントと緊張材とを備え、セグメントの補強が簡略化可能なプレストレストコンクリート構造物を提供する。
【解決手段】プレストレストコンクリート構造物1は、X方向に配列する第1及び第2のセグメント21、22と、第1及び第2のセグメント21、22にX方向の圧縮力を付与する緊張材4と、を有している。緊張材4はX方向に対して傾斜する傾斜部41を有し、第1及び第2のセグメント21、22は傾斜部41を収容する貫通孔5を有している。
【選択図】図2
特許請求の範囲
【請求項1】
第1の方向に配列する第1及び第2のセグメントと、
前記第1及び第2のセグメントに前記第1の方向の圧縮力を付与する緊張材と、を有し、
前記緊張材は前記第1の方向に対して傾斜する傾斜部を有し、
前記第1及び第2のセグメントは前記傾斜部を収容する貫通孔を有する、プレストレストコンクリート構造物。
続きを表示(約 1,100 文字)
【請求項2】
前記第1のセグメントは、厚さが一定の第1の本体部と、前記第1の本体部から下方に突き出す第1の突出部と、を有し、
前記第2のセグメントは、厚さが一定の第2の本体部と、前記第2の本体部から下方に突き出す第2の突出部と、を有し、
前記第1の突出部と前記第2の突出部は間詰材を介して前記第1の方向に互いに隣接し、
前記貫通孔は、少なくとも前記第1の突出部を通る第1の孔と、少なくとも前記第2の本体部を通る第2の孔と、を有する、請求項1に記載のプレストレストコンクリート構造物。
【請求項3】
前記第1の突出部の前記第1の方向の長さは前記第1の本体部の前記第1の方向の長さの2/3程度以下である、請求項2に記載のプレストレストコンクリート構造物。
【請求項4】
前記第1の孔は前記第1のセグメントを直線状に延び、前記第2の孔は前記第2のセグメントを湾曲して延びる、請求項2に記載のプレストレストコンクリート構造物。
【請求項5】
前記第1のセグメントは、前記第1の方向からみて複数の曲げ部を有する複数の第1の補強材を有し、
前記第2のセグメントは、前記第1の方向からみて複数の曲げ部を有する複数の第2の補強材を有し、
前記複数の第1の補強材と前記複数の第2の補強材は繊維強化プラスチックからなり、
前記複数の第1の補強材は同じ高さを有し、前記複数の第2の補強材は同じ高さを有し、
前記第1の突出部は前記第1の方向に一定の厚さを有し、前記第2の突出部は前記第1の方向に前記第1の突出部よりも小さい一定の厚さを有する、請求項2に記載のプレストレストコンクリート構造物。
【請求項6】
前記傾斜部の前記第1の方向に対する平均角度は10度未満である、請求項1から5のいずれか1項に記載のプレストレストコンクリート構造物。
【請求項7】
前記第1のセグメントと前記第2のセグメントは、繊維補強コンクリートと、繊維強化プラスチックの補強材と、を有する、請求項1から5のいずれか1項に記載のプレストレストコンクリート構造物。
【請求項8】
前記第1及び第2のセグメントは床版である、請求項1から5のいずれか1項に記載のプレストレストコンクリート構造物。
【請求項9】
第1及び第2のセグメントを第1の方向に配置することと、
緊張材によって、前記第1及び第2のセグメントに前記第1の方向の圧縮力を付与することと、を有し、
前記緊張材は前記第1の方向に対して傾斜する傾斜部を有し、
前記第1及び第2のセグメントは前記傾斜部を収容する貫通孔を有する、プレストレストコンクリート構造物の施工方法。
発明の詳細な説明
【技術分野】
【0001】
本発明は、プレストレストコンクリート構造物とその施工方法に関する。
続きを表示(約 2,000 文字)
【背景技術】
【0002】
橋梁などに用いられる床版においては、床版の配列方向(橋梁の場合は橋軸方向)に圧縮力(プレストレス)を掛けることがよく行われる。この際、緊張材を全ての床版を貫通するように設けるのではなく、一部の連続する床版だけを貫通するように設けることがある。特許文献1には、床版の下部に突出部を設け、突出部に緊張材を配置した床版が記載されている。緊張材は突出部で曲げられ、緊張材の定着部は突出部の側面に設けられる。突出部の設けられた床版に隣接する床版は実質的に厚さが一定であり、この隣接する床版において緊張材は水平方向に延びている。従って、緊張材の、床版の配列方向に対して傾斜した傾斜部は一つの床版だけに収容されている。
【先行技術文献】
【特許文献】
【0003】
特開2020-200730号公報
【発明の概要】
【発明が解決しようとする課題】
【0004】
緊張材の傾斜部を収容した床版には緊張力が斜めに掛かる。従って、傾斜部を収容した床版には上下方向の引張力が生じる。この引張力の大きさは概ね傾斜部の平均的な傾斜角度に比例するため、床版の配列方向の寸法を大きくして傾斜角度を小さくすることで引張力を抑えることができる。しかし、床版の配列方向の寸法は、床版の移送や据付上の制約から十分に確保することが難しい場合がある。このため、特許文献1に記載された床版では上下方向の引張力を抑えることが難しく、引張力に耐えるための補強構造が複雑となる。同様の課題はプレストレスが掛かる床版以外のコンクリート製セグメントにも存在する。
【0005】
本発明は、複数のセグメントと緊張材とを備え、セグメントの補強が簡略化可能なプレストレストコンクリート構造物を提供することを目的とする。
【課題を解決するための手段】
【0006】
本発明のプレストレストコンクリート構造物は、第1の方向に配列する第1及び第2のセグメントと、第1及び第2のセグメントに第1の方向の圧縮力を付与する緊張材と、を有している。緊張材は前記第1の方向に対して傾斜する傾斜部を有し、第1及び第2のセグメントは傾斜部を収容する貫通孔を有している。
【発明の効果】
【0007】
本発明によれば、複数のセグメントと緊張材とを備え、セグメントの補強が簡略化可能なプレストレストコンクリート構造物を提供することができる。
【図面の簡単な説明】
【0008】
本発明の一実施形態に係るプレストレストコンクリート構造物を示す概念図である。
第2の緊張材の敷設範囲におけるプレストレストコンクリート構造物を示す概念図である。
図2のA部の拡大図である。
図2のA部の断面図である。
比較例のプレストレストコンクリート構造物を示す概念図である。
プレストレストコンクリート構造物の施工手順を示す概念図である。
【発明を実施するための形態】
【0009】
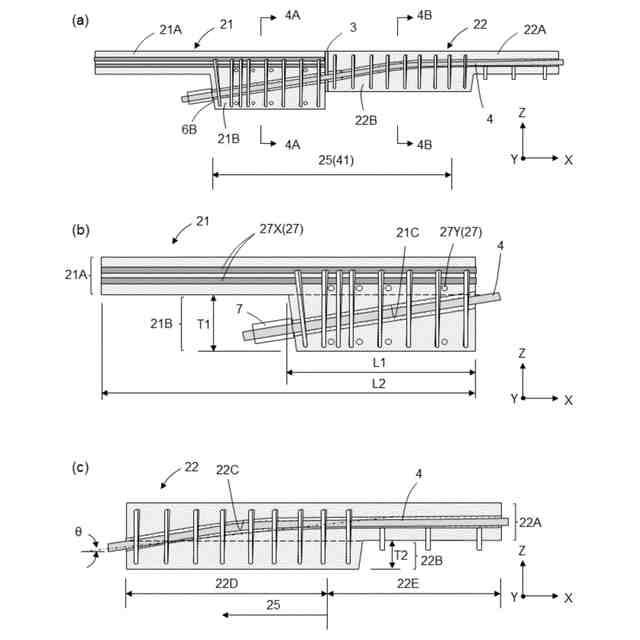
図面を参照して本発明のプレストレストコンクリート構造物とその施工方法の実施形態について説明する。以下に述べる実施形態は橋梁等における床版を対象とするが、本発明は橋梁等における床版の架替工事及び新設工事のほか、プレストレスコンクリート橋の新設工事、橋梁における補修工事や補強工事にも適用することができる。以下の説明及び図面において、橋梁の橋軸方向ないし床版の配列方向を第1の方向XまたはX方向といい、橋梁の幅方向ないし橋軸直交方向を第2の方向YまたはY方向といい、X方向及びY方向と直交する方向を第3の方向ZまたはZ方向という。X方向とY方向は水平方向であるが、水平方向から多少傾斜していてもよく、Z方向は鉛直方向であるが、鉛直方向から多少傾斜していてもよい。
【0010】
図1は橋梁における床版の配置を示す概念図である。橋梁200は、鉄筋コンクリート製の複数の橋脚201と、支承202を介して橋脚201に支持された複数の鉄骨梁203と、複数の鉄骨梁203に支持されたコンクリート製の複数の床版2と、を有している。複数の橋脚201はX方向に配列し、複数の鉄骨梁203はY方向に配列し、複数の床版2は間詰材3を介してX方向に配列している。床版2の上面にはアスファルトなどの舗装部(図示せず)が形成される。床版2は現場で施工することも可能であるが、通常は工場で生産される。複数の床版2は床版相互の継手構造にプレストレス力を用いるプレストレストコンクリート構造物(以下、構造物1という)の一部を構成する。
(【0011】以降は省略されています)
この特許をJ-PlatPat(特許庁公式サイト)で参照する
関連特許
積水樹脂株式会社
カバー体
1日前
個人
掃除装置
1日前
株式会社熊谷組
床版
3日前
株式会社セイトク
防雪パネル
1か月前
株式会社パロマ
融雪装置
8日前
コスモテック株式会社
表示装置
29日前
株式会社 林物産発明研究所
道路安全体
16日前
戸田建設株式会社
コンクリート構造
1か月前
戸田建設株式会社
鋼製ブラケットの取付装置
1か月前
戸田建設株式会社
鋼製ブラケットの取付装置
1か月前
西松建設株式会社
耐震補強方法
8日前
株式会社丸治コンクリート工業所
防護柵
10日前
株式会社川金コアテック
橋梁用鋼弾塑性ダンパー
24日前
個人
充填剤及びそれが充填された人工芝
8日前
鹿島建設株式会社
床版架設方法
1か月前
オリエンタル白石株式会社
補強鋼板及び排土方法
1か月前
鹿島建設株式会社
壁高欄の施工方法
9日前
宮地エンジニアリング株式会社
ワイヤブリッジの設置方法
1か月前
ダンレックス株式会社
表示装置
17日前
株式会社朝日設計事務所
床版橋の梁組合せ床版及び施工方法
8日前
酒井重工業株式会社
建設車両
1日前
鹿島建設株式会社
橋、および橋の製造方法
1か月前
ワールド開発工業株式会社
センサ用支持体およびロードローラー
2日前
愛知製鋼株式会社
磁気マーカの施工方法および施工用の補助工具
1か月前
清水建設株式会社
床版架設装置および床版架設方法
16日前
PUMP MAN株式会社
路面成型補助部材、及び、路面成型方法
29日前
オリエンタル白石株式会社
馬蹄形ジベルの合成床版撤去工法
1か月前
公益財団法人鉄道総合技術研究所
レール締結用工具
1日前
ミネベアミツミ株式会社
冠水検出ユニット
3日前
日本製鉄株式会社
仮設橋による施工方法
16日前
個人
蓄光性の白色モルタル、その硬化体、及びその硬化体の耐候性強化方法。
1日前
花王株式会社
アスファルト添加剤組成物
2日前
花王株式会社
アスファルト添加剤組成物
2日前
株式会社安藤・間
橋梁健全度評価システム
1か月前
三井住友建設株式会社
床版揚重装置及び床版工事設備
1か月前
公益財団法人鉄道総合技術研究所
バラスト軌道つき固め装置及び方法
1日前
続きを見る
他の特許を見る