TOP
|
特許
|
意匠
|
商標
特許ウォッチ
Twitter
他の特許を見る
10個以上の画像は省略されています。
公開番号
2025175642
公報種別
公開特許公報(A)
公開日
2025-12-03
出願番号
2024081850
出願日
2024-05-20
発明の名称
冠水検出ユニット
出願人
ミネベアミツミ株式会社
代理人
弁理士法人NYTパートナーズ
主分類
E01C
11/22 20060101AFI20251126BHJP(道路,鉄道または橋りょうの建設)
要約
【課題】低コストで冠水を検出することができる冠水検出ユニットを提供する。
【解決手段】冠水検出ユニット1は、冠水計11と、前記冠水計11を保持するブラケット12と、を有するセンサユニット2を備える。前記センサユニット2は、車道50と歩道51との間の段差に形成される段差面52bに設置される。
【選択図】図7
特許請求の範囲
【請求項1】
冠水計と、前記冠水計を保持するブラケットと、を有するセンサユニットを備え、
前記センサユニットは、車道と歩道との間の段差に形成される段差面に設置される、冠水検出ユニット。
続きを表示(約 760 文字)
【請求項2】
前記ブラケットは、高さ方向に延びるスリットを有し、
前記冠水計は、前記スリットに高さ調整可能に取り付けられる、請求項1に記載の冠水検出ユニット。
【請求項3】
前記冠水計は第1冠水計及び第2冠水計を有し、前記スリットは第1スリット及び第2スリットを有し、
前記第1冠水計は前記第1スリットに高さ調整可能に取り付けられ、
前記第2冠水計は前記第2スリットに高さ調整可能に取り付けられる、請求項2に記載の冠水検出ユニット。
【請求項4】
前記第1冠水計は前記第2冠水計と異なる高さに保持される、請求項3に記載の冠水検出ユニット。
【請求項5】
前記冠水計の情報を外部機器に送信可能な無線ユニットを備える、請求項1に記載の冠水検出ユニット。
【請求項6】
前記無線ユニットは、前記歩道の前記車道側の縁部に配置される縁石の上面に設置される、請求項5に記載の冠水検出ユニット。
【請求項7】
前記無線ユニットは、無線通信のための無線ボックスと、前記無線ボックスを収容するハウジングと、を有する、請求項5又は6に記載の冠水検出ユニット。
【請求項8】
前記ハウジングは、前記無線ボックス内のアンテナに対応する位置に切り欠きを有する、請求項7に記載の冠水検出ユニット。
【請求項9】
前記ハウジングは、前記段差面よりも前記車道側に突出して、前記ブラケットの一部を収容する、請求項7に記載の冠水検出ユニット。
【請求項10】
前記ハウジングに対する前記ブラケットの高さ位置を調整可能である、請求項9に記載の冠水検出ユニット。
(【請求項11】以降は省略されています)
発明の詳細な説明
【技術分野】
【0001】
本発明は、冠水検出ユニットに関する。
続きを表示(約 1,700 文字)
【背景技術】
【0002】
例えば特許文献1には、歩道と車道との間の境界に設置される縁石内に水位計を組み込んだ技術が開示されている。この技術によれば、道路の冠水や浸水を検出することができる。
【先行技術文献】
【特許文献】
【0003】
特表2021-509454号公報
【発明の概要】
【発明が解決しようとする課題】
【0004】
この技術では、縁石自体に水位計を組み込むので、当該縁石の設置にあたって、道路に設置された従来の縁石を除去する等の施工が必要である。したがって、水位計を組み込んだ縁石の設置にはコストがかかる。
【0005】
そこで、本発明は、低コストで冠水を検出することができる冠水検出ユニットを提供することを目的とする。
【課題を解決するための手段】
【0006】
本発明の一態様に係る冠水検出ユニットは、冠水計と、前記冠水計を保持するブラケットと、を有するセンサユニットを備え、前記センサユニットは、車道と歩道との間の段差に形成される段差面に設置される。
【発明の効果】
【0007】
本発明によれば、低コストで冠水を検出することができる冠水検出ユニットを提供することができる。
【図面の簡単な説明】
【0008】
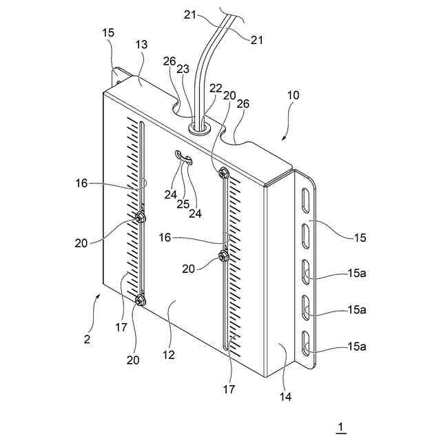
本発明の冠水検出ユニット1を構成するセンサユニット2の構造を概略的に示す表側から見た斜視図である。
本発明の冠水検出ユニット1を構成するセンサユニット2の構造を概略的に示す裏側から見た斜視図である
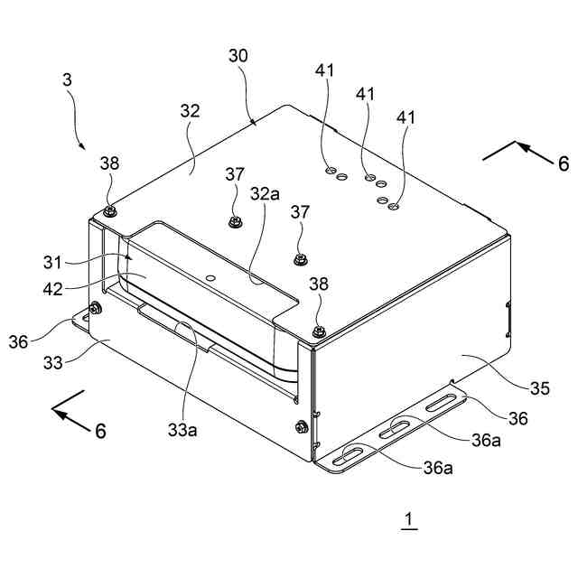
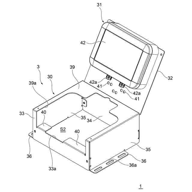
本発明の冠水検出ユニット1を構成する無線ユニット3の構造を概略的に示す上側から見た斜視図である。
本発明の冠水検出ユニット1を構成する無線ユニット3の構造を概略的に示す下側から見た斜視図である。
一具体例に係る無線ユニット3を展開した状態を示す斜視図である。
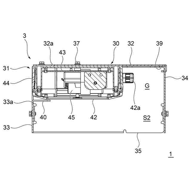
図3の6-6線に沿った断面図である。
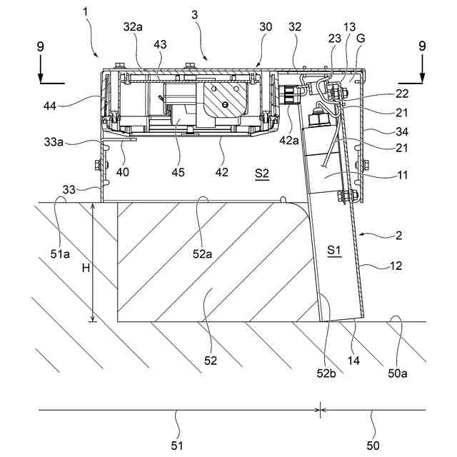
本発明の一実施形態に係る冠水検出ユニット1の使用態様を説明する斜視図である。
図7の8-8線に沿った断面図である。
図8の9-9線に沿った断面図である。
図8に対応し、冠水検出ユニット1の他の使用態様を説明するための断面図である。
図8に対応し、冠水検出ユニット1のさらに他の使用態様を説明するための断面図である。
図8に対応し、冠水検出ユニット1のさらに他の使用態様を説明するための断面図である。
【発明を実施するための形態】
【0009】
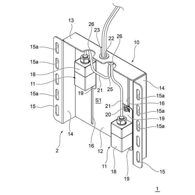
以下、添付図面を参照して、本発明の一実施形態について説明する。図1は、本発明の冠水検出ユニット1を構成するセンサユニット2の構造を概略的に示す表側から見た斜視図である。図2は、センサユニット2の構造を概略的に示す裏側から見た斜視図である。冠水検出ユニット1は、後述するように、車道と歩道との間に設置されて、車道の冠水を検出するように構成される。図1及び図2を併せて参照すると、一具体例に係るセンサユニット2は、例えば平たい直方体の外形を有するブラケット10と、ブラケット10に保持される1以上の冠水計11と、を有している。
【0010】
ブラケット10は、平板状の前板12と、前板12の上辺から折れ曲がる上板13と、前板12の1対の側辺から折れ曲がる1対の側板14、14と、を有している。この例では、前板12、上板13及び1対の側板14、14によって概ね直方体の収容空間S1が形成される。前板12の下辺には下板は形成されない。また、ブラケット10は、前板12に対応する後板を有していない。その結果、収容空間S1の下面及び背面は開放されている。この例では、上板13は前板12に概ね90度の角度で交差する。同様に、1対の側板14、14は前板12及び上板13に概ね90度の角度で交差する。
(【0011】以降は省略されています)
この特許をJ-PlatPat(特許庁公式サイト)で参照する
関連特許
株式会社熊谷組
床版
1日前
株式会社セイトク
防雪パネル
1か月前
株式会社パロマ
融雪装置
6日前
コスモテック株式会社
表示装置
27日前
株式会社ササキコーポレーション
作業機
1か月前
株式会社 林物産発明研究所
道路安全体
14日前
戸田建設株式会社
コンクリート構造
1か月前
三信工業株式会社
床版架設装置
1か月前
桑名金属工業株式会社
融雪マットおよび融雪方法
1か月前
戸田建設株式会社
鋼製ブラケットの取付装置
1か月前
西松建設株式会社
耐震補強方法
6日前
戸田建設株式会社
鋼製ブラケットの取付装置
1か月前
株式会社丸治コンクリート工業所
防護柵
8日前
株式会社川金コアテック
橋梁用鋼弾塑性ダンパー
22日前
個人
充填剤及びそれが充填された人工芝
6日前
西尾レントオール株式会社
コーンベット型電源装置
1か月前
鹿島建設株式会社
床版架設方法
1か月前
鹿島建設株式会社
壁高欄の施工方法
7日前
オリエンタル白石株式会社
補強鋼板及び排土方法
1か月前
ダンレックス株式会社
表示装置
15日前
宮地エンジニアリング株式会社
ワイヤブリッジの設置方法
1か月前
株式会社朝日設計事務所
床版橋の梁組合せ床版及び施工方法
6日前
鹿島建設株式会社
橋、および橋の製造方法
1か月前
株式会社プロテックエンジニアリング
衝撃吸収柵
1か月前
清水建設株式会社
床版架設装置および床版架設方法
14日前
ワールド開発工業株式会社
センサ用支持体およびロードローラー
今日
愛知製鋼株式会社
磁気マーカの施工方法および施工用の補助工具
28日前
オリエンタル白石株式会社
馬蹄形ジベルの合成床版撤去工法
1か月前
PUMP MAN株式会社
路面成型補助部材、及び、路面成型方法
27日前
ミネベアミツミ株式会社
冠水検出ユニット
1日前
花王株式会社
アスファルト添加剤組成物
今日
花王株式会社
アスファルト添加剤組成物
今日
日本製鉄株式会社
仮設橋による施工方法
14日前
日本製鉄株式会社
橋脚構造
1か月前
株式会社ミライト・ワン
ボラード
1か月前
三井住友建設株式会社
床版揚重装置及び床版工事設備
1か月前
続きを見る
他の特許を見る