TOP
|
特許
|
意匠
|
商標
特許ウォッチ
Twitter
他の特許を見る
公開番号
2025162715
公報種別
公開特許公報(A)
公開日
2025-10-28
出願番号
2024066095
出願日
2024-04-16
発明の名称
床版揚重装置及び床版工事設備
出願人
三井住友建設株式会社
代理人
弁理士法人大島特許事務所
主分類
E01D
21/00 20060101AFI20251021BHJP(道路,鉄道または橋りょうの建設)
要約
【課題】幅寸法の大型化を招くことなく安定性を向上させることができる床版揚重装置を提供する。
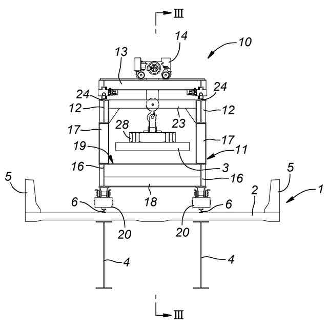
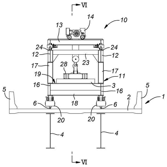
【解決手段】橋梁1の床版2を構成する床版部材3を架設又は撤去するための床版揚重装置10は、橋軸方向視においてU字状をなす部分を含むベースフレーム11と、橋軸方向に互いに平行に延在し、ベースフレーム11によって支持される2本の主桁12と、2本の主桁12の上に橋軸方向に走行可能に設けられた可動フレーム13と、可動フレーム13に懸吊された吊り上げ装置14とを備える。吊り上げ装置14の橋軸方向の移動範囲において2本の主桁12は互いに連結されていない。
【選択図】図1
特許請求の範囲
【請求項1】
橋梁の床版を構成する床版部材を架設又は撤去するための床版揚重装置であって、
橋軸方向視においてU字状をなす部分を含むベースフレームと、
橋軸方向に互いに平行に延在し、前記ベースフレームによって支持される2本の主桁と、
2本の前記主桁の上に前記橋軸方向に走行可能に設けられた可動フレームと、
前記可動フレームに懸吊された吊り上げ装置と、を備え、
前記吊り上げ装置の前記橋軸方向の移動範囲において2本の前記主桁が互いに連結されていない、床版揚重装置。
続きを表示(約 600 文字)
【請求項2】
前記ベースフレームは、
橋幅方向に間隔を空けて配置された1対のベース部材と、
前記橋軸方向の互いに異なる位置において1対の前記ベース部材に立設され、2本の前記主桁を支持する2対の柱と、
1対の前記ベース部材又は2対の前記柱を連結する少なくとも1つのベース連結部材と、を備える、請求項1に記載の床版揚重装置。
【請求項3】
2本の前記主桁の両端部を連結する桁連結部材を更に備える、請求項1又は2に記載の床版揚重装置。
【請求項4】
前記ベースフレームは、前記床版上を走行可能に構成されており、前記吊り上げ装置によって吊り上げられた前記床版部材を載置するための載置台を備える、請求項1又は2に記載の床版揚重装置。
【請求項5】
前記ベースフレームは、前記床版上に敷設されたレールの上を走行可能に構成されており、
2本の前記主桁は、前記ベースフレームの橋軸方向寸法よりも長く、前記ベースフレームから前記橋軸方向の両方に張り出している、請求項1又は2に記載の床版揚重装置。
【請求項6】
請求項5に記載された床版揚重装置と、
前記床版部材を運搬するための運搬台車と、を備えた床版工事設備であって、
前記運搬台車が前記レールの上を走行可能に構成されている、床版工事設備。
発明の詳細な説明
【技術分野】
【0001】
本発明は、橋梁の床版を構成する床版部材を架設又は撤去するための床版揚重装置及び、この床版揚重装置と運搬車両とを備えた床版工事設備に関する。
続きを表示(約 1,600 文字)
【背景技術】
【0002】
近年、橋梁の床版を構築する際にプレキャストコンクリート製の床版部材が用いられることがある。床版部材は、橋軸方向に延びる主桁(橋桁)の上に橋軸方向に並べて配置される。橋軸方向に互いに隣接する床版部材同士は、例えば、隙間に間詰めコンクリートが打設されることによって連結される。
【0003】
床版部材を所定の位置に架設するために、橋梁上に配置される架設機が用いられることがある。特許文献1には、配置済みの床版上に敷設された左右1対のレール上を走行する床版架設機が開示されている。この床版架設機は、レール上を移動可能な移動体と、移動体に支持されて移動体の移動方向前方に吊り点を有する床版揚重機構とを含んでいる。移動体は、車輪を備えた左右1対の下部フレームと、左右一対の下部フレームに下端部が連結された前後一対の門型フレームと、門型フレームの上部に設けられた上部フレームとを備えている。床版揚重機構は、上部フレームの前側には前方に張り出した張出部材と、この張出部材の先端側に設けられた吊り装置とを備えている。
【0004】
架設機の左右の車輪間(門型フレーム内)には、床版架設機が架設する床版部材を運搬(搬入)する床版運搬台車(運搬車両)が通り抜けることのできる空間が形成されている。架設機用の左右1対のレールの内側には左右1対のレールが敷設され、運搬車両はこの1対のレール上を移動する。
【先行技術文献】
【特許文献】
【0005】
特開2019-7137公報
【発明の概要】
【発明が解決しようとする課題】
【0006】
従来の架設機では、床版部材を運搬する運搬車両が通り抜けることのできる空間を形成するために幅の大きな門型フレームが必要になり、架設機が大型化する。
【0007】
ここで、運搬車両を通り抜けさせることなく、床版部材を架設機の後部から前部に移動させる構成とすることが考えられる。このような構成の床版架設機として、橋軸方向に延びる左右1対の主桁が門型フレームに取り付けられ、吊り装置が主桁に沿って移動する構成のものがある。この床版架設機の場合、フレームが門型構造をなすため、主桁に沿って吊り装置を移動させる機構は主桁の下部に設けられる。
【0008】
ただし、そのような構成では、運搬車両上の床版部材を吊り上げられる程度に高い位置に吊り装置を配置するために、主桁を高い位置に配置する必要がある。しかしながら、主桁が高い位置に配置されると架設機の安定性が低下する。また、隣接位置に供用中の車線がある場合には、供用車線を走行中の運転手が、近傍に高い架設機が存在することを脅威に感じたり圧迫感を覚えたりする虞もある。
【0009】
本発明は、以上の背景に鑑み、幅寸法の大型化を招くことなく安定性を向上させることができる床版揚重装置及び床版工事設備を提供することを課題とする。
【課題を解決するための手段】
【0010】
上記課題を解決するために本発明のある態様は、橋梁(1)の床版(2)を構成する床版部材(3)を架設又は撤去するための床版揚重装置(10)であって、橋軸方向視においてU字状をなす部分を含むベースフレーム(11)と、橋軸方向に互いに平行に延在し、前記ベースフレームによって支持される2本の主桁(12)と、2本の前記主桁の上に前記橋軸方向に走行可能に設けられた可動フレーム(13)と、前記可動フレームに懸吊された吊り上げ装置(14)と、を備え、前記吊り上げ装置の前記橋軸方向の移動範囲において2本の前記主桁が互いに連結されていない。
(【0011】以降は省略されています)
この特許をJ-PlatPat(特許庁公式サイト)で参照する
関連特許
三井住友建設株式会社
集合住宅
1か月前
三井住友建設株式会社
床版拡幅工法
1か月前
三井住友建設株式会社
集合住宅とその施工方法
1か月前
三井住友建設株式会社
通信システム及び建設方法
15日前
三井住友建設株式会社
床版揚重装置及び床版工事設備
25日前
三井住友建設株式会社
柱梁接合構造及びその構築方法
1か月前
三井住友建設株式会社
プレストレストコンクリート構造物とその施工方法
23日前
三洋工業株式会社
免震エキスパンションジョイント用パネル
8日前
三井住友建設株式会社
BEIの簡易算出方法、その方法を含む建築物の設計方法、及びBEI簡易算出システム
2日前
三井住友建設株式会社
スプリンクラー配管構造とその設置方法
1か月前
三井住友建設株式会社
情報処理システム、情報処理装置、情報処理方法およびプログラム
15日前
株式会社熊谷組
床版
1か月前
株式会社熊谷組
床版
1か月前
白出商事株式会社
縁石銘板(名板)
1か月前
北越消雪機械工業株式会社
消雪装置
1か月前
株式会社セイトク
防雪パネル
1か月前
コスモテック株式会社
表示装置
15日前
株式会社 林物産発明研究所
道路安全体
2日前
株式会社NIPPO
斜面用ローラ
1か月前
株式会社ササキコーポレーション
作業機
1か月前
株式会社NIPPO
斜面用ローラ
1か月前
株式会社NIPPO
距離補正装置
1か月前
株式会社NIPPO
切削用制御装置
1か月前
戸田建設株式会社
コンクリート構造
26日前
三信工業株式会社
床版架設装置
1か月前
桑名金属工業株式会社
融雪マットおよび融雪方法
1か月前
東亜グラウト工業株式会社
防護柵の支柱構造
1か月前
戸田建設株式会社
鋼製ブラケットの取付装置
26日前
戸田建設株式会社
鋼製ブラケットの取付装置
26日前
株式会社川金コアテック
橋梁用鋼弾塑性ダンパー
10日前
株式会社NIPPO
アスファルトスタッカ制御装置
1か月前
西尾レントオール株式会社
コーンベット型電源装置
1か月前
日鉄神鋼建材株式会社
補強金具、及び支柱取付構造
1か月前
株式会社NIPPO
バンク用建設機械サポータ装置
1か月前
日立建機株式会社
転圧機械
1か月前
日鉄建材株式会社
吊り材で支持された足場用床パネル
1か月前
続きを見る
他の特許を見る