TOP
|
特許
|
意匠
|
商標
特許ウォッチ
Twitter
他の特許を見る
公開番号
2025158629
公報種別
公開特許公報(A)
公開日
2025-10-17
出願番号
2024061364
出願日
2024-04-05
発明の名称
柱梁接合構造及びその構築方法
出願人
三井住友建設株式会社
代理人
弁理士法人大島特許事務所
主分類
E04B
1/30 20060101AFI20251009BHJP(建築物)
要約
【課題】現場打コンクリートを必要とせず、充填材の使用量が低減された、複合構造梁の柱梁接合構造及びその構築方法を提供する
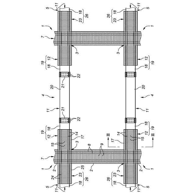
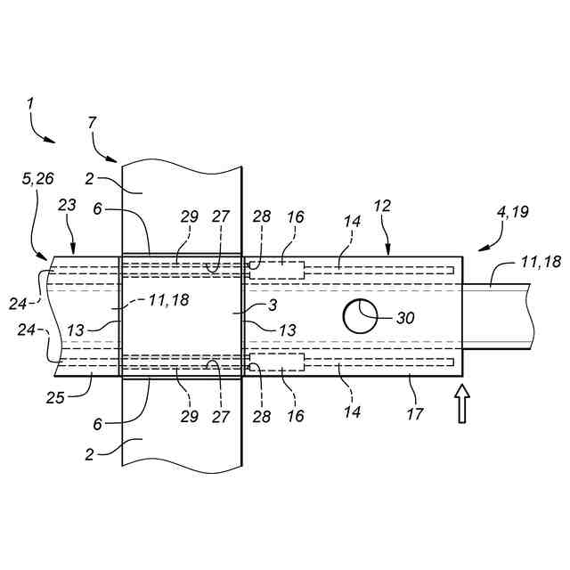
【解決手段】柱梁接合構造1は、プレキャストコンクリート製の柱梁接合部3を含む柱7と、第1複合構造梁4とを備える。第1複合構造梁4は、鉄骨部11とRC部12と含む。第1複合構造梁4は、地震時に生じ得る塑性ヒンジが、梁端部よりも梁スパンの中央側にずれた位置に生じるように構成されている。第1複合構造梁4は、RC部12と鉄骨部11の少なくとも一部18とを含むプレキャストコンクリート製の第1PCa部材19を含む。第1PCa部材19は、RC部12内に埋設された梁主筋14に柱梁接合部3の表面から突出する鉄筋24を継ぐ継手部材16を含む。継手部材16は、RC部12内における柱梁接合部3側の端部近傍に配置される。
【選択図】図1
特許請求の範囲
【請求項1】
プレキャストコンクリート製の柱梁接合部を含む柱と、
所定方向に延在する鉄骨造の鉄骨部、及び前記鉄骨部における前記所定方向の端部に連結した鉄筋コンクリート造のRC部を含み、前記柱梁接合部に前記RC部にて接合する第1複合構造梁と、
を備え、
前記第1複合構造梁は、地震時に生じ得る塑性ヒンジが、前記RC部における前記第1複合構造梁の梁スパン中央側の端部、又は前記鉄骨部における前記RC部よりも前記梁スパン中央側に生じるように構成されており、
前記第1複合構造梁は、前記RC部と前記鉄骨部の少なくとも一部とを含むプレキャストコンクリート製の第1PCa部材を含み、
前記第1PCa部材は、前記RC部内に埋設された梁主筋に前記柱梁接合部の表面から突出する鉄筋を継ぐ継手部材を含み、前記継手部材は、前記RC部内における前記柱梁接合部側の端部近傍に配置された、柱梁接合構造。
続きを表示(約 1,100 文字)
【請求項2】
前記柱梁接合部に対して前記第1複合構造梁とは反対側に配置され、前記所定方向に延在する鉄骨造の鉄骨部、及びその鉄骨部における前記所定方向の端部に連結した鉄筋コンクリート造のRC部を含み、前記柱梁接合部にそのRC部にて接合する第2複合構造梁を更に備え、
前記柱梁接合部は、前記所定方向に延在する貫通孔を含み、
前記柱梁接合部の表面から突出する前記鉄筋は、一端部において前記第2複合構造梁の前記RC部に埋設され、他端部において前記第2複合構造梁の前記RC部から突出して前記貫通孔を貫通して前記継手部材に至る、請求項1に記載の柱梁接合構造。
【請求項3】
前記柱梁接合部の表面から突出する前記鉄筋は、プレキャストコンクリート部材としての前記柱梁接合部に含まれる、請求項1に記載の柱梁接合構造。
【請求項4】
プレキャストコンクリート製の柱梁接合部と、所定方向に延在する鉄骨造の鉄骨部、及び前記鉄骨部における前記所定方向の端部に連結した鉄筋コンクリート造のRC部を含み、前記柱梁接合部に前記RC部にて接合する第1複合構造梁との柱梁接合構造の構築方法であって、
前記柱梁接合部を設置するステップと、
前記柱梁接合部に、前記RC部と前記鉄骨部の少なくとも一部とを含むプレキャストコンクリート製の第1PCa部材を接合するステップと、
を備え、
前記第1複合構造梁は、地震時に生じ得る塑性ヒンジが、前記RC部における前記第1複合構造梁の梁スパン中央側の端部、又は前記鉄骨部における前記RC部よりも前記梁スパン中央側に生じるように構成されており、
前記第1PCa部材は、前記RC部内に埋設された梁主筋に前記柱梁接合部の表面から突出する鉄筋を継ぐ継手部材を含み、前記継手部材は、前記RC部内における前記柱梁接合部側の端部近傍に配置された、柱梁接合構造の構築方法。
【請求項5】
前記第1複合構造梁は、2つの前記第1PCa部材と、2つの前記第1PCa部材の間に配置され、前記鉄骨部の一部を構成する中間鉄骨部材とを含み、
前記柱梁接合部に前記第1PCa部材を接合するステップの後に行われる、前記中間鉄骨部材を前記第1PCa部材に連結するステップを更に備える、請求項4に記載の柱梁接合構造の構築方法。
【請求項6】
前記第1複合構造梁は、互いに連結される2つの前記第1PCa部材を含み、
前記柱梁接合部に前記第1PCa部材を接合するステップの後に行われる、2つの前記第1PCa部材を互いに連結するステップを更に備える、請求項4に記載の柱梁接合構造の構築方法。
発明の詳細な説明
【技術分野】
【0001】
本発明は、プレキャストコンクリート製の柱梁接合部を含む柱と、端部がプレキャストコンクリート製である複合構造梁と備える柱梁接合構造及びその構築方法に関する。
続きを表示(約 1,600 文字)
【背景技術】
【0002】
従来、梁の材端部を剛性の高い鉄筋コンクリート(RC)造とし、梁スパンの中央部を自重の軽い鉄骨造とする複合構造梁が知られている。複合構造梁は、複合梁又はハイブリッド梁とも呼ばれる。例えば、特許文献1~3には、複合構造梁に関する柱梁接合構造及びその構築方法において、プレキャストコンクリート部材を利用することが開示されている。
【0003】
特許文献1は、鉄筋コンクリート造又はプレキャストコンクリート造の柱に、複合構造梁を設置し、柱梁接合部のコンクリートを打設することを開示している。特許文献2は、複合構造梁の端部のプレキャストRC部を柱梁接合部として機能させることを開示している。特許文献3は、柱及び複合構造梁のコンクリート部分を現場打コンクリートで形成することを示した上で、梁同士の接合部分を含む鉄筋コンクリート造で構成される箇所をプレキャストコンクリート部材で構成しても良い旨を開示している。
【先行技術文献】
【特許文献】
【0004】
特開平10-280541号公報
特開2011-252304号公報
特開2013-204249号公報
【発明の概要】
【発明が解決しようとする課題】
【0005】
しかし、特許文献1に記載の発明では、柱梁接合部を現場打コンクリートで形成する必要があった。特許文献2に記載の発明では、他の複合構造梁が柱梁接合部として機能させるプレキャストRC部に接合するが、他の複合構造梁のRC部は現場打コンクリートで形成する必要があった。特許文献3には、プレキャストコンクリート部材とした場合の具体的な接合方法が開示されていなかった。
【0006】
本発明の発明者は、このような背景に鑑み、現場打コンクリートを必要としない複合構造梁の柱梁接合構造及びその構築方法を検討した結果、さらに以下の課題を発見した。
【0007】
本発明の発明者は、図8に示すような現場打コンクリートが不要となる柱梁接合構造101を検討した。柱梁接合構造101は、柱部材102と、柱部材102に連結する柱梁接合部103と、柱梁接合部103に接合する第1複合構造梁104及び第2複合構造梁105とを備える。第1複合構造梁104は、RC部106及び鉄骨部107を含む。第2複合構造梁105は、RC部108及び鉄骨部109を含む。第1及び第2複合構造梁104,105が柱梁接合部103に対して互いに反対側に配置され、RC部106,108にて柱梁接合部103に接合している。柱梁接合部103及びRC部106,108は、プレキャストコンクリート部材である。
【0008】
第2複合構造梁105のRC部108から突出した梁主筋110が、柱梁接合部103に設けられた貫通孔111及び第1複合構造梁104のRC部106に設けられた受容孔112に挿通され、第1複合構造梁104のRC部106に埋設された継手部材113を介して、第1複合構造梁104のRC部106に埋設された梁主筋114に継がれる。
【0009】
ここで、従来の考え方で設計すると、地震時に生じ得る塑性ヒンジ(降伏ヒンジ)の位置がRC部106における柱梁接合部103側の端部(図中、矢印で示す部分)となった。継手部材113は、塑性ヒンジが生じる位置からずらして配置する必要があるため、RC部106における梁スパン中央部側に配置された。このため、RC部108からの梁主筋110の突出長が長くなり、充填材115を充填するべき受容孔112の長さも長くなるという問題が生じた。
【0010】
本発明は、複合構造梁の柱梁接合構造及びその構築方法であって、現場打コンクリートを必要とせず、充填材の使用量が低減された構造及び方法を提供することを課題とする。
【課題を解決するための手段】
(【0011】以降は省略されています)
この特許をJ-PlatPat(特許庁公式サイト)で参照する
関連特許
個人
接合構造
1か月前
個人
タッチミー
1か月前
個人
屋台
2か月前
個人
野良猫ハウス
2か月前
個人
安心補助てすり
1か月前
個人
フェンス
3か月前
個人
転落防止用手摺
2か月前
ニチハ株式会社
建築板
2か月前
個人
ベンリナアングル
1か月前
個人
居住車両用駐車場
2か月前
積水樹脂株式会社
柵体
2か月前
個人
筋交自動設定装置
1か月前
個人
熱抵抗多層断熱建材
2か月前
個人
補強部材
2か月前
個人
身体用シェルター
1か月前
成友建設株式会社
建物
2か月前
株式会社シンケン
住宅
1か月前
鹿島建設株式会社
壁体
2か月前
個人
身体用シェルター
1か月前
個人
防災建築物
1か月前
株式会社大林組
接合構造
26日前
三協立山株式会社
構造体
1か月前
三協立山株式会社
構造体
10日前
個人
可搬型供養墓
1か月前
三協立山株式会社
構造体
1か月前
三洋工業株式会社
床構造
1か月前
三協立山株式会社
構造体
1か月前
株式会社熊谷組
床構成材
1か月前
三協立山株式会社
構造体
1か月前
株式会社熊谷組
木質材料
2か月前
株式会社熊谷組
吊り治具
1か月前
三協立山株式会社
構造体
15日前
イワブチ株式会社
組立柱
2か月前
三協立山株式会社
構造体
1か月前
三協立山株式会社
構造体
1か月前
三協立山株式会社
構造体
1か月前
続きを見る
他の特許を見る