TOP
|
特許
|
意匠
|
商標
特許ウォッチ
Twitter
他の特許を見る
公開番号
2025157854
公報種別
公開特許公報(A)
公開日
2025-10-16
出願番号
2024060149
出願日
2024-04-03
発明の名称
集合住宅とその施工方法
出願人
三井住友建設株式会社
代理人
個人
,
個人
主分類
E04B
2/56 20060101AFI20251008BHJP(建築物)
要約
【課題】二酸化炭素排出量の削減と現場工事量の削減の両立が可能な集合住宅を提供する。
【解決手段】集合住宅1は、互いに隣接する住戸2の戸境に沿って配列した3つ以上の柱14~16と、互いに隣接する柱14~15,15~16の間に各々設けられた第1及び第2の戸境壁21A、21Bと、を有している。第1及び第2の戸境壁21A、21Bは二酸化炭素を吸収可能な材料を含むプレキャスト壁である。
【選択図】図1
特許請求の範囲
【請求項1】
互いに隣接する住戸の戸境に沿って配列した3つ以上の柱と、
互いに隣接する前記柱の間に各々設けられた複数の戸境壁と、
を有し、
前記戸境壁は二酸化炭素を吸収可能な材料を含むプレキャスト壁である、集合住宅。
続きを表示(約 900 文字)
【請求項2】
前記戸境壁はコンクリート製のプレキャスト壁であり、前記コンクリートは炭酸化養生されている、請求項1に記載の集合住宅。
【請求項3】
前記戸境壁の前記コンクリートは設計基準強度が20N/mm
2
以下であり、繊維補強されている、請求項2に記載の集合住宅。
【請求項4】
前記戸境壁の前記コンクリートは設計基準強度が20N/mm
2
以下であり、前記戸境壁は鉄筋を含んでいない、請求項2に記載の集合住宅。
【請求項5】
前記戸境壁と前記戸境壁に隣接する2つの前記柱との間に上下方向に延びる第1の隙間が設けられ、前記第1の隙間が第1のシール材で塞がれている、請求項1に記載の集合住宅。
【請求項6】
前記戸境壁は上下方向に分離した上部壁と下部壁とを有し、前記上部壁と前記下部壁との間に水平方向に延びる第2の隙間が設けられ、前記第2の隙間が第2のシール材で塞がれている、請求項5に記載の集合住宅。
【請求項7】
前記柱に支持された床スラブを有し、前記床スラブは炭酸化養生されている、請求項1に記載の集合住宅。
【請求項8】
前記床スラブは緊張材によってプレストレスが加えられている、請求項7に記載の集合住宅。
【請求項9】
前記集合住宅は板状集合住宅であり、
前記複数の柱のうちの2つの柱が前記住戸の梁間方向における両外側に位置し、他の柱が前記2つの柱の間にある、請求項1から8のいずれか1項に記載の集合住宅。
【請求項10】
二酸化炭素を吸収可能な材料を含む複数の戸境壁をプレキャスト工法によって製作することと、
互いに隣接する住戸の戸境に沿って3つ以上の柱を設けることと、
互いに隣接する前記柱の間の各々に前記戸境壁を設けることと、を有し、
前記戸境壁を製作することは前記戸境壁に二酸化炭素を吸収させることを含む、
集合住宅の施工方法。
(【請求項11】以降は省略されています)
発明の詳細な説明
【技術分野】
【0001】
本発明は集合住宅とその施工方法に関する。
続きを表示(約 1,700 文字)
【背景技術】
【0002】
近年、二酸化炭素排出量削減のため、コンクリートに二酸化炭素を吸収させる炭酸化養生が行われることがある。特許文献1には、コンクリートの脱枠後にコンクリートを二酸化炭素雰囲気に晒すことで、コンクリートの表面からある深さに渡って炭酸化領域を形成することが記載されている。一方、近年の人手不足によって建築工事における現場工事量の削減が大きな課題となっている。このためコンクリート部材のプレキャスト化が進められている。
【先行技術文献】
【特許文献】
【0003】
特開2011-168436号公報
【発明の概要】
【発明が解決しようとする課題】
【0004】
二酸化炭素排出量の削減と現場工事量の削減はいずれも大きな課題であるが、従来これらは全く異なる課題であると考えられており、対策も個別になされてきた。
【0005】
本発明は二酸化炭素排出量の削減と現場工事量の削減の両立が可能な集合住宅とその施工方法を提供することを目的とする。
【課題を解決するための手段】
【0006】
本発明の集合住宅は、互いに隣接する住戸の戸境に沿って配列した3つ以上の柱と、互いに隣接する柱の間に各々設けられた複数の戸境壁と、を有している。戸境壁は二酸化炭素を吸収可能な材料を含むプレキャスト壁である。
【発明の効果】
【0007】
本発明によれば、二酸化炭素排出量の削減と現場工事量の削減の両立が可能な集合住宅とその施工方法を提供することができる。
【図面の簡単な説明】
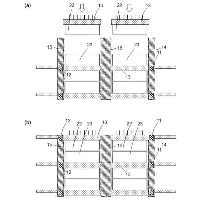
【0008】
本発明の一実施形態に係る集合住宅の部分平面図である。
図1のA1-A1線及びA2-A2線に沿った縦断面図である。
図1のB-B線に沿った縦断面図である。
図1~3に示す集合住宅の概略施工ステップ図である。
図1~3に示す集合住宅の概略施工ステップ図である。
【発明を実施するための形態】
【0009】
以下図面を参照して、本発明の集合住宅とその施工方法の実施形態について説明する。以下に説明する実施形態は板状集合住宅を対象とするが、集合住宅の構成は限定されず、本発明は例えば高層または超高層の塔状集合住宅に適用することも可能である。以下の説明で桁行方向をX方向、梁間方向をY方向、上下方向(鉛直方向)をZ方向と呼ぶ。X方向、Y方向、Z方向は互いに直交している。
【0010】
図1は集合住宅1の代表フロアの部分平面図、図2(a)は図1のA1-A1線に沿った縦断面図、図2(b)は図1のA2-A2線に沿った縦断面図、図3は図1のB-B線に沿った縦断面図である。図1(a)は図2のC-C線に沿った平面図であり、図1(b)は図2のD-D線に沿った平面図である。複数の住戸2がX方向に配列している。第1のX方向梁11と第2のX方向梁12が、各住戸2のY方向における両側をX方向に延びている。第1のX方向梁11はバルコニー3に面し、第2のX方向梁12は共用廊下4に面している。互いに隣接する住戸2間にはY方向に延びるY方向梁13が設けられている。第1のX方向梁11とY方向梁13との交差部に第1の外側柱14が、第2のX方向梁12とY方向梁13との交差部に第2の外側柱15が設けられ、Y方向梁13のY方向中央付近に1つの中間柱16が設けられている。従って、それぞれの戸境には3つの柱14~16がY方向に配列している。複数の第1の外側柱14は第1のX方向梁11に沿って配置され、複数の第2の外側柱15は第2のX方向梁12に沿って配置されている。本実施形態では、一般的に住戸2間の戸境に設けられている耐震壁は省略されており、その代わりに中間柱16と次に述べる戸境壁21とが設けられている。住戸2、バルコニー3、共用廊下4には床スラブ17が設けられている。床スラブ17は、第1のX方向梁11、第2のX方向梁12、第1の外側柱14、第2の外側柱15及び中間柱16によって支持されている。
(【0011】以降は省略されています)
この特許をJ-PlatPat(特許庁公式サイト)で参照する
関連特許
三井住友建設株式会社
通信システム及び建設方法
1日前
三井住友建設株式会社
床版揚重装置及び床版工事設備
11日前
三井住友建設株式会社
柱梁接合構造及びその構築方法
22日前
三井住友建設株式会社
プレストレストコンクリート構造物とその施工方法
9日前
三井住友建設株式会社
情報処理システム、情報処理装置、情報処理方法およびプログラム
1日前
個人
接合構造
1か月前
個人
屋台
1か月前
個人
タッチミー
1か月前
個人
野良猫ハウス
2か月前
個人
フェンス
2か月前
個人
転落防止用手摺
2か月前
個人
安心補助てすり
16日前
積水樹脂株式会社
柵体
1か月前
ニチハ株式会社
建築板
2か月前
個人
筋交自動設定装置
1か月前
個人
居住車両用駐車場
2か月前
個人
ベンリナアングル
1か月前
個人
熱抵抗多層断熱建材
2か月前
個人
補強部材
2か月前
個人
柵
3か月前
鹿島建設株式会社
壁体
2か月前
個人
身体用シェルター
1か月前
成友建設株式会社
建物
2か月前
株式会社シンケン
住宅
17日前
個人
防災建築物
22日前
個人
身体用シェルター
1か月前
三協立山株式会社
構造体
1か月前
三協立山株式会社
構造体
1か月前
三協立山株式会社
構造体
1か月前
三協立山株式会社
構造体
1日前
三協立山株式会社
構造体
1か月前
三協立山株式会社
構造体
1か月前
イワブチ株式会社
組立柱
1か月前
株式会社熊谷組
木質材料
1か月前
三協立山株式会社
構造体
1か月前
個人
可搬型供養墓
1か月前
続きを見る
他の特許を見る