TOP
|
特許
|
意匠
|
商標
特許ウォッチ
Twitter
他の特許を見る
10個以上の画像は省略されています。
公開番号
2025168460
公報種別
公開特許公報(A)
公開日
2025-11-07
出願番号
2025145387,2021143878
出願日
2025-09-02,2021-09-03
発明の名称
情報処理システム、情報処理装置、情報処理方法およびプログラム
出願人
三井住友建設株式会社
代理人
個人
,
個人
主分類
G06Q
10/063 20230101AFI20251030BHJP(計算;計数)
要約
【課題】検査の正しい結果を効率的に確認する。
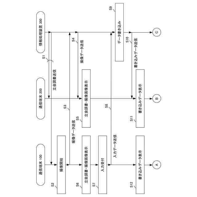
【解決手段】通信端末100は、撮像した画像を示す撮像データを情報処理装置300へ送信し、情報処理装置300は、通信端末100および通信端末200からのアクセスが開始されたか否かを判定し、通信端末100および通信端末200からのアクセスが開始されたと判定すると、所定の調書データを通信端末100へ送信するとともに通信端末200へ送信し、通信端末100から送信されてきた撮像データとを通信端末200へ送信し、通信端末100は、情報処理装置300から送信されてきた調書データを表示し、通信端末200は、情報処理装置300から送信されてきた調書データと撮像データが示す画像とを表示する。
【選択図】図1
特許請求の範囲
【請求項1】
情報処理装置と、第1の通信端末と、第2の通信端末とを有し、
前記第1の通信端末は、
第1の撮像部と、
前記第1の撮像部が撮像した画像を示す撮像データを前記情報処理装置へ送信する第1の通信部と、
第1の表示部とを有し、
前記第2の通信端末は、第2の表示部を有し、
前記情報処理装置は、前記第1の通信端末および前記第2の通信端末からのアクセスが開始されたか否かを判定し、前記第1の通信端末および前記第2の通信端末からのアクセスが開始されたと判定すると、所定の調書データを前記第1の通信端末へ送信するとともに前記第2の通信端末へ送信し、さらに、前記第1の通信部から送信されてきた撮像データを前記第2の通信端末へ送信する第3の通信部を有し、
前記第1の表示部は、前記第3の通信部から送信されてきた調書データを表示し、
前記第2の表示部は、前記第3の通信部から送信されてきた調書データと撮像データが示す画像と、を表示する情報処理システム。
続きを表示(約 1,600 文字)
【請求項2】
前記第2の通信端末は、
外部からの操作に基づいて確定情報の入力を行う立会者入力部と、
前記立会者入力部が入力した確定情報を前記情報処理装置へ送信する第2の通信部とを有し、
前記情報処理装置は、
前記第2の通信部から前記確定情報が送信されてくると、前記調書データを確定するデータ書き込み部を有する、請求項1に記載の情報処理システム。
【請求項3】
前記データ書き込み部は、前記第2の通信部から送信されてきた前記確定情報を前記調書データに書き込み、
前記情報処理装置は、前記データ書き込み部が前記確定情報を書き込んだ調書データをデータベースに登録する登録部をさらに有する、請求項2に記載の情報処理システム。
【請求項4】
前記第3の通信部は、前記データ書き込み部が前記確定情報を書き込んだ調書データを前記第1の通信端末へ送信し、
前記第1の表示部は、前記第3の通信部から送信されてきた、前記確定情報が書き込まれた調書データを表示する、請求項3に記載の情報処理システム。
【請求項5】
前記第2の通信端末は、第2の撮像部を有し、
前記第2の通信部は、前記第2の撮像部が撮像した立会者画像を示す立会者画像データを前記情報処理装置へ送信し、
前記登録部は、前記第2の通信端末から送信されてきた立会者画像データを、前記データ書き込み部が前記確定情報を書き込んだ調書データとともに登録する、請求項3または請求項4に記載の情報処理システム。
【請求項6】
前記第3の通信部は、前記データ書き込み部が前記立会者画像データが示す立会者画像を重ねた調書データを前記第1の通信端末へ送信し、
前記第1の表示部は、前記第3の通信部から送信されてきた、前記立会者画像を重ねた調書データを表示し、
前記第1の通信端末は、前記第1の表示部が表示した調書データを記憶する、請求項5に記載の情報処理システム。
【請求項7】
前記第1の通信端末は、前記第1の表示部が表示したデータに対する外部からの操作に基づいて測定データを入力する作業者入力部を有し、
前記第1の通信部は、前記作業者入力部が入力した測定データを前記情報処理装置へ送信し、
前記データ書き込み部は、前記第1の通信部から送信されてきた測定データを前記調書データに書き込み、
前記第3の通信部は、前記データ書き込み部が前記測定データを書き込んだ調書データを前記第2の通信端末へ送信し、
前記第2の表示部は、前記第3の通信部から送信されてきた、前記測定データが書き込まれた調書データを表示し、
前記登録部は、前記データ書き込み部が前記測定データおよび前記確定情報を書き込んだ調書データを前記データベースに登録する、請求項3から6のいずれか1項に記載の情報処理システム。
【請求項8】
前記第1の通信端末および前記第2の通信端末それぞれは、互いの間で通話を行う通話部を有する、請求項1から7のいずれか1項に記載の情報処理システム。
【請求項9】
前記第1の表示部および前記第2の表示部それぞれは、タッチパネル機能を具備する、請求項1から8のいずれか1項に記載の情報処理システム。
【請求項10】
第1の通信端末および第2の通信端末からのアクセスが開始されたか否かを判定し、前記第1の通信端末および前記第2の通信端末からのアクセスが開始されたと判定すると、所定の調書データを前記第1の通信端末へ送信するとともに前記第2の通信端末へ送信し、さらに、前記第1の通信端末から送信されてきた撮像データを前記第2の通信端末へ送信する通信部を有する情報処理装置。
(【請求項11】以降は省略されています)
発明の詳細な説明
【技術分野】
【0001】
本発明は、情報処理システム、情報処理装置、情報処理方法およびプログラムに関する。
続きを表示(約 1,800 文字)
【背景技術】
【0002】
近年、検査サーバが、検査計画書に従って設備等を検査した結果を、検査を行った者が入力した端末装置から受信すると、受信した結果に基づいて検査記録書を作成し、データベースに格納するシステムが考えられている(例えば、特許文献1参照。)。
【先行技術文献】
【特許文献】
【0003】
特開2005-276123号公報
【発明の概要】
【発明が解決しようとする課題】
【0004】
特許文献1に記載されたような技術においては、検査結果を承認する場合、データベースに格納された検査記録書を、承認者用端末装置を用いて閲覧して承認する。そのため、実際の検査結果が正しいかどうかを承認者が確認することができない。検査結果が正しいことを承認するには、検査に立ち会うことが必要となるが、承認者の手間がかかってしまう。このように、検査の正しい結果を効率的に確認することができないという問題点がある。
【0005】
本発明の目的は、検査の正しい結果を効率的に確認することができる情報処理システム、情報処理装置、情報処理方法およびプログラムを提供することにある。
【課題を解決するための手段】
【0006】
本発明の情報処理システムは、
情報処理装置と、第1の通信端末と、第2の通信端末とを有し、
前記第1の通信端末は、
第1の撮像部と、
前記第1の撮像部が撮像した画像を示す撮像データを前記情報処理装置へ送信する第1の通信部と、
第1の表示部とを有し、
前記第2の通信端末は、第2の表示部を有し、
前記情報処理装置は、前記第1の通信端末および前記第2の通信端末からのアクセスが開始されたか否かを判定し、前記第1の通信端末および前記第2の通信端末からのアクセスが開始されたと判定すると、所定の調書データを前記第1の通信端末へ送信するとともに前記第2の通信端末へ送信し、さらに、前記第1の通信部から送信されてきた撮像データを前記第2の通信端末へ送信する第3の通信部を有し、
前記第1の表示部は、前記第3の通信部から送信されてきた調書データを表示し、
前記第2の表示部は、前記第3の通信部から送信されてきた調書データと撮像データが示す画像と、を表示する。
【0007】
また、本発明の情報処理装置は、
第1の通信端末および第2の通信端末からのアクセスが開始されたか否かを判定し、前記第1の通信端末および前記第2の通信端末からのアクセスが開始されたと判定すると、所定の調書データを前記第1の通信端末へ送信するとともに前記第2の通信端末へ送信し、さらに、前記第1の通信端末から送信されてきた撮像データを前記第2の通信端末へ送信する通信部を有する。
【0008】
また、本発明の情報処理方法は、
情報処理装置が実施する情報処理方法であって、
第1の通信端末および第2の通信端末からのアクセスが開始されたか否かを判定する処理と、
前記第1の通信端末および前記第2の通信端末からのアクセスが開始されたと判定すると、所定の調書データを前記第1の通信端末へ送信するとともに前記第2の通信端末へ送信する処理と、
前記第1の通信端末から送信されてきた撮像データを前記第2の通信端末へ送信する処理とを行う。
【0009】
また、本発明のプログラムは、
コンピュータに実行させるためのプログラムであって、
第1の通信端末および第2の通信端末からのアクセスが開始されたか否かを判定する手順と、
前記第1の通信端末および前記第2の通信端末からのアクセスが開始されたと判定すると、所定の調書データを前記第1の通信端末へ送信するとともに前記第2の通信端末へ送信する手順と、
前記第1の通信端末から送信されてきた撮像データを前記第2の通信端末へ送信する手順とを実行させる。
【発明の効果】
【0010】
本発明において、検査の正しい結果を効率的に確認することができる。
【図面の簡単な説明】
(【0011】以降は省略されています)
この特許をJ-PlatPat(特許庁公式サイト)で参照する
関連特許
三井住友建設株式会社
集合住宅
23日前
三井住友建設株式会社
床版拡幅工法
1か月前
三井住友建設株式会社
集合住宅とその施工方法
23日前
三井住友建設株式会社
通信システム及び建設方法
1日前
三井住友建設株式会社
床版揚重装置及び床版工事設備
11日前
三井住友建設株式会社
柱梁接合構造及びその構築方法
22日前
三井住友建設株式会社
プレストレストコンクリート構造物とその施工方法
9日前
三井住友建設株式会社
スプリンクラー配管構造とその設置方法
25日前
三井住友建設株式会社
情報処理システム、情報処理装置、情報処理方法およびプログラム
1日前
個人
詐欺保険
25日前
個人
縁伊達ポイン
25日前
個人
RFタグシート
12日前
個人
5掛けポイント
1日前
個人
ペルソナ認証方式
9日前
個人
QRコードの彩色
29日前
個人
地球保全システム
1か月前
個人
自動調理装置
11日前
個人
情報処理装置
4日前
個人
農作物用途分配システム
24日前
個人
残土処理システム
1か月前
個人
表変換編集支援システム
1か月前
個人
知的財産出願支援システム
1か月前
個人
インターネットの利用構造
8日前
個人
タッチパネル操作指代替具
18日前
個人
携帯端末障害問合せシステム
17日前
個人
パスワード管理支援システム
1か月前
個人
スケジュール調整プログラム
17日前
個人
行動時間管理システム
2か月前
個人
AIキャラクター制御システム
1か月前
個人
食品レシピ生成システム
1か月前
個人
エリアガイドナビAIシステム
9日前
個人
海外支援型農作物活用システム
1か月前
個人
システム及びプログラム
1か月前
株式会社キーエンス
受発注システム
1か月前
株式会社キーエンス
受発注システム
1か月前
株式会社キーエンス
受発注システム
1か月前
続きを見る
他の特許を見る