TOP
|
特許
|
意匠
|
商標
特許ウォッチ
Twitter
他の特許を見る
公開番号
2025167619
公報種別
公開特許公報(A)
公開日
2025-11-07
出願番号
2024072434
出願日
2024-04-26
発明の名称
通信システム及び建設方法
出願人
三井住友建設株式会社
代理人
個人
,
個人
,
個人
,
個人
,
個人
主分類
H04B
3/58 20060101AFI20251030BHJP(電気通信技術)
要約
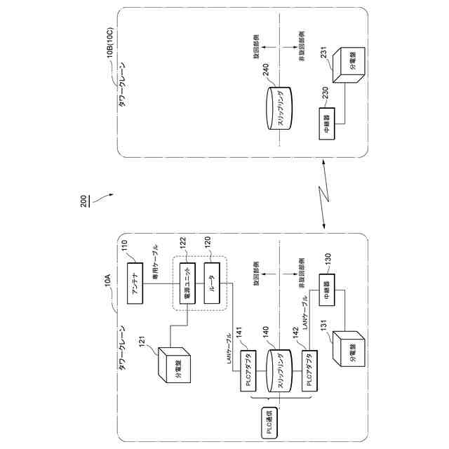
【課題】低層階から高層階へとタワークレーンを上昇させながら建設していく建設現場において、タワークレーンの構造を踏まえて通信機器を適切に配置することによって、通信環境を再構築する盛替え作業を軽減し、建設現場の施工階における通信品質を確保可能な通信システム及び建設方法を提供することである。
【解決手段】通信システム100は、タワークレーン10に配置され、通信衛星と通信可能なアンテナ110と、タワークレーン10の旋回部と非旋回部とを電気的に接続するために用いられる回転コネクタ140と、旋回部側に配置され、アンテナ110に接続されるルータ120と、非旋回部側に配置され、回転コネクタ140を介してルータ120と通信可能な有線を用いて接続される中継器130と、を備える。
【選択図】図4
特許請求の範囲
【請求項1】
タワークレーンに配置され、通信衛星と通信可能なアンテナと、
前記タワークレーンの旋回部と非旋回部とを電気的に接続するために用いられる回転コネクタと、
前記旋回部側に配置され、前記アンテナに接続されるルータと、
前記非旋回部側に配置され、前記回転コネクタを介して前記ルータと通信可能な有線を用いて接続される中継器と、を備える、
通信システム。
続きを表示(約 610 文字)
【請求項2】
前記有線は、前記タワークレーンの旋回部と非旋回部とを電気的に接続するために、前記回転コネクタにおいて備えられている電力線である、
請求項1に記載の通信システム。
【請求項3】
前記アンテナは、前記旋回部よりも上方に配置される、
請求項1に記載の通信システム。
【請求項4】
前記アンテナと前記ルータとは、有線で接続される、
請求項1に記載の通信システム。
【請求項5】
前記中継器と通信可能であって、前記タワークレーンとは別のタワークレーンの非旋回部側に配置される中継器を、さらに備える、
請求項1に記載の通信システム。
【請求項6】
前記中継器同士は、無線で接続される、
請求項5に記載の通信システム。
【請求項7】
前記中継器は、指向性アンテナを備える、
請求項6に記載の通信システム。
【請求項8】
通信衛星と通信可能なアンテナと、
旋回部と非旋回部とを電気的に接続するために用いられる回転コネクタと、
前記旋回部側に配置され、前記アンテナに接続されるルータと、
前記非旋回部側に配置され、前記回転コネクタを介して前記ルータと通信可能な有線を用いて接続される中継器と、を備えるタワークレーンを用いて、建設物を建設する建設方法。
発明の詳細な説明
【技術分野】
【0001】
本発明は、通信システム及び建設方法に関する。
続きを表示(約 1,500 文字)
【背景技術】
【0002】
従来、特に都市部において高層ビル及び高層マンションが建設されている。このような高層ビル及び高層マンションを建設する場合、低層階から高層階へとタワークレーンを上昇させながら建設していくことになる。
【0003】
また、建設現場において、作業者は、携帯電話及びスマートフォンなどの通信機器を用いて、電話したり、インターネットを利用したりする状況がある。
【0004】
例えば、地上から100m以上の位置では、基地局との通信が困難になる可能性があり、高層階となる施工階では、地上階からWiFi(登録商標)環境を構築することによって、当該施工階でのインターネット通信などを実現する。この場合、低層階から高層階へとタワークレーンを上昇させながら建設するため、施工階が高層に進むに従って、その都度、WiFi環境も再構築していくことになる。
【先行技術文献】
【非特許文献】
【0005】
KDDI株式会社、“建設中の超高層ビルの通信環境をStarlinkで構築”、[online]、2023年11月24日、[令和6年4月2日検索]、インターネット<URL:https://news.kddi.com/kddi/corporate/topic/2023/11/24/7078.html>
【発明の概要】
【発明が解決しようとする課題】
【0006】
しかしながら、実際には、施工中(建設中)のフロアでは、通信機器を設置したり、配線したりすることが困難であり、施工中(建設中)のフロアから数階下の施工されたフロアにおいて通信環境を構築することになる。すなわち、施工中(建設中)のフロアでは、適切な通信品質が確保できないという問題がある。
【0007】
ところで、衛星通信を用いることによって、WiFiなどの通信環境を再構築する盛替え作業なく、建設中の超高層ビルの通信環境を構築可能とする方法も提案されているが(例えば、非特許文献1)、さらに、タワークレーンの構造などを含む建設現場の実情を踏まえた通信機器の配置及び通信品質の確保が求められる。
【0008】
そこで、本発明は、低層階から高層階へとタワークレーンを上昇させながら建設していく建設現場において、タワークレーンの構造を踏まえて通信機器を適切に配置することによって、通信環境を再構築する盛替え作業を軽減し、建設現場の施工階における通信品質を確保可能な通信システム及び建設方法を提供することを目的とする。
【課題を解決するための手段】
【0009】
本発明の一態様に係る通信システムは、タワークレーンに配置され、通信衛星と通信可能なアンテナと、タワークレーンの旋回部と非旋回部とを電気的に接続するために用いられる回転コネクタと、旋回部側に配置され、アンテナに接続されるルータと、非旋回部側に配置され、回転コネクタを介してルータと通信可能な有線を用いて接続される中継器と、を備える。
【0010】
この態様によれば、タワークレーンの旋回部側にアンテナに接続されるルータを配置し、タワークレーンの非旋回部側に中継器を配置する。そして、タワークレーンの旋回部と非旋回部とを電気的に接続するために用いられる回転コネクタを介して、ルータと中継器とを通信可能な有線を用いて接続する。このように構築された通信システムは、低層階から高層階へとタワークレーンを上昇させながら建設していく建設現場において、通信環境を再構築する盛替え作業を軽減し、建設現場の施工階における通信品質を確保することができる。
(【0011】以降は省略されています)
この特許をJ-PlatPat(特許庁公式サイト)で参照する
関連特許
三井住友建設株式会社
通信システム及び建設方法
27日前
三井住友建設株式会社
プレストレストコンクリート構造物とその施工方法
1か月前
三洋工業株式会社
免震エキスパンションジョイント用パネル
20日前
株式会社大林組
PC部材の接合方法、PC部材の接合構造、グラウト充填方法
1日前
株式会社大林組
PC部材の接合方法、PC部材の接合構造、及びグラウト充填方法
1日前
三井住友建設株式会社
BEIの簡易算出方法、その方法を含む建築物の設計方法、及びBEI簡易算出システム
14日前
三井住友建設株式会社
コンクリート組成物の施工タイミングの予測方法及び予測装置、並びにコンクリート組成物の施工方法
6日前
三井住友建設株式会社
情報処理システム、情報処理装置、情報処理方法およびプログラム
27日前
個人
イヤーピース
27日前
個人
イヤーマフ
1か月前
個人
監視カメラシステム
1か月前
キーコム株式会社
光伝送線路
1か月前
個人
スイッチシステム
1か月前
WHISMR合同会社
収音装置
2か月前
サクサ株式会社
中継装置
1か月前
個人
スキャン式車載用撮像装置
1か月前
サクサ株式会社
中継装置
1か月前
アイホン株式会社
電気機器
2か月前
キヤノン株式会社
撮像装置
6日前
キヤノン株式会社
撮像装置
3か月前
株式会社リコー
画像形成装置
1か月前
個人
映像表示装置、及びARグラス
1か月前
株式会社リコー
画像形成装置
3か月前
個人
ワイヤレスイヤホン対応耳掛け
2か月前
キヤノン電子株式会社
画像読取装置
2か月前
サクサ株式会社
無線システム
1か月前
キヤノン電子株式会社
画像読取装置
1か月前
キヤノン電子株式会社
画像読取装置
27日前
サクサ株式会社
無線通信装置
1か月前
サクサ株式会社
無線通信装置
1か月前
ヤマハ株式会社
放音制御装置
1か月前
株式会社リコー
画像形成装置
3か月前
キヤノン電子株式会社
画像読取装置
1か月前
日本電気株式会社
海底分岐装置
1か月前
個人
発信機及び発信方法
1か月前
キヤノン株式会社
情報処理装置
14日前
続きを見る
他の特許を見る