TOP
|
特許
|
意匠
|
商標
特許ウォッチ
Twitter
他の特許を見る
10個以上の画像は省略されています。
公開番号
2025169772
公報種別
公開特許公報(A)
公開日
2025-11-14
出願番号
2024074868
出願日
2024-05-02
発明の名称
免震エキスパンションジョイント用パネル
出願人
三洋工業株式会社
,
三井住友建設株式会社
代理人
個人
主分類
E04B
1/68 20060101AFI20251107BHJP(建築物)
要約
【課題】 仕上げ層に現れる水染みを防止することができる免震エキスパンションジョイント用パネルを提供すること。
【解決手段】 本発明に係る免震エキスパンションジョイント用パネルは、箱状のメインパネルと、メインパネル内に積層された下地層及び仕上げ層とを備え、メインパネルの一辺が回動可能に固定され、メインパネルが反対側に設けられた段部の高さに対応する形状を有し、免震クリアランスを覆って段部に載り、かつ、免震クリアランスが想定される最大長まで開いた時に段部に載った状態を維持できる長さを有し、さらに、免震クリアランスが想定される最小長まで閉じる過程で、一辺を中心に上方に回動してその反対側の段部を乗り越えることができるように構成された免震エキスパンションジョイント用パネルであって、前記メインパネルに複数の水抜き孔を備え、その水抜き孔によるメインパネルの開口率が5~90%であることを特徴としている。
【選択図】図1
特許請求の範囲
【請求項1】
箱状のメインパネルと、メインパネル内に積層された下地層及び仕上げ層とを備え、
前記メインパネルの一辺が回動可能に固定され、前記メインパネルが段部の高さに対応する形状を有し、免震クリアランスを覆って段部に載り、かつ、免震クリアランスが想定される最大長まで開いた時に段部に載った状態を維持できる長さを有し、さらに、免震クリアランスが想定される最小長まで閉じる過程で、一辺を中心に上方に回動して段部を乗り越えることができるように構成された免震エキスパンションジョイント用パネルであって、前記メインパネルが複数の水抜き孔を備え、その水抜き孔によるメインパネルの開口率が5~90%であることを特徴とする免震エキスパンションジョイント用パネル。
続きを表示(約 720 文字)
【請求項2】
前記水抜き孔によるメインパネルの開口率が20~90%であることを特徴とする請求項1に記載の免震エキスパンションジョイント用パネル。
【請求項3】
前記箱状のメインパネルが、底板と、底板の外周から底板を囲むように立ち上がる側板とから成り、前記水抜き孔が、底板及び/又は側板に形成されていることを特徴とする請求項1に記載の免震エキスパンションジョイント用パネル。
【請求項4】
メインパネルの底板に複数の補強材を設け、前記補強材上に前記下地層を配置することにより、下地層と底板との間に、複数の水抜き孔を有する空気層を形成することを特徴とする請求項1に記載の免震エキスパンションジョイント用パネル。
【請求項5】
各水抜き孔が千鳥状又は並列状に配置されていることを特徴とする請求項1に記載の免震エキスパンションジョイント用パネル。
【請求項6】
前記メインパネルの底板がメッシュパネルから成ることを特徴とする請求項1に記載の免震エキスパンションジョイント用パネル。
【請求項7】
前記メインパネルが、その底板に免震側から非免震側への向きに補強材を備え、前記水抜き孔が前記補強材の向きと直交する方向に配置されていることを特徴とする請求項1に記載の免震エキスパンションジョイント用パネル。
【請求項8】
前記メインパネルが、その底板に免震側から非免震側への向きと直交する方向に設けた補強材を備え、前記水抜き孔が前記補強材の向きと直交する方向に設置されていることを特徴とする請求項1に記載の免震エキスパンションジョイント用パネル。
発明の詳細な説明
【技術分野】
【0001】
本発明は、免震エキスパンションジョイントに用いられるパネルに関する。
続きを表示(約 6,300 文字)
【背景技術】
【0002】
近年、地震の増加に伴い地震の揺れを吸収する免震構造を採用する免震建物が増加している。
免震構造は、建物と基礎との間に積層ゴム等の免震層を設け、地震による地盤の水平動が建物に直接伝わらないようにした構造であり、これにより、建物は、地震による揺れに追随せずにゆっくり動くため地盤からの地震力を受けることがない。
上記したように免震構造を備えた免震建物(免震側)は、地震発生時には、免震構造を備えていない非免震部分(非免震側)とは異なる挙動をとるため、免震側と非免震側との間には、「隙間」、即ち、免震クリアランスが必要である。
免震クリアランスを確保するための隙間は、そのまま放置すると、日常生活で人が足を引っかけてしまったり、物を落としてしまったりする等の様々な問題が生じるため、免震構造を採用する際には、免震クリアランスを塞ぐために免震エキスパンションジョイントが設けられる。
【発明の概要】
【発明が解決しようとする課題】
【0003】
免震クリアランスは、地震の揺れによる動きは免震側と非免震側で異なるため、その幅が伸縮する。免震エキスパンションジョイントは、免震クリアランスの変化に応じて、隙間が開かないように免震側、あるいは、非免震側のいずれか一方が固定され、もう一方が移動可能するように支持されている。
上記した免震エキスパンションジョイントは、平常時は勿論、地震発生時においても免震側と非免震側との間に大きな隙間が開くことがなく、かつ、その上を人や車両等が通行できるような所定の強度が必要となる。
この免震エキスパンションジョイントを石材やタイル等の仕上げとする場合、一般的にはこれを箱状パネルとして施工する。
具体的には、箱状のメインパネルと、メインパネルに設けられた水分量の少ないモルタル(以下、敷きモルタル)等の下地層と、下地層にセメントペースト層を介して施工された石材やタイル等の仕上げ層とから成り、その一辺が回動可能に固定され、反対側に設けられた段部の高さに対応する形状を有し、免震クリアランスを覆って段部に載り、かつ、免震クリアランスが想定される最大長まで開いた時に段部に載った状態を維持できる長さを有し、さらに、免震クリアランスが想定される最小長まで閉じる過程で、固定側の一辺を中心に上方に回動するなどして段部を乗り越えることができるように構成されている。
上記の免震エキスパンションジョイントは、平常時の安全性を確保しながら、地震発生時においても免震クリアランスにより生じる隙間を無くし、その上を通行する人や車両等の安全性を確保することが可能である。
従来の免震エキスパンションジョイントは屋内外の人目に付く場所に設置されることが多いが、機能面のみが重視されており、外観については殆ど配慮されていない。
そのため、外観の悪化を防止する方策についても、殆ど開発されていない。
具体的には、従来の石材等の仕上げ用免震エキスパンションジョイントは、上記のようにその剛性及び機能性を確保するために箱状のメインパネルに下地層、セメントペースト層及び仕上げ層で構成されているが、降雨等によって仕上げ層に設けた目地等から徐々にその内側に水が浸入し、これがメインパネル内部で溜まり、この溜まった水分が増加し、石材等の仕上げ層裏面まで上がってくると、仕上げ層が吸水することによってその表面に水染みを生じさせ、外観を著しく悪化させるという問題があった。
本発明は、上記の問題点を解決し、仕上げ層に現れる水染みを防止することができる免震エキスパンションジョイント用パネルを提供することを目的としている。
【課題を解決するための手段】
【0004】
上記した目的を達成するために、本発明に係る免震エキスパンションジョイント用パネルは、箱状のメインパネルと、メインパネル内に積層された下地層及び仕上げ層とを備え、メインパネルの一辺が回動可能に固定され、メインパネルが反対側に設けられた段部の高さに対応する形状を有し、免震クリアランスを覆って段部に載り、かつ、免震クリアランスが想定される最大長まで開いた時に段部に載った状態を維持できる長さを有し、さらに、免震クリアランスが想定される最小長まで閉じる過程で、一辺を中心に上方に回動してその反対側の段部を乗り越えることができるように構成された免震エキスパンションジョイント用パネルであって、前記メインパネルに複数の水抜き孔を備え、その水抜き孔によるメインパネルの開口率が5~90%であることを特徴としている。
好ましくは、前記の水抜き孔によるメインパネルの開口率が20~90%であり得る。
また、前記箱状のメインパネルは、底板と底板の外周から底板を囲むように立ち上がる側板とから成り得、その水抜き孔は、底板及び/又は側板に形成され得る。
さらに、メインパネルの底板に複数の補強材を設け、その補強材上に前記下地層を配置することにより、下地層と底板との間に、複数の水抜き孔を有する空気層を形成してもよい。
また、各水抜き孔は、千鳥状又は並列状に配置され得る。
さらにまた、前記メインパネルの底板をメッシュパネル等の複数の孔を有した材料で形成し、それを前記水抜き孔として形成してもよい。
また、前記メインパネルの底板に免震側から非免震側への向きと平行に補強材を設け、その水抜き孔をその補強材を設置した方向に対して直交方向に配置してもよい。
さらに、前記メインパネルの底板に免震側から非免震側への向きと直交に補強材を設け、その水抜き孔をその補強材を設置した向きに対して直交方向に配置してもよい。
【発明の効果】
【0005】
本発明に係る免震エキスパンションジョイント用パネルは、箱状のメインパネルと、メインパネル内に積層された下地層及び仕上げ層とを備え、前記メインパネルの一辺が回動可能に固定され、反対側に設けられた段部の高さに対応する形状を有し、免震クリアランスを覆って段部に載り、かつ、免震クリアランスが想定される最大長まで開いた時に段部に載った状態を維持できる長さを有し、さらに、免震クリアランスが想定される最小長まで閉じる過程で、一辺を中心に上方に回動して段部を乗り越えることができるように構成された免震エキスパンションジョイント用パネルであって、前記メインパネルが複数の水抜き孔を備え、その水抜き孔によるメインパネルの開口率が5~90%であるので、雨等が降った場合でも、メインパネル内に浸入した水分を効率よく減らし、メインパネル内に水分が溜まることがなく、従って、経年使用による水染みが生じることもない。
【図面の簡単な説明】
【0006】
本発明に係る免震エキスパンションジョイント用パネルの第一実施例の分解図である。
免震エキスパンションジョイント用パネルの概略縦断面図である。
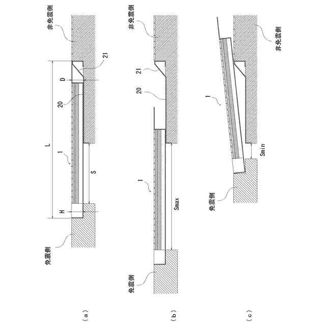
(a)は本発明に係る免震エキスパンションジョイント用パネルを使用した免震エキスパンションジョイントの使用状態(平常状態)を示す図であり、(b)は免震クリアランスSが想定される最大長Smaxまで開いた時の免震エキスパンションジョイントの状態を示す図であり、(c)は免震クリアランスSが想定される最小長Sminまで閉じた時の免震エキスパンションジョイントの状態を示す図である。
本発明に係る免震エキスパンションジョイント用パネルの第二実施例の分解図である。
本発明に係る免震エキスパンションジョイント用パネルの第三実施例の分解図である。
本発明に係る免震エキスパンションジョイント用パネルの第四実施例の分解図である。
本発明に係る免震エキスパンションジョイント用パネルの第五実施例の分解図である。
本発明に係る免震エキスパンションジョイント用パネルの第六実施例の分解図である。
本発明に係る免震エキスパンションジョイント用パネルの第七実施例の分解図である。
試験体1~6における水分残存量の経時的変化を示すグラフである。
【発明を実施するための形態】
【0007】
以下、添付図面を参照して、本発明に係る免震エキスパンションジョイント用パネルの実施の形態を説明していく。
図1は、本発明に係る免震エキスパンションジョイント用パネルの一実施例の分解図であり、図2は、本発明に係る免震エキスパンションジョイント用パネルの概略縦断面図である。尚、図2は、後述する補強材5を外した位置の概略縦断面図である。
図面に示すように、免震エキスパンションジョイント用パネル1は、箱状のメインパネル2を備えている。メインパネル2は、矩形底板3と、矩形底板3の周囲を囲む側壁4(4a~4d)とを備え、使用時に免震建物側(以下、免震側)に位置する側壁4aは免震側に回動可能に固定され、使用時に免震構造を備えていない部分(以下、非免震側)に位置する側壁4bには非免震側に延びるフランジ4eが設けられている。
また、メインパネル2の矩形底板3には、免震側から非免震側への向きと平行に補強材5が設けられており、さらに、矩形底板3には、前記補強材5を避けるように複数の水抜き孔6が形成されている。前記水抜き孔6は、矩形底板3の開口率が5~90%になるサイズ、配置及び数が好ましく、具体的には、この実施例では、例えば、水抜き孔6の孔径はφ8であり、かつ、各水抜き孔6間の配置ピッチは12mmであり、矩形底板3の開口率は、40.3%にされ得る。尚、この出願において図面は、構成を示すために概略的に作成されており、水抜き孔を含む各構成要素の寸法は寸法通りではないことは勿論である。
上記したように構成されたメインパネル2の補強材5の上には、例えば、この実施例では、水分量が少ないモルタル(以下、敷きモルタル)から成る下地層7が設けられ、この下地層7上には、セメントペースト8を介して石材やタイル等の仕上げ層9が設けられている。
上記したように、矩形底板3に、補強材5を避けるように複数の水抜き孔6を設け、かつ、下地増7を補強材5の上に設けることにより、補強材5間に水抜き孔6を有する空気層10(図2参照)が形成され、かつ、矩形底板3の開口率を40.3%としているので、雨等が降った場合でも、メインパネル2内に浸入した水分を効率よく減らし、メインパネル2内に水分が溜まることがなく、従って、経年使用による水染みが生じることもない。
上記したように構成された免震エキスパンションジョイント用パネル1、具体的には、メインパネル2は、その一辺(側壁4a)が回動可能に固定され、かつ、反対側に形成された段部20に載る(図3(a)参照)。従って、免震エキスパンションジョイント用パネル1、具体的には、メインパネル2の高さHは、形成された段部20の深さDとほぼ同一である。また、免震エキスパンションジョイント用パネル1、具体的には、メインパネル2の長さLは、免震クリアランスSが想定される最大長Smaxまで開いた時に前記非免震側の段部に載った状態を維持できる長さであり(図3(b)参照)、さらに、免震クリアランスSが想定される最小長Sminまで閉じる過程で、一辺を中心に上方に回動して段部20を乗り越えることができるように(図3(c)参照)、段部20には傾斜部21が形成されている。
【0008】
次に、図4を参照して本発明に係る免震エキスパンション用パネルの第二の実施例を説明する。尚、第一実施例と同一又は同等の構成要素には、同一の符号を付して詳細な説明は省略する。
図4は、本発明に係る免震エキスパンションジョイント用パネルの第二実施例の分解図であり、図面に示すように、この第二実施例に係る免震エキスパンションジョイント用パネル1は、箱状のメインパネル2の内部に下地層7を設け、下地層7の上にセメントペースト8を介して仕上げ層9を設けて成る。
メインパネル2の矩形底板3には、縁部3aを残した矩形開口3bが形成されており、該矩形開口3bを覆うようにメッシュパネル11が縁部3aに載せられ、メッシュパネル11により水抜き孔6が形成されるように構成されている。
この第二実施例では、前記矩形開口3b及び矩形開口3bを覆うメッシュパネル11によってメインパネル2の矩形底板3に水抜き孔が形成され、これによるメインパネル2の開口率は、例えば、44.4%である。
【0009】
次に、図5を参照して本発明に係る免震エキスパンション用パネルの第三の実施例を説明する。尚、第一実施例と同一又は同等の構成要素には、同一の符号を付して詳細な説明は省略する。
図5は、本発明に係る免震エキスパンションジョイント用パネルの第三実施例の分解図であり、図面に示すように、この第三実施例に係る免震エキスパンションジョイント用パネル1は、箱状のメインパネル2の内部に下地層7を設け、下地層7の上にセメントペースト8を介して仕上げ層9を設けて成る。
メインパネル2の矩形底板3には、幅方向に延びる複数のスリット3cが形成されており、かつ、免震側から非免震側への向きと平行に複数の補強材5が設けられている。このように、補強材5の向きに直交する方向にスリット3cを形成することにより、補強材5を設けても補強材5がスリット3cを完全に塞ぐことなく、補強材5間にスリット3cが表れ、補強材5間に現れたスリット3cを水抜き孔6として機能させることができ、これによるメインパネル2の開口率は、例えば、45.2%である。
【0010】
次に、図6を参照して本発明に係る免震エキスパンション用パネルの第四の実施例を説明する。尚、第一実施例と同一又は同等の構成要素には、同一の符号を付して詳細な説明は省略する。
図6は、本発明に係る免震エキスパンションジョイント用パネルの第四実施例の分解図であり、図面に示すように、この第四実施例に係る免震エキスパンションジョイント用パネル1は、箱状のメインパネル2の内部に下地層7を設け、下地層7の上にセメントペースト8を介して仕上げ層9を設けて成る。
メインパネル2の矩形底板3には、幅方向に延びる複数のスリット3cが形成されており、かつ、免震側から非免震側への向きに複数の補強材5が設けられ、補強材5間に現れたスリット3cが水抜き孔6として機能する。また、この実施例では、メインパネル2の側壁4c及び4dにも水抜き孔6が形成されている。
上記した構成により、補強材5間に現れたスリット3cが水抜き孔6として機能してメインパネル2の下方から水が抜けると共に、側壁4c及び4dに形成された水抜き孔6によりメインパネル2の側面からも水が抜けるので、雨等が降った場合でも、メインパネル2内に浸入した水分を効率よく減らし、メインパネル2内に水分が溜まることがなく、従って、経年使用による水染みが生じることもない。
(【0011】以降は省略されています)
この特許をJ-PlatPat(特許庁公式サイト)で参照する
関連特許
三洋工業株式会社
床構造
1か月前
三洋工業株式会社
床構造
1か月前
三洋工業株式会社
ルーバー材取付部材及び天井構造
1か月前
三洋工業株式会社
免震エキスパンションジョイント用パネル
24日前
個人
接合構造
2か月前
個人
屋台
2か月前
個人
タッチミー
2か月前
個人
野良猫ハウス
3か月前
個人
フェンス
3か月前
個人
転落防止用手摺
3か月前
個人
安心補助てすり
1か月前
ニチハ株式会社
建築板
3か月前
個人
居住車両用駐車場
3か月前
積水樹脂株式会社
柵体
2か月前
個人
筋交自動設定装置
2か月前
個人
ベンリナアングル
2か月前
個人
熱抵抗多層断熱建材
3か月前
個人
免震建築構造
3日前
個人
補強部材
3か月前
個人
身体用シェルター
2か月前
個人
身体用シェルター
2か月前
成友建設株式会社
建物
3か月前
株式会社フジタ
合成床
3日前
株式会社シンケン
住宅
1か月前
鹿島建設株式会社
壁体
3か月前
個人
防災建築物
1か月前
三協立山株式会社
構造体
2か月前
三協立山株式会社
構造体
26日前
三協立山株式会社
構造体
2か月前
三協立山株式会社
構造体
2か月前
株式会社熊谷組
床構成材
2か月前
株式会社大林組
接合構造
1か月前
三協立山株式会社
構造体
2か月前
三協立山株式会社
構造体
2か月前
三協立山株式会社
構造体
2か月前
三協立山株式会社
構造体
1か月前
続きを見る
他の特許を見る