TOP
|
特許
|
意匠
|
商標
特許ウォッチ
Twitter
他の特許を見る
10個以上の画像は省略されています。
公開番号
2025173710
公報種別
公開特許公報(A)
公開日
2025-11-28
出願番号
2024079402
出願日
2024-05-15
発明の名称
コンクリート組成物の施工タイミングの予測方法及び予測装置、並びにコンクリート組成物の施工方法
出願人
三井住友建設株式会社
代理人
個人
,
個人
主分類
G01N
33/38 20060101AFI20251120BHJP(測定;試験)
要約
【課題】コンクリート組成物の表面を均すのに適切な施工タイミングを簡便で効率良く予測することができるコンクリート組成物の施工タイミングの予測方法の提供。
【解決手段】コンクリート組成物の表面を均すのに適切な施工タイミングの予測方法であって、前記コンクリート組成物の練上り温度と、前記コンクリート組成物の打設時の雰囲気温度と、前記コンクリート組成物の所定の貫入抵抗値との関係を示す関係式を利用して、前記コンクリート組成物への注水時から、前記コンクリート組成物の前記所定の貫入抵抗値に到達するまでの予測経過時間を算出することを含むコンクリート組成物の施工タイミングの予測方法である。
【選択図】図7
特許請求の範囲
【請求項1】
コンクリート組成物の表面を均すのに適切な施工タイミングの予測方法であって、
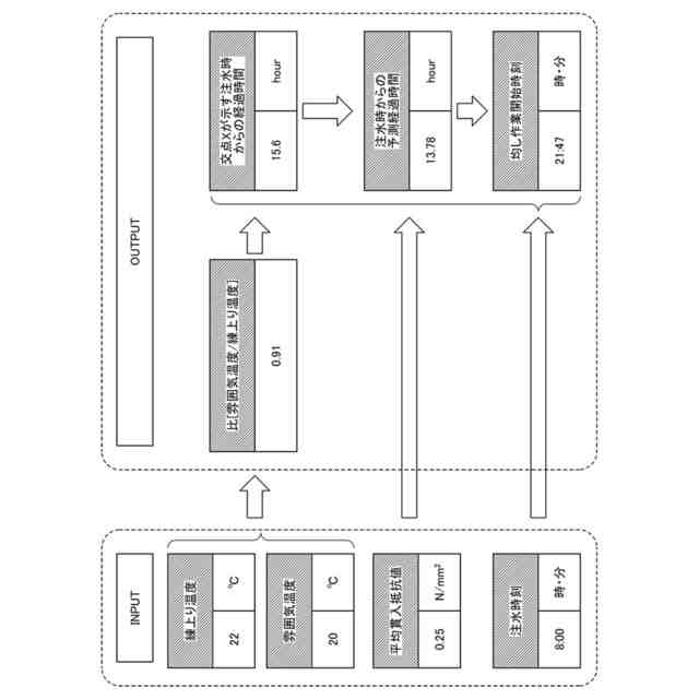
前記コンクリート組成物の練上り温度と、前記コンクリート組成物の打設時の雰囲気温度と、前記コンクリート組成物の所定の貫入抵抗値との関係を示す関係式を利用して、前記コンクリート組成物への注水時から、前記コンクリート組成物の前記所定の貫入抵抗値に到達するまでの予測経過時間を算出することを含むことを特徴とする、コンクリート組成物の施工タイミングの予測方法。
続きを表示(約 1,900 文字)
【請求項2】
前記関係式が、
工程1:前記コンクリート組成物の原材料に水を添加する前記注水時を決定する工程と、
工程2:前記コンクリート組成物の練上り時の前記練上り温度と、練り上げた前記コンクリート組成物を型枠に打設する際の前記雰囲気温度との複数の組合せに対応する前記コンクリート組成物の貫入抵抗値をそれぞれ測定する工程と、
工程3:前記貫入抵抗値と、前記注水時からの経過時間との関係Iを決定する工程と、
工程4:前記関係Iに基づき、前記コンクリート組成物の表面を均すのに適切な貫入抵抗値の所定の点を通る接線aを、前記練上り温度と前記雰囲気温度との複数の組合せに対してそれぞれ決定する工程と、
工程5:前記関係Iに基づき、前記注水時からの経過時間が0時間の原点を通る接線bを、前記練上り温度と前記雰囲気温度との複数の組合せに対してそれぞれ決定する工程と、
工程6:前記接線aと、前記接線bとの交点Xを、前記練上り温度と前記雰囲気温度との複数の組合せに対してそれぞれ決定する工程と、
工程7:前記工程2における前記練上り温度と前記雰囲気温度との複数の組合せについて、それぞれ前記雰囲気温度を前記練上り温度で除した比[雰囲気温度/練上り温度]を決定する工程と、
工程8:前記交点Xが示す注水時からの経過時間と、前記比[雰囲気温度/練上り温度]との関係IIを決定する工程と、
工程9:前記関係Iに基づく前記注水時からの経過時間を、前記交点Xが示す注水時からの経過時間で除した比[注水時からの経過時間/交点Xが示す注水時からの経過時間]を決定する工程と、
工程10:前記比[注水時からの経過時間/交点Xが示す注水時からの経過時間]と、前記関係Iに基づく、前記注水時からの経過時間に対応する前記貫入抵抗値との関係IIIを決定する工程と、
により算出される、請求項1に記載のコンクリート組成物の施工タイミングの予測方法。
【請求項3】
前記予測経過時間を算出することが、
工程11:前記関係IIIから、前記コンクリート組成物の表面を均すのに適切な貫入抵抗値及び前記関係IIから導かれる前記交点Xが示す注水時からの経過時間に基づき、前記注水時から前記コンクリート組成物の表面を均すのに適切な貫入抵抗値に達するまでの予測経過時間を算出する工程である、請求項2に記載のコンクリート組成物の施工タイミングの予測方法。
【請求項4】
工程12:前記工程1において前記注水時に記録した実際の時刻に、前記工程11で算出した前記注水時から前記コンクリート組成物の表面を均すのに適切な前記貫入抵抗値に達するまでの前記予測経過時間を加算し、均し作業開始時刻を決定する工程を更に含む、請求項3に記載のコンクリート組成物の施工タイミングの予測方法。
【請求項5】
工程13:前記コンクリート組成物の表面を均すのに適切な貫入抵抗値の範囲を決定する工程を更に含む、請求項2に記載のコンクリート組成物の施工タイミングの予測方法。
【請求項6】
前記コンクリート組成物の表面を均すのに適切な貫入抵抗値の範囲が0.25N/mm
2
~1.00N/mm
2
である、請求項2に記載のコンクリート組成物の施工タイミングの予測方法。
【請求項7】
前記練上り温度の範囲が5℃~40℃である、請求項1に記載のコンクリート組成物の施工タイミングの予測方法。
【請求項8】
前記雰囲気温度の範囲が5℃~45℃である、請求項1に記載のコンクリート組成物の施工タイミングの予測方法。
【請求項9】
前記コンクリート組成物が、細骨材、粗骨材、及び水を含む、請求項1に記載のコンクリート組成物の施工タイミングの予測方法。
【請求項10】
コンクリート組成物の表面を均すのに適切な施工タイミングの予測装置であって、
前記コンクリート組成物の練上り温度と、前記コンクリート組成物の打設時の雰囲気温度と、前記コンクリート組成物の所定の貫入抵抗値との関係を示す関係式を算出する手段と、
前記コンクリート組成物への注水時から、前記コンクリート組成物の前記所定の貫入抵抗値に到達するまでの予測経過時間を算出する手段と、
を有することを特徴とする、コンクリート組成物の施工タイミングの予測装置。
(【請求項11】以降は省略されています)
発明の詳細な説明
【技術分野】
【0001】
本発明は、コンクリート組成物の施工タイミングの予測方法及び予測装置、並びにコンクリート組成物の施工方法に関する。
続きを表示(約 2,100 文字)
【背景技術】
【0002】
高速道路、橋梁などのコンクリート床版としてプレキャストコンクリート床版が使用されている。プレキャストコンクリート床版は間にギャップを設けて配置され、ギャップに間詰コンクリートを打設して、床版接合部を施工することで一体化される。このようなギャップを介して互いに対向する一対のプレキャストコンクリート床版の接続構造としての間詰コンクリートとして、細骨材と、粗骨材とを含む組成物が提案されている(特許文献1参照)。
【0003】
また、床版接合部は勾配を有することが多い。勾配を有する床版接合部を施工する際には、コンクリート組成物を型枠に打設後、該型枠から流れ出てしまうことを防止するために押え具(伏せ型具)が必要である。
【0004】
コンクリート組成物は打設後に気泡が発生し、天端面に大きな気泡が発生することがある。また、施工現場が勾配を有する場合は、型枠内でコンクリート組成物が偏り、勾配最上部で沈降が生じることもある。そのため、押え具を撤去した後、仕上げ(均し)作業を行う必要がある。均し作業は、コンクリート組成物が型枠から流れ出ない固さであり、かつ固すぎない程度に硬化した状態で行う必要があるため、押え具を撤去するタイミングが重要である。
【0005】
押え具を撤去するタイミングは、一般的に、熟練作業者がコンクリート組成物の表面を触った固さ、見た目の色、ブリーディング水の発生具合などの感覚及び経験値から判断する必要がある。近年、熟練作業者の不足により、この感覚及び経験値による施工は成り立たなくなりつつあり、コンクリートの施工品質の低下に繋がる恐れがある。また、コンクリート組成物の硬化は養生温度等の環境条件によっても左右され、気温が高い時期ではコンクリート組成物の硬化が速く、押え具の撤去が遅れて固くなりすぎ、均し作業が難しくなることがあり、反対に気温が低い時期ではコンクリート組成物の硬化が遅く、押え具の撤去が早すぎ、コンクリート組成物の表面の剥がれ等の不具合が発生することがある。このように、コンクリート組成物の施工において、押え具を撤去するタイミングの管理は極めて重要であるものの、その判断が難しいという問題がある。
【0006】
コンクリート組成物の硬化状態を確認する方法としては、JISの貫入抵抗試験(JIS A 1147:2019)がある。これは、コンクリートから目開き4.75mmの網ふるいでふるったモルタルを試験体とし、規定の貫入針を垂直に刺した際の貫入抵抗値を求める方法である。この方法によれば、測定結果をプロットしてコンクリートの始発時間(貫入抵抗値が3.5N/mm
2
になるまでの時間)及び終結時間(貫入抵抗値が28.0N/mm
2
になるまでの時間)と、これらプロットの近似曲線から傾きAと切片B及び近似式を求めることができる。この方法は、施工現場にサンプル用型枠を置き、サンプル用型枠内で、施工現場で使用するコンクリート組成物を養生し、所定時間(例えば、30分間~1時間毎)に都度貫入抵抗試験を行いながら経過観察する必要があるが、この経過観察が10時間以上かかることもあり、非常に手間がかかるという問題があった。更に、コンクリート組成物の組成などによって、均し作業に適切な貫入抵抗値も異なるため、結局のところ、上述の通り、熟練作業者が均し作業に適切なタイミングを見極める必要がある。
【0007】
したがって、押え具を撤去し、均し作業を行うために、簡便で効率良くコンクリート組成物の表面を均すのに適切な施工タイミングを予測することができる予測方法及び予測装置が求められている。
【先行技術文献】
【特許文献】
【0008】
特開2022-79221号公報
【発明の概要】
【発明が解決しようとする課題】
【0009】
本発明は、従来における前記諸問題を解決し、以下の目的を達成することを課題とする。即ち、本発明は、コンクリート組成物の表面を均すのに適切な施工タイミングを簡便で効率良く予測することができるコンクリート組成物の施工タイミングの予測方法及び予測装置、並びに簡便で効率の良いコンクリート組成物の施工方法を提供することを目的とする。
【課題を解決するための手段】
【0010】
前記課題を解決するための手段としてのコンクリート組成物の施工タイミングの予測方法(以下、「予測方法」と略記することがある)は、コンクリート組成物の表面を均すのに適切な施工タイミングの予測方法であって、前記コンクリート組成物の練上り温度と、前記コンクリート組成物の打設時の雰囲気温度と、前記コンクリート組成物の所定の貫入抵抗値との関係を示す関係式を利用して、前記コンクリート組成物への注水時から、前記コンクリート組成物の前記所定の貫入抵抗値に到達するまでの予測経過時間を算出することを含むことを特徴とする。
【発明の効果】
(【0011】以降は省略されています)
この特許をJ-PlatPat(特許庁公式サイト)で参照する
関連特許
株式会社カクマル
境界杭
14日前
日本精機株式会社
発光表示装置
7日前
株式会社トプコン
測量装置
6日前
日本特殊陶業株式会社
ガスセンサ
6日前
日本特殊陶業株式会社
ガスセンサ
今日
本陣水越株式会社
車載式計測標的物
1日前
日本特殊陶業株式会社
センサ
8日前
株式会社タイガーカワシマ
揚穀装置
6日前
キーコム株式会社
画像作成システム
14日前
理研計器株式会社
ガス検知装置
14日前
スズキ株式会社
タイヤ径算出システム
今日
株式会社川島製作所
海苔の異物検査装置
20日前
株式会社アイシン
回転角検出装置
14日前
CKD株式会社
シート情報確認システム
今日
合同会社画像技術研究所
カラーチャート
20日前
京セラ株式会社
振動検出方法
7日前
株式会社イシダ
計量装置
14日前
矢崎総業株式会社
電流センサ
今日
株式会社東芝
センサ及び電子装置
1日前
矢崎総業株式会社
光ファイバ型センサ
7日前
株式会社ディスコ
試験装置、及び、試験方法
7日前
株式会社日立製作所
演算装置
6日前
レーザーテック株式会社
光学装置及び計測方法
14日前
株式会社Profid
接触冷感測定装置
今日
個人
合成開口レーダシステム
8日前
株式会社ハシマ
検針機および検針システム
6日前
株式会社イシダ
組合せ計量装置
20日前
トヨタ自動車株式会社
位置ズレ検知システム
6日前
イエローテイル・ナビゲーション株式会社
衛星航法受信機
14日前
株式会社IHI
判定方法
14日前
株式会社小野測器
トルク計
今日
ホシデン株式会社
温度センサ
7日前
株式会社小野測器
測定装置
6日前
株式会社小野測器
トルク計
6日前
株式会社東芝
光電流センサ
今日
株式会社小野測器
測定装置
8日前
続きを見る
他の特許を見る