TOP
|
特許
|
意匠
|
商標
特許ウォッチ
Twitter
他の特許を見る
10個以上の画像は省略されています。
公開番号
2025176594
公報種別
公開特許公報(A)
公開日
2025-12-04
出願番号
2024082858
出願日
2024-05-21
発明の名称
電流センサ
出願人
矢崎総業株式会社
代理人
個人
,
個人
,
個人
主分類
G01R
15/20 20060101AFI20251127BHJP(測定;試験)
要約
【課題】屈曲形状のバスバーを用いつつ、大型化を抑えて磁束収束板の磁気飽和を抑制することができる電流センサを提供する。
【解決手段】電流センサ1が、第1部分111の一端縁111aから第2部分112が突出したバスバー11と、バスバー11の第1部分111の中途部分111bを、直交断面形状がC字をなすように囲み、バスバー11に電流Iが流れたときの磁束を中途部分111bの周囲に収束させる部材であって、C字における開口部12aが第2部分112の突出方向D11に向けて開口するように配置された磁束収束板12と、磁束収束板12が収束させた磁束を介してホール素子131で電流Iを検出するセンサ部13と、を備えたことを特徴とする。
【選択図】図1
特許請求の範囲
【請求項1】
導電性金属で形成されて測定対象の電流が流される部材であって、帯板状の第1部分、及び当該第1部分の一端縁から、当該第1部分の表裏面と交差する突出方向に突出した帯板状の第2部分、を有するバスバーと、
前記バスバーの前記第1部分におけるバスバー長手方向の中途部分を、前記バスバー長手方向に対する直交断面形状がC字をなすように囲む屈曲板形状に軟磁性材料で形成され、前記バスバーに前記電流が流れたときに当該電流に起因して発生する磁束を前記中途部分の周囲に収束させる部材であって、前記C字における開口部が前記突出方向に向けて開口するように配置された磁束収束板と、
電流検出用のホール素子を有し、当該ホール素子が前記開口部と前記中途部分の間に位置した状態で前記磁束収束板に囲まれるように配置され、当該磁束収束板が収束させた前記磁束を介して前記電流を検出するセンサ部と、
を備えたことを特徴とする電流センサ。
続きを表示(約 720 文字)
【請求項2】
前記バスバーが、前記突出方向及び前記バスバー長手方向に対する直交方向からの側面視でL字をなすように前記第1部分及び前記第2部分のみで構成された部材であり、
前記磁束収束板は、前記バスバー長手方向について、前記第1部分において前記第2部分が突出した前記一端縁、及び反対側の他端縁のうち、前記一端縁に近い位置に配置されていることを特徴とする請求項1に記載の電流センサ。
【請求項3】
前記磁束収束板が、前記バスバー長手方向について、前記第1部分の中央よりも前記一端縁に近い位置に配置されていることを特徴とする請求項2に記載の電流センサ。
【請求項4】
前記磁束収束板が、
前記第1部分の前記中途部分における表裏面のうち前記ホール素子の配置側とは反対側の面と対面するように前記第1部分のバスバー幅方向に沿った収束板長手方向に当該第1部分の幅寸法よりも長く延在した底板部と、
前記底板部における前記収束板長手方向の両端縁それぞれから前記第2部分の前記突出方向に突出した一対の腕板部と、
前記一対の腕板部それぞれの突出端縁から前記収束板長手方向に沿って前記中途部分における前記ホール素子の配置側の面と対面するように延出するとともに、延出端縁どうしが前記開口部を形成するように互いに離隔した一対の天板部と、
を備えたものであることを特徴とする請求項1に記載の電流センサ。
【請求項5】
前記ホール素子が、前記突出方向について、前記第1部分よりも前記磁束収束板における前記開口部に近い位置に配置されることを特徴とする請求項1に記載の電流センサ。
発明の詳細な説明
【技術分野】
【0001】
本発明は、ホール素子を使って測定対象の電流を検出する電流センサに関するものとなっている。
続きを表示(約 2,100 文字)
【背景技術】
【0002】
従来、ホール素子を使って測定対象の電流を検出する電流センサが知られている(例えば、特許文献1参照。)。この特許文献1に記載されているような電流センサは、多くの場合、測定対象の電流をバスバーに流し、そのバスバーの近傍に配置されたホール素子により、バスバーを電流が流れたときに発生する磁束を介して電流を検出するものとなっている。また、ホール素子の周囲に磁束を収束させて電流の測定感度を高めるために、ホール素子をバスバーの中途部分とともに囲む軟磁性材料の磁束収束板を設けることが行われている。
【先行技術文献】
【特許文献】
【0003】
特開2011-232246号公報
【発明の概要】
【発明が解決しようとする課題】
【0004】
ここで、上述のような電流センサにおけるバスバーとして、帯板状の第1部分と、その一端縁から突出した帯板状の第2部分を有する屈曲形状のバスバーが用いられることがある。このような屈曲形状のバスバーに上述の磁束収束板を設ける場合、ストレート形状のバスバーを用いる場合と比較して磁束収束板の磁気飽和が起き易く、測定精度が低下することがある。磁気飽和を抑制するために磁束収束板を大きくすることも考えられるが、センサ自体を大型化させてしまうことからあまり望ましいものではない。
【0005】
従って、本発明は、上記のような問題に着目し、屈曲形状のバスバーを用いつつ、大型化を抑えて磁束収束板の磁気飽和を抑制することができる電流センサを提供することを目的とする。
【課題を解決するための手段】
【0006】
上記課題を解決するために、電流センサは、導電性金属で形成されて測定対象の電流が流される部材であって、帯板状の第1部分、及び当該第1部分の一端縁から、当該第1部分の表裏面と交差する突出方向に突出した帯板状の第2部分、を有するバスバーと、前記バスバーの前記第1部分におけるバスバー長手方向の中途部分を、前記バスバー長手方向に対する直交断面形状がC字をなすように囲む屈曲板形状に軟磁性材料で形成され、前記バスバーに前記電流が流れたときに当該電流に起因して発生する磁束を前記中途部分の周囲に収束させる部材であって、前記C字における開口部が前記突出方向に向けて開口するように配置された磁束収束板と、電流検出用のホール素子を有し、当該ホール素子が前記開口部と前記中途部分の間に位置した状態で前記磁束収束板に囲まれるように配置され、当該磁束収束板が収束させた前記磁束を介して前記電流を検出するセンサ部と、を備えたことを特徴とする。
【発明の効果】
【0007】
上述の電流センサによれば、屈曲形状のバスバーを用いつつ、大型化を抑えて磁束収束板の磁気飽和を抑制することができる。
【図面の簡単な説明】
【0008】
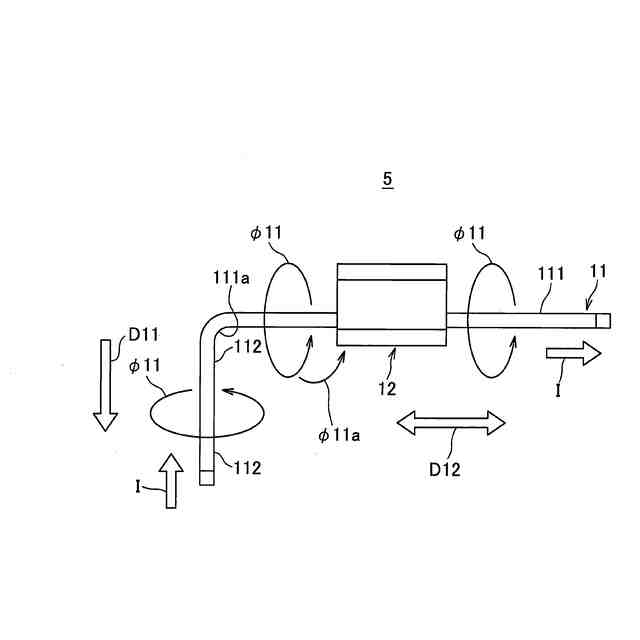
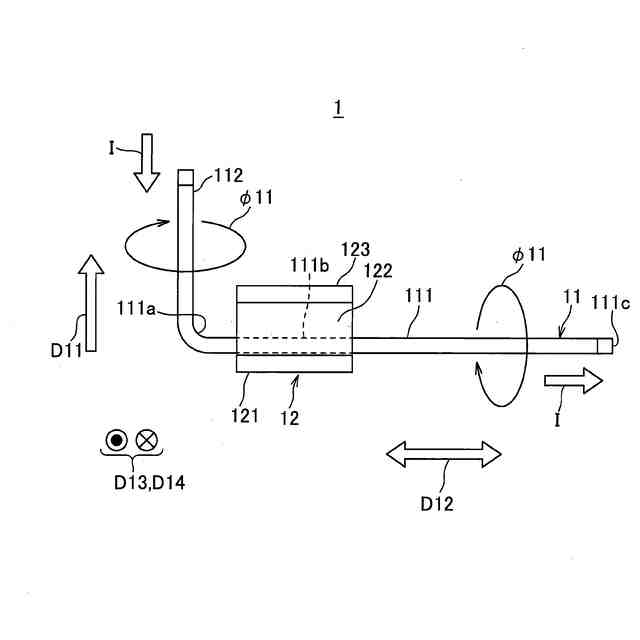
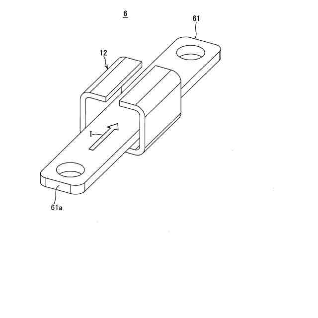
実施形態に係る電流センサを示す斜視図である。
図1に示されている電流センサを図1中の矢印V11方向から見た側面図である。
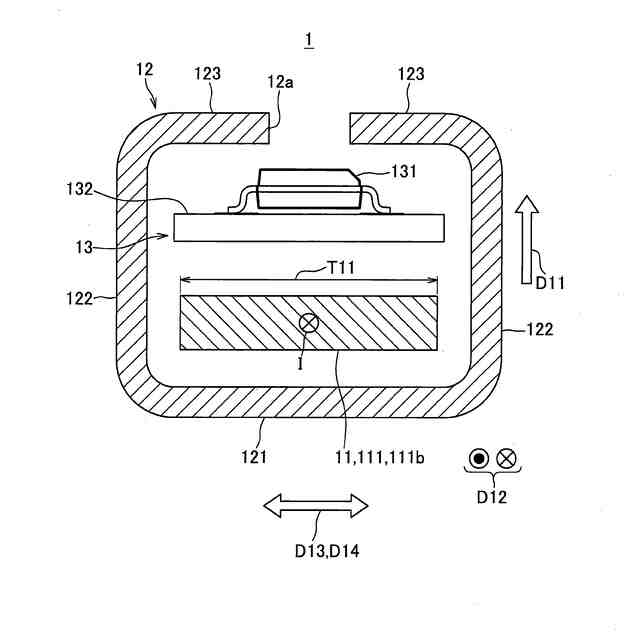
図1に示されている電流センサの、図1中のV12-V12線に沿った断面を示した断面図である。
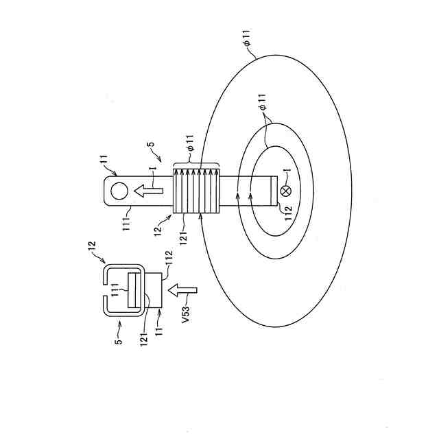
図1~図3に示されている電流センサに対する比較例の電流センサを示す斜視図である。
図4に示されている電流センサを図4中の矢印V51方向から見た側面図である。
図4及び図5に示されている比較例の電流センサにおいて、バスバーに電流が流れたときに発生する磁束が磁束収束板に吸収される様子を示す模式図である。
図1~図3に示されている実施形態の電流センサにおいて、バスバーに電流が流れたときの磁束の磁束収束板による吸収が抑制される様子を示す模式図である。
図1~図3に示されている実施形態の電流センサ及び図4及び図5に示されている比較例の電流センサの磁束収束板における磁束密度を、ストレート形状のバスバーを用いた基準形態の電流センサと共に示したグラフである。
図8のグラフに磁束収束板における磁束密度が示されている基準形態の電流センサを示す斜視図である。
図1~図3に示されている実施形態の電流センサ、図4及び図5に示されている比較例の電流センサ、及び図9に示されている基準形態の電流センサの相互間で、ホール素子の配置位置の磁束密度が互いに略同程度の値となることを示したグラフである。
【発明を実施するための形態】
【0009】
以下、電流センサの一実施形態について説明する。
【0010】
図1は、実施形態に係る電流センサを示す斜視図であり、図2は、図1に示されている電流センサを図1中の矢印V11方向から見た側面図である。また、図3は、図1に示されている電流センサの、図1中のV12-V12線に沿った断面を示した断面図である。
(【0011】以降は省略されています)
この特許をJ-PlatPat(特許庁公式サイト)で参照する
関連特許
矢崎総業株式会社
端子
1か月前
矢崎総業株式会社
端子
6日前
矢崎総業株式会社
箱状体
1か月前
矢崎総業株式会社
端子台
1日前
矢崎総業株式会社
箱状体
1か月前
矢崎総業株式会社
端子台
1日前
矢崎総業株式会社
端子台
1日前
矢崎総業株式会社
端子台
1日前
矢崎総業株式会社
箱状体
1か月前
矢崎総業株式会社
箱状体
1か月前
矢崎総業株式会社
箱状体
1か月前
矢崎総業株式会社
報知装置
1か月前
矢崎総業株式会社
コネクタ
1か月前
矢崎総業株式会社
コネクタ
1か月前
矢崎総業株式会社
給電装置
7日前
矢崎総業株式会社
コネクタ
1か月前
矢崎総業株式会社
バスバー
1か月前
矢崎総業株式会社
コネクタ
14日前
矢崎総業株式会社
照明装置
1か月前
矢崎総業株式会社
照明装置
1か月前
矢崎総業株式会社
接続構造
1か月前
矢崎総業株式会社
コネクタ
7日前
矢崎総業株式会社
照明装置
1か月前
矢崎総業株式会社
電源回路
14日前
矢崎総業株式会社
コネクタ
29日前
矢崎総業株式会社
コネクタ
29日前
矢崎総業株式会社
照明装置
1か月前
矢崎総業株式会社
コネクタ
6日前
矢崎総業株式会社
コネクタ
15日前
矢崎総業株式会社
コネクタ
2か月前
矢崎総業株式会社
コネクタ
2か月前
矢崎総業株式会社
コネクタ
2か月前
矢崎総業株式会社
コネクタ
2か月前
矢崎総業株式会社
止水部材
2か月前
矢崎総業株式会社
コネクタ
今日
矢崎総業株式会社
コネクタ
今日
続きを見る
他の特許を見る