TOP
|
特許
|
意匠
|
商標
特許ウォッチ
Twitter
他の特許を見る
10個以上の画像は省略されています。
公開番号
2025171512
公報種別
公開特許公報(A)
公開日
2025-11-20
出願番号
2024076940
出願日
2024-05-10
発明の名称
判定方法
出願人
株式会社IHI
代理人
弁理士法人青海国際特許事務所
主分類
G01N
33/30 20060101AFI20251113BHJP(測定;試験)
要約
【課題】燃料油と潤滑油との組み合わせの適否を事前に判定する。
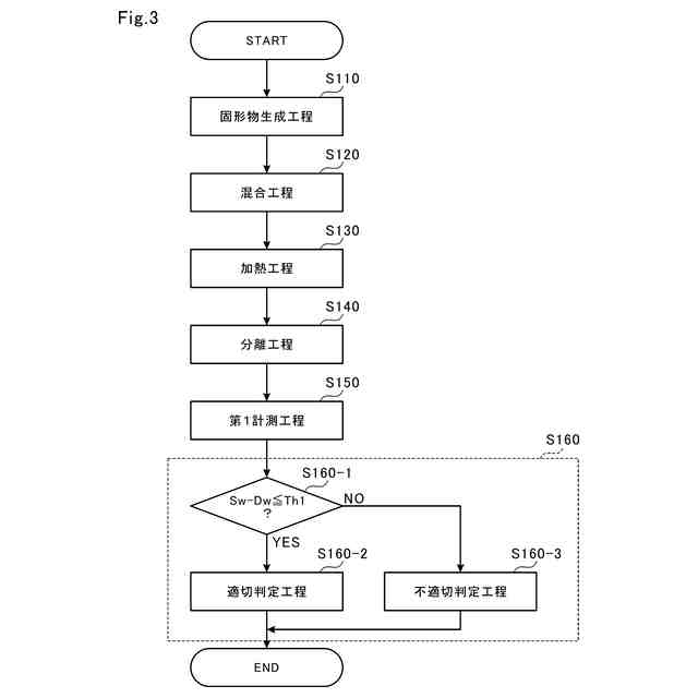
【解決手段】判定方法は、燃料油の不完全燃焼生成物のうちの固形物と、潤滑油とを混合する混合工程S120と、固形物と潤滑油との固液混合物を第1温度で加熱する加熱工程S130と、第1温度で加熱したことによる、固液混合物中の固体の質量の変化量に基づいて、燃料と潤滑油との組み合わせの適否を判定する第1判定工程S160と、を含む。
【選択図】図3
特許請求の範囲
【請求項1】
燃料油の不完全燃焼生成物のうちの固形物と、潤滑油とを混合する混合工程と、
前記固形物と前記潤滑油との固液混合物を第1温度で加熱する加熱工程と、
前記第1温度で加熱したことによる、前記固液混合物中の固体の質量の変化量に基づいて、前記燃料油と前記潤滑油との組み合わせの適否を判定する第1判定工程と、
を含む、判定方法。
続きを表示(約 480 文字)
【請求項2】
前記第1温度よりも高い第2温度で前記燃料油を加熱して、前記固形物を生成する固形物生成工程をさらに含み、
前記混合工程では、前記固形物生成工程で生成された前記固形物と、前記潤滑油とを混合する、請求項1に記載の判定方法。
【請求項3】
エンジンの燃焼室から前記固形物を採取する採取工程をさらに含み、
前記混合工程では、前記採取工程で採取された前記固形物と、前記潤滑油とを混合する、請求項1に記載の判定方法。
【請求項4】
前記第1温度で加熱したことによる、前記固液混合物中の液体に含まれるカルボキシル基の濃度の変化量に基づいて、前記燃料油と前記潤滑油との組み合わせの適否を判定する第2判定工程をさらに含む、請求項1から3のいずれか1項に記載の判定方法。
【請求項5】
前記第1温度は、100℃以上400℃以下である、請求項1から3のいずれか1項に記載の判定方法。
【請求項6】
前記第2温度は、300℃以上2000℃以下である、請求項2に記載の判定方法。
発明の詳細な説明
【技術分野】
【0001】
本開示は、判定方法に関する。
続きを表示(約 990 文字)
【背景技術】
【0002】
エンジンの潤滑油が劣化し、潤滑油中に固体の夾雑物が生じると、スカッフィング等の損傷が発生するという問題がある。
【0003】
そこで、運転中のエンジンから潤滑油を分取し、分取した潤滑油に硫酸を添加して潤滑油の劣化状態を検知する技術が開発されている(例えば、特許文献1)。
【先行技術文献】
【特許文献】
【0004】
特開2012-137342号公報
【発明の概要】
【発明が解決しようとする課題】
【0005】
固体の夾雑物が生成される原因の1つとして、エンジンの燃焼室等における潤滑油への燃料油の混入が考えられる。このため、燃料油と潤滑油との組み合わせの適否を事前に判定できる技術の開発が希求されている。
【0006】
本開示は、このような課題に鑑み、燃料油と潤滑油との組み合わせの適否を事前に判定することが可能な判定方法を提供することを目的としている。
【課題を解決するための手段】
【0007】
上記課題を解決するために、本開示の一態様に係る判定方法は、燃料油の不完全燃焼生成物のうちの固形物と、潤滑油とを混合する混合工程と、固形物と潤滑油との固液混合物を第1温度で加熱する加熱工程と、第1温度で加熱したことによる、固液混合物中の固体の質量の変化量に基づいて、燃料油と潤滑油との組み合わせの適否を判定する第1判定工程と、を含む。
【0008】
また、上記判定方法は、第1温度よりも高い第2温度で燃料油を加熱して、固形物を生成する固形物生成工程をさらに含み、混合工程では、固形物生成工程で生成された固形物と、潤滑油とを混合してもよい。
【0009】
また、上記判定方法は、エンジンの燃焼室から固形物を採取する採取工程をさらに含み、混合工程では、採取工程で採取された固形物と、潤滑油とを混合してもよい。
【0010】
また、上記判定方法は、第1温度で加熱したことによる、固液混合物中の液体に含まれるカルボキシル基の濃度の変化量に基づいて、燃料油と潤滑油との組み合わせの適否を判定する第2判定工程をさらに含んでもよい。
(【0011】以降は省略されています)
この特許をJ-PlatPat(特許庁公式サイト)で参照する
関連特許
株式会社IHI
翼車
1日前
株式会社IHIポールワース
炉頂装置
14日前
株式会社IHIアグリテック
トレーラ
1か月前
株式会社IHIアグリテック
農作業機
1か月前
株式会社IHI
検査方法
1日前
株式会社IHIアグリテック
農作業機
1か月前
株式会社IHI
判定方法
22日前
株式会社IHI
電力変換システム
2日前
株式会社IHI原動機
エンジンシステム
7日前
株式会社IHI
粉末積層造形装置
7日前
株式会社IHI
油圧PWM制御弁
14日前
株式会社IHI回転機械エンジニアリング
サイレンサ及び過給機
15日前
株式会社IHI
スラストフォイル軸受
1日前
株式会社IHI建材工業
セグメントの接合構造
1か月前
株式会社IHIインフラ建設
ワイヤロープ油除去装置
1か月前
株式会社IHI
クリンチング接合検査装置
1か月前
株式会社IHI
探索装置、および、探索方法
14日前
株式会社IHI
ロータ及びロータの製造方法
7日前
株式会社IHIインフラシステム
吊材取替方法及び吊材取替装置
1か月前
株式会社IHI
ラジアルフォイル軸受及び回転機械
8日前
株式会社IHI
タービンまたはコンプレッサの後端構造
1日前
株式会社IHI
超音波接合方法、および、超音波接合装置
22日前
JFEスチール株式会社
高炉の原料装入方法
14日前
株式会社IHI
二酸化炭素回収システム及び二酸化炭素回収方法
9日前
株式会社IHI
鉄または鉄合金を接着する組成物および接着方法
14日前
株式会社IHI
画像処理装置、画像処理方法、及び、画像処理プログラム
1か月前
株式会社IHI
塩化物イオン濃度測定装置及び塩化物イオン濃度測定方法
8日前
株式会社IHIアグリテック
農作業用自動化システム及び当該システムを搭載した農業機械
7日前
株式会社IHI
輪留めの設置を管理する管理装置、管理方法、及び、管理プログラム
1日前
株式会社IHI
ガスタービンシステム
9日前
株式会社IHIエアロスペース
固体ロケットモータ用ノズル及び当該ノズルを備える固体ロケットモータ
7日前
個人
視触覚センサ
7日前
株式会社イシダ
表示装置
2日前
個人
計量機能付き容器
1か月前
株式会社カクマル
境界杭
22日前
日本精機株式会社
液面検出装置
2日前
続きを見る
他の特許を見る