TOP
|
特許
|
意匠
|
商標
特許ウォッチ
Twitter
他の特許を見る
公開番号
2025165202
公報種別
公開特許公報(A)
公開日
2025-11-04
出願番号
2024069166
出願日
2024-04-22
発明の名称
農作業機
出願人
株式会社IHIアグリテック
代理人
弁理士法人英知国際特許商標事務所
主分類
A01F
15/18 20060101AFI20251027BHJP(農業;林業;畜産;狩猟;捕獲;漁業)
要約
【課題】 本発明は、メンテナンス面の使い勝手の改善を課題とする。
【解決手段】 カバー5とベルトコンベア41を備え、ベルトコンベア41は、搬送ベルトとして無端ベルト411を有し、ベルトコンベア41の駆動軸42に動力を伝達する駆動伝達側面93と、非駆動伝達側面94があり、カバー5は、少なくともいずれか一方の面に設けられており、取り外すことで少なくとも無端ベルト411全体を露出できる領域を覆っていることを特徴とする農作業機1。
【選択図】 図3
特許請求の範囲
【請求項1】
カバーとベルトコンベアを備え、
前記ベルトコンベアは、搬送ベルトとして無端ベルトを有し、
前記ベルトコンベアの駆動軸に動力を伝達する駆動伝達側面と、
非駆動伝達側面があり、
前記カバーは、少なくともいずれか一方の面に設けられており、取り外すことで少なくとも前記無端ベルト全体を露出できる領域を覆っていることを特徴とする農作業機。
続きを表示(約 190 文字)
【請求項2】
前記カバーは、複数に分割され、前記無端ベルトの全部または少なくとも一部を覆っている請求項1記載の農作業機。
【請求項3】
前記カバーは、一つまたは複数あり、少なくとも1つ隙間を空けて前記無端ベルトを覆っている請求項1記載の農作業機。
【請求項4】
前記農作業機が、刈取細断収穫機である請求項1~3のいずれか1項記載の農作業機。
発明の詳細な説明
【技術分野】
【0001】
本発明は、ベルトコンベアを備えた農作業機に関する。
特に限定されるものではないが、細断したデントコーン、ソルゴー、牧草などの飼料作物をロールベールに成型する刈取細断収穫機などの農作業機に関する。
続きを表示(約 2,000 文字)
【背景技術】
【0002】
刈取細断収穫機は、下記特許文献1に記載されているように、車体に配置されたエンジンによって作動するクローラを有すると共に、刈取細断機が前方にあり、細断された収穫物をシュートでホッパに送る。ホッパに溜められた細断された収穫物はホッパの下方にある排出口からベルトコンベア上に落とされ、他の搬送装置を介して成形部へ送られる。成形室は、細断された収穫物をロールベールに成形し、ネットなどをかけて、圃場に放出する。
【先行技術文献】
【特許文献】
【0003】
特許第5276403号公報
【発明の概要】
【発明が解決しようとする課題】
【0004】
農作業機に搭載されているベルトコンベアは、交換しやすいようにジョイント付きのベルトが採用されることが多かった。ジョイント付きのベルトは、ジョイントを外すことで一枚の帯になり、狭い点検口から取り出せる。そして、交換ベルトが同様に点検口から内部に入れられ、駆動軸と従動軸の間にかけまわし、ジョイントを繋いで交換作業を行っていた。狭い点検口からの作業は、作業者に負担を強いるものであり、使い勝手に難があった。また、ベルトコンベアの駆動部に細断された収穫物が詰まるなどのトラブルが生じたときにも、作業者は小さな点検口から対応する必要があり、メンテナンス面の使い勝手が悪かった。
本発明は、メンテナンス面の使い勝手の改善を課題とする。
【課題を解決するための手段】
【0005】
本発明は、カバーとベルトコンベアを備え、前記ベルトコンベアは、搬送ベルトとして無端ベルトを有し、前記ベルトコンベアの駆動軸に動力を伝達する駆動伝達側面と、非駆動伝達側面があり、前記カバーは、少なくともいずれか一方の面に設けられており、取り外すことで少なくとも前記無端ベルト全体を露出できる領域を覆っていることを特徴とする農作業機とすることで課題を解決した。
【発明の効果】
【0006】
本発明は、メンテナンスの使い勝手が改善された。
【図面の簡単な説明】
【0007】
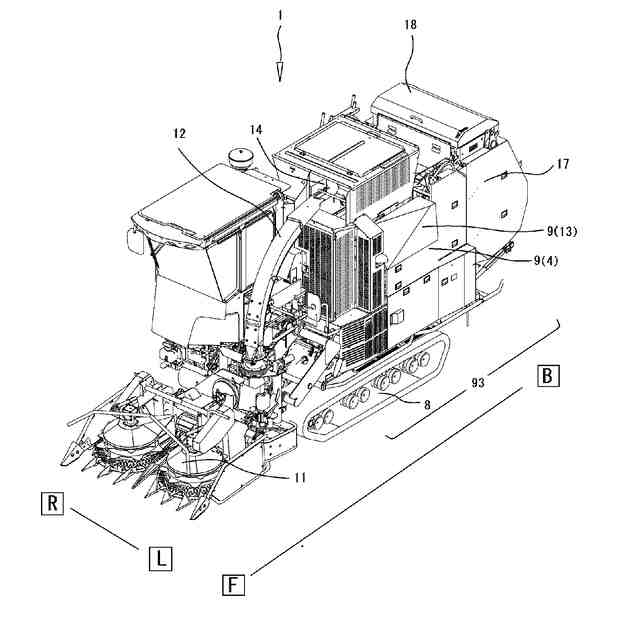
図1は実施例の刈取細断収穫機1(農作業機)の斜視図である。
図2は実施例のホッパ13及び搬送部4の内部構造図である。
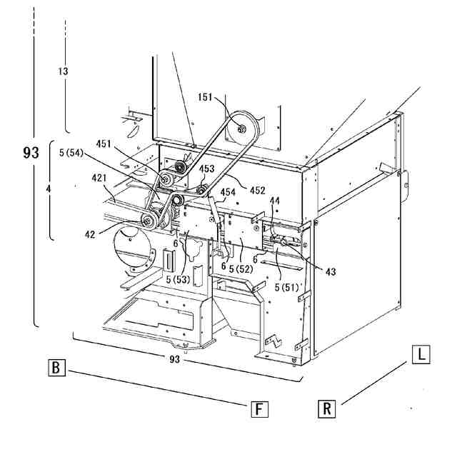
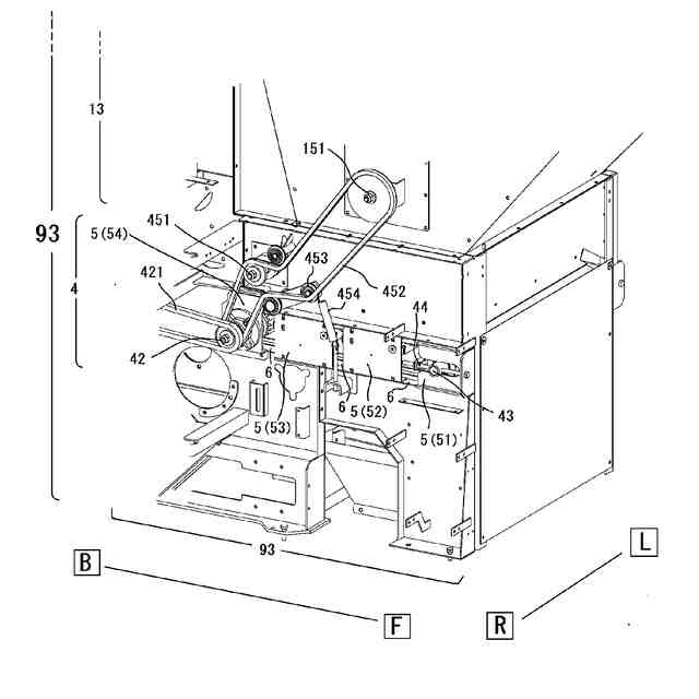
図3は実施例の駆動伝達側面93の斜視図であり、搬送部4を含む周辺の駆動機構が図示されている。
図4は、図3から無端ベルト411の交換に差しさわりがある部材を取り除いた状態の斜視図である。
図5は、図4の状態から、無端ベルト411を引き抜いている状態の斜視図である。
【発明を実施するための形態】
【0008】
以下、図面を参照して本発明の実施例を説明する。異なる図における同一符号は同一機能の部位を示しており、各図における重複説明は適宜省略する。また、説明のため意図的に部材を省略している図もある。
【0009】
〔実施例〕
(全体構造とロールベールの成形)
図1は、実施例の刈取細断収穫機1(農作業機)の斜視図である。
図示した、R(右)、L(左)は、刈取細断収穫機1(農作業機)の進行方向を前(F)として、そのR(右)とL(左)をいう。図中、後は(B)と図示される。
刈取細断収穫機1(農作業機)は、走行部8を有し、前方に刈取細断部11を有する。刈取細断収穫機1(農作業機)は走行しながら、刈取細断部11が、デントコーン、ソルゴー、牧草などの飼料作物を根元から刈り取ると共に、それを裁断してゆく。細断された飼料作物は、シュート12でホッパ13に送られる。ホッパ13は外部カバー9で覆われており図1では見えない位置にある。ホッパ13は、その上部にシュート12の後端部を受け入れるシュート接続口14が設けられている。
ホッパ13に蓄えられた細断された飼料作物は、ホッパ13から排出され、図中外部カバー9で覆われた搬送部4へと送られる。細断された飼料作物は、搬送部4から成形室17へ送られ、そこで、ロールベールに成形される。成形されたロールベールはネット装置18によりネットでくるまれ、圃場に放出される。
【0010】
(駆動伝達側面と非駆動伝達側面)
エンジンからの動力は、油圧ポンプを経て送られる。送られた油圧により油圧モータはギアを回転させコンベア駆動チェーンを駆動する。後述するコンベア駆動チェーン421は搬送部4を駆動する。搬送部4へ動力が送られる駆動伝達側面93は、図1の左(L)側の面にあり見えていない。図1の搬送部4が図示されている右(R)側の面は、非駆動伝達側面(従動側の面)である。
(【0011】以降は省略されています)
この特許をJ-PlatPat(特許庁公式サイト)で参照する
関連特許
個人
産卵床
4日前
個人
平板植栽
5日前
個人
蠅捕獲器
1か月前
個人
草刈り鋏
1か月前
個人
釣り用錘
22日前
個人
果実袋
4日前
個人
噴霧器ノズル
20日前
個人
蜜蜂保護装置
1か月前
個人
養殖器具
4日前
個人
草刈機用回転刃
1か月前
個人
移動体草刈り機
4日前
個人
種子の製造方法
1か月前
個人
昆虫捕集器
1か月前
個人
水田排水量調整器具
4日前
株式会社剛樹
釣り竿
18日前
個人
可動リップ付きルアー
25日前
井関農機株式会社
作業車両
1か月前
井関農機株式会社
作業車両
1か月前
井関農機株式会社
圃場作業機
25日前
個人
四足動物用装着具
1か月前
株式会社ナベル
表示システム
28日前
個人
餌付き針の餌取り防止具
28日前
個人
ブルーカーボンシステム
25日前
積水樹脂株式会社
シート止め具
4日前
大栄工業株式会社
捕獲器
1か月前
有限会社信英精密
括り罠
12日前
個人
網口高さのベクトル底引き網
4日前
個人
粘着板で挟むネズミ捕り装置
4日前
松山株式会社
収穫機
25日前
みのる産業株式会社
除草機
28日前
みのる産業株式会社
除草機
28日前
井関農機株式会社
苗移植機
12日前
井関農機株式会社
作業車両
1か月前
松山株式会社
収穫機
25日前
井関農機株式会社
作業車両
1か月前
株式会社オーツボ
海苔箱船
1か月前
続きを見る
他の特許を見る