TOP
|
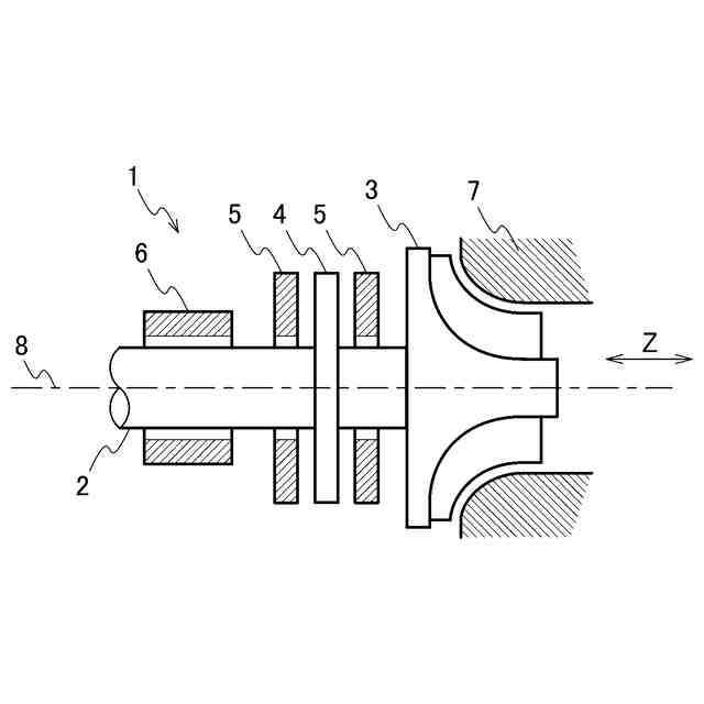
特許
|
意匠
|
商標
特許ウォッチ
Twitter
他の特許を見る
10個以上の画像は省略されています。
公開番号
2025181357
公報種別
公開特許公報(A)
公開日
2025-12-11
出願番号
2024089296
出願日
2024-05-31
発明の名称
スラストフォイル軸受
出願人
株式会社IHI
代理人
個人
,
個人
,
個人
主分類
F16C
27/02 20060101AFI20251204BHJP(機械要素または単位;機械または装置の効果的機能を生じ維持するための一般的手段)
要約
【課題】回転体との不要な接触を抑制することが可能なスラストフォイル軸受を提供する。
【解決手段】スラストフォイル軸受5は、シャフト2の挿通孔12が設けられたベースプレート10と、挿通孔12の周囲に配置される複数のトップフォイル片21、及び各トップフォイル片21をその外周側から支持する支持部(外側リング22)を含むトップフォイル20とを備える。各トップフォイル片21はその内周側に延伸するタブ26を含み、支持部(外側リング22)はベースプレート10に取付けられ、タブ26は、ベースプレート10に形成された貫通孔15に挿通される締結部材(リベット40)によって、ベースプレート10に取付けられている。
【選択図】図5C
特許請求の範囲
【請求項1】
シャフトの挿通孔が設けられたベースプレートと、
前記挿通孔の周囲に配置される複数のトップフォイル片、及び各前記トップフォイル片をその外周側から支持する支持部を含むトップフォイルと
を備え、
各前記トップフォイル片はその内周側に延伸するタブを含み、
前記支持部は前記ベースプレートに取付けられ、
前記タブは、前記ベースプレートに形成された貫通孔に挿通される締結部材によって、前記ベースプレートに取付けられている
スラストフォイル軸受。
続きを表示(約 270 文字)
【請求項2】
前記ベースプレートは、前記タブが載置される凹部を有する
請求項1に記載のスラストフォイル軸受。
【請求項3】
前記凹部は、前記挿通孔の中心を中心として環状に形成されている
請求項2に記載のスラストフォイル軸受。
【請求項4】
前記締結部材はリベットである
請求項1に記載のスラストフォイル軸受。
【請求項5】
前記貫通孔は、前記締結部材の端部が収容されるザグリ穴として形成されている
請求項1~4のうちの何れか一項に記載のスラストフォイル軸受。
発明の詳細な説明
【技術分野】
【0001】
本開示は、スラストフォイル軸受に関する。
続きを表示(約 1,700 文字)
【背景技術】
【0002】
スラストフォイル軸受は流体軸受の一種である。スラストフォイル軸受は、回転体との間に流体膜を形成することによって非接触で当該回転体を支持する。回転体は、振動や衝撃等によって当該回転体の軸方向に細かく移動する。
【0003】
このような回転体の細かな動きに関わりなく、スラストフォイル軸受は流体膜の形成を維持する必要がある。そのため、スラストフォイル軸受は回転体に対して傾斜した金属薄板を備えている。金属薄板は軸方向に撓み可能に設けられ、回転体と共に流体膜を形成し、当該流体膜の内圧を増加させるための楔形の流路を形成する。特許文献1は、上述した金属薄板としての複数のトップフォイル片と、複数のトップフォイル片を弾性的に支持する複数のバックフォイル片とを備えたスラストフォイル軸受を開示している。
【先行技術文献】
【特許文献】
【0004】
特開2020-037975号公報
【発明の概要】
【発明が解決しようとする課題】
【0005】
各バックフォイル片は、スポット溶接によってベースプレートに固定される、或いは、各バックフォイル片を支持する外側リングを介して、ベースプレートに固定される。前者の場合、部品点数及び製造工程数が増加しやすお。一方、後者の場合、内周側の部分が浮き上がりやすく、当該部分が回転体と接触しやすくなる。
【0006】
本開示は上述の事情を鑑みて成されたものであり、回転体との不要な接触を抑制することが可能なスラストフォイル軸受の提供を目的とする。
【課題を解決するための手段】
【0007】
本開示の一態様に係るスラストフォイル軸受は、シャフトの挿通孔が設けられたベースプレートと、前記挿通孔の周囲に配置される複数のトップフォイル片、及び各前記トップフォイル片をその外周側から支持する支持部を含むトップフォイルとを備え、各前記トップフォイル片はその内周側に延伸するタブを含み、前記支持部は前記ベースプレートに取付けられ、前記タブは、前記ベースプレートに形成された貫通孔に挿通される締結部材によって、前記ベースプレートに取付けられている。
【0008】
前記ベースプレートは、前記タブが載置される凹部を有してもよい。前記凹部は、前記挿通孔の中心を中心として環状に形成されてもよい。前記締結部材はリベットであってもよい。前記貫通孔は、前記締結部材の端部が収容されるザグリ穴として形成されてもよい。
【発明の効果】
【0009】
本開示によれば、回転体との不要な接触を抑制することが可能なスラストフォイル軸受を提供することができる。
【図面の簡単な説明】
【0010】
本開示の実施形態に係るスラストフォイル軸受を適用したターボ機械の一例の側面図である。
本実施形態に係るスラストフォイル軸受の一例の側面図である。
本実施形態に係るスラストフォイル軸受の一例の正面図である。
本実施形態に係るベースプレートの正面図である。
図4Aに示すベースプレートの貫通孔とその周囲を径方向内側から見たときの断面図である。
本実施形態に係るバックフォイルの正面図である。
本実施形態に係るバックフォイル片の正面図である。
バックフォイル片が、トップフォイル片と共にベースプレートに取付けられた状態を示す側面図である。
本実施形態に係るトップフォイルの正面図である。
本実施形態に係るトップフォイル片の斜視図である。
本実施形態の第1変形例に係るベースプレートの正面図である。
図7Aに示す凹部を周方向から見たときの断面図である。
本実施形態の第2変形例に係るベースプレートの正面図である。
【発明を実施するための形態】
(【0011】以降は省略されています)
この特許をJ-PlatPat(特許庁公式サイト)で参照する
関連特許
他の特許を見る