TOP
|
特許
|
意匠
|
商標
特許ウォッチ
Twitter
他の特許を見る
公開番号
2025161026
公報種別
公開特許公報(A)
公開日
2025-10-24
出願番号
2024063861
出願日
2024-04-11
発明の名称
トレーラ
出願人
株式会社IHIアグリテック
代理人
弁理士法人英知国際特許商標事務所
主分類
B62D
53/04 20060101AFI20251017BHJP(鉄道以外の路面車両)
要約
【課題】 本発明は、慣性ブレーキの使い勝手を改善することを課題とする。
【解決手段】本発明は、トレーラとトラクタを繋ぐ牽引杆と弾性伸縮部材と油圧ブレーキを有し、前記牽引杆は、進行方向を前方とすると、前記トラクタが制動をかけると、前記弾性伸縮部材の反力による抵抗を受けながら後方に動き、前記トラクタの制動によるショックを緩和するものであり、前記弾性伸縮部材は、前記牽引杆に直接または間接的に取り付けられており、前記牽引杆と前記油圧ブレーキの間を繋ぐものであり、前記油圧ブレーキは、前記牽引杆の動きにより制動力を生ずるものであることを特徴とするトレーラとすることで課題の解決を図った。
【選択図】 図4
特許請求の範囲
【請求項1】
トレーラとトラクタを繋ぐ牽引杆と弾性伸縮部材と油圧ブレーキを有し、
前記牽引杆は、進行方向を前方とすると、前記トラクタが制動をかけると、前記弾性伸縮部材の反力による抵抗を受けながら後方に動き、前記トラクタの制動によるショックを緩和するものであり、
前記弾性伸縮部材は、前記牽引杆に直接または間接的に取り付けられており、前記牽引杆と前記油圧ブレーキの間を繋ぐものであり、
前記油圧ブレーキは、前記牽引杆の動きにより制動力を生ずるものであることを特徴とするトレーラ。
続きを表示(約 380 文字)
【請求項2】
前記制動力は、前記牽引杆の動きにかかわらず略一定であることを特徴とする請求項1記載のトレーラ。
【請求項3】
前記弾性伸縮部材が、ガススプリングであることを特徴とする請求項1記載のトレーラ。
【請求項4】
さらに、間接部材があり、
前記間接部材は、前記牽引杆の動きに連動して、前記弾性伸縮部材を動かすものであり、前記弾性伸縮部材が動くことで、前記油圧ブレーキを作動させることを特徴とする請求項1記載のトレーラ。
【請求項5】
前記牽引杆は、回転を許容するものであり、前記間接部材に回転が伝わらないように構成されていることを特徴とする請求項4記載のトレーラ。
【請求項6】
前記トレーラが農業用であることを特徴とする請求項1~5記載のいずれか1項記載のトレーラ。
発明の詳細な説明
【技術分野】
【0001】
本発明は、一般車両や農業用トラクタなどに牽引されるトレーラに関する。重量物を搬送するトレーラは、ボートを積み込むものや汎用の荷台のあるもの、また、キャンピングトレーラなどがある。特に、農業用トレーラは、コンバインなど重量のある農作業機が積み込まれ、圃場まで運ぶなどのために使われることが多い。
続きを表示(約 1,100 文字)
【背景技術】
【0002】
従来、重量物を搬送するトレーラは、特許文献1に記載のようにトラクタ(一般車両・農業用トラクタ)が速度を落とすと、それに合わせ速度を落とすブレーキがかかる慣性ブレーキを備えている。
【先行技術文献】
【特許文献】
【0003】
実開昭49-58021号公報
【発明の概要】
【発明が解決しようとする課題】
【0004】
しかしながら、従来の慣性ブレーキは、トラクタがスピードを落とすと若干のラグタイムが生じて慣性ブレーキが働くものや、慣性ブレーキの利き具合の調整が難しいなどの使い勝手に問題があった。
【0005】
本発明は、慣性ブレーキの使い勝手を改善することを課題とする。
【課題を解決するための手段】
【0006】
本発明は、トレーラとトラクタを繋ぐ牽引杆と弾性伸縮部材と油圧ブレーキを有し、
前記牽引杆は、進行方向を前方とすると、前記トラクタが制動をかけると、前記弾性伸縮部材の反力による抵抗を受けながら後方に動き、前記トラクタの制動によるショックを緩和するものであり、前記弾性伸縮部材は、前記牽引杆に直接または間接的に取り付けられており、前記牽引杆と前記油圧ブレーキの間を繋ぐものであり、前記油圧ブレーキは、前記牽引杆の動きにより制動力を生ずるものであることを特徴とするトレーラとすることで課題を解決した。
【発明の効果】
【0007】
本発明のトレーラは、従来と比べ使い勝手が良くなった。
【図面の簡単な説明】
【0008】
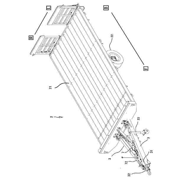
図1は実施例に係る農業用トレーラの斜視図である。
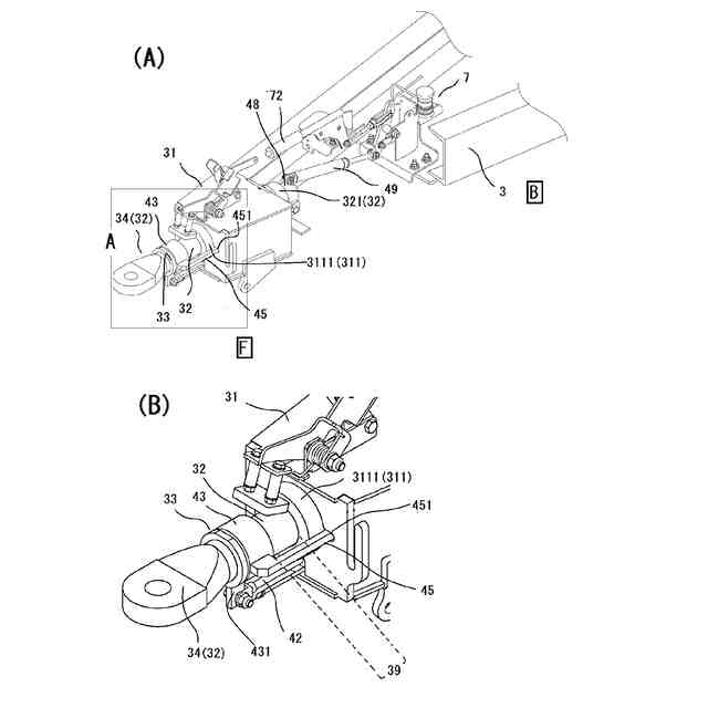
図2は牽引杆の説明図である。図2(A)は牽引杆周辺の拡大図であり、図2(B)は図2(A)に付した枠A内の拡大図である。
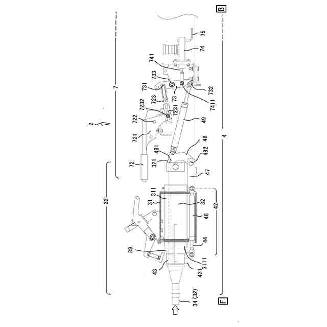
図3は、走行時の慣性ブレーキ機構の説明図である。
図4は、制動時の慣性ブレーキ機構の説明図である。
図5は、駐車ブレーキの説明図である。
図6は慣性ブレーキ停止装置の説明図であり、図6(A)は慣性ブレーキ停止装置作動前の状態を表し、図6(B)は慣性ブレーキ停止装置作動後の状態を表す。
【発明を実施するための形態】
【0009】
以下、図面を参照して本発明の実施例を説明する。以下の説明で、異なる図における同一符号は同一機能の部位を示しており、各図における重複説明は適宜省略する。
【0010】
[実施例]
実施例のトレーラ2は、農業用トレーラ2を例にして説明するが、積み込むものは何でもよく、農業用に限られるものではない。
(【0011】以降は省略されています)
この特許をJ-PlatPat(特許庁公式サイト)で参照する
関連特許
個人
カート
4か月前
個人
走行装置
5か月前
個人
三輪バイク
1か月前
個人
台車
2日前
個人
乗り物
6か月前
個人
電動走行車両
5か月前
個人
折り畳み自転車
11か月前
個人
電動モビリティ
8か月前
個人
発音装置
8か月前
個人
駐輪設備
2か月前
個人
閂式ハンドル錠
5か月前
個人
自転車用歩数計
1か月前
個人
ボギー・フレーム
3か月前
個人
三輪電動車両
1か月前
個人
自由方向乗車自転車
8か月前
個人
ルーフ付きトライク
4か月前
個人
ルーフ付きトライク
2か月前
個人
“zen-go.”
3か月前
個人
車の室内高温防止屋根
16日前
個人
パワーアシスト自転車
3か月前
井関農機株式会社
作業車両
23日前
個人
キャンピングトライク
10か月前
個人
ステアリングの操向部材
10か月前
株式会社三五
リアサブフレーム
11か月前
個人
フロントフットブレーキ。
5か月前
株式会社豊田自動織機
産業車両
5か月前
個人
乗用自動車のディフューザー
1か月前
学校法人千葉工業大学
車両
11か月前
個人
ホイールハブ駆動構造
5か月前
豊田鉄工株式会社
小型車両
4か月前
学校法人千葉工業大学
車両
11か月前
学校法人千葉工業大学
車両
11か月前
株式会社GEAR
電動カート
4か月前
ヤマハ発動機株式会社
自転車
5か月前
トヨタ自動車株式会社
パネル
5か月前
個人
ハブモーターの配線構造
2か月前
続きを見る
他の特許を見る