TOP
|
特許
|
意匠
|
商標
特許ウォッチ
Twitter
他の特許を見る
公開番号
2025173292
公報種別
公開特許公報(A)
公開日
2025-11-27
出願番号
2024078807
出願日
2024-05-14
発明の名称
サイレンサ及び過給機
出願人
株式会社IHI回転機械エンジニアリング
代理人
個人
,
個人
,
個人
主分類
F02M
35/12 20060101AFI20251119BHJP(燃焼機関;熱ガスまたは燃焼生成物を利用する機関設備)
要約
【課題】大型化が可能なサイレンサ及び過給機を提供する。
【解決手段】本開示のサイレンサは、過給機のコンプレッサの吸入口側に取り付けられるサイレンサであって、コンプレッサの翼車の回転軸線方向の軸を有する筒状部と、開口が形成されている筒状部の先端部に取り付けられる蓋部と、筒状部の内部の基端側において、筒状部の基端側から蓋部に向けて回転軸線方向に突出するように湾曲した湾曲壁部を含み、送気口が形成されている内枠と、筒状部内において蓋部と内枠との間に位置すると共に、貫通穴が形成されているバッフル板と、を備え、バッフル板の外端部は、筒状部に固定され、バッフル板の外端部から筒状部の基端部に形成されている開口までの回転軸線に沿う長さは、バッフル板の内端部から筒状部の基端部に形成されている開口までの回転軸線に沿う長さより短い。
【選択図】図1
特許請求の範囲
【請求項1】
過給機のコンプレッサの吸入口側に取り付けられるサイレンサであって、
前記コンプレッサの翼車の回転軸線方向の軸を有する筒状部と、
開口が形成されている前記筒状部の先端部に取り付けられる蓋部と、
前記筒状部の内部の基端側において、前記筒状部の基端側から前記蓋部に向けて前記回転軸線方向に突出するように湾曲した湾曲壁部を含み、送気口が形成されている内枠と、
前記筒状部内において前記蓋部と前記内枠との間に位置すると共に、貫通穴が形成されているバッフル板と、を備え、
前記バッフル板の外端部は、前記筒状部に固定され、
前記バッフル板の前記外端部から前記筒状部の基端部に形成されている開口までの前記回転軸線に沿う長さは、前記バッフル板の内端部から前記筒状部の基端部に形成されている開口までの前記回転軸線に沿う長さより短い、
サイレンサ。
続きを表示(約 1,300 文字)
【請求項2】
前記筒状部には、前記筒状部の内部と前記筒状部の外部とを連通する吸込開口部が形成されており、
前記バッフル板は、
前記筒状部に固定された前記外端部から前記蓋部に向けて前記回転軸線に交差する方向に延びている傾斜部と、
前記傾斜部の先端部から前記蓋部に向けて前記回転軸線方向に突出するように湾曲すると共に、前記回転軸線を中心とする開口が形成されている先端湾曲部と、
を有する、請求項1に記載のサイレンサ。
【請求項3】
前記筒状部には、前記筒状部の内部と前記筒状部の外部とを連通する吸込開口部が形成されており、
前記バッフル板の少なくとも一部は、前記内枠に沿って延在している、請求項1又は2に記載のサイレンサ。
【請求項4】
前記バッフル板に固定され、前記バッフル板の少なくとも一部に沿って延在している第1部位と、前記筒状部の内面に固定され、前記内面に沿って延在している第2部位と、
を有する板状部材を更に備え、
前記第1部位の延在方向と、前記第2部位の延在方向とがなす前記基端側かつ前記回転軸線側の角度は、鈍角である、請求項1又は2に記載のサイレンサ。
【請求項5】
前記バッフル板は吸音材を含む、請求項1又は2に記載のサイレンサ。
【請求項6】
前記コンプレッサに対向し、前記コンプレッサに固定される底部と、
前記底部の外端部から前記回転軸線方向に沿って延在し、少なくとも一部が前記筒状部内に収容可能な壁部と、
を有する据付部を更に備える、請求項1又は2に記載のサイレンサ。
【請求項7】
前記壁部の回転径方向の厚さは、前記底部の前記回転軸線方向の厚さより大きい、請求項6に記載のサイレンサ。
【請求項8】
前記据付部は、前記壁部から回転径方向の外側に突出する取付部を有し、
前記取付部に取り付けられた前記筒状部と、前記据付部の前記壁部とは、前記回転径方向において離間している、請求項6に記載のサイレンサ。
【請求項9】
過給機のコンプレッサの吸入口側に取り付けられるサイレンサであって、
前記コンプレッサの翼車の回転軸線方向の軸を有する筒状部と、
開口が形成されている前記筒状部の先端部に取り付けられる蓋部と、
前記筒状部の内部の基端側において、前記筒状部の基端側から前記蓋部に向けて前記回転軸線方向に突出するように湾曲した湾曲壁部を含み、送気口が形成されている内枠と、
前記筒状部内において前記蓋部と前記内枠との間に位置すると共に、貫通穴が形成されているバッフル板と、
前記コンプレッサに対向し、前記コンプレッサに固定される底部と、前記底部の外端部から前記回転軸線方向に沿って延在し、前記筒状部内に収容可能な壁部と、を有する据付部と、
を備える、サイレンサ。
【請求項10】
請求項1又は9に記載のサイレンサを備える過給機。
発明の詳細な説明
【技術分野】
【0001】
本開示は、サイレンサ及び過給機に関する。
続きを表示(約 1,900 文字)
【背景技術】
【0002】
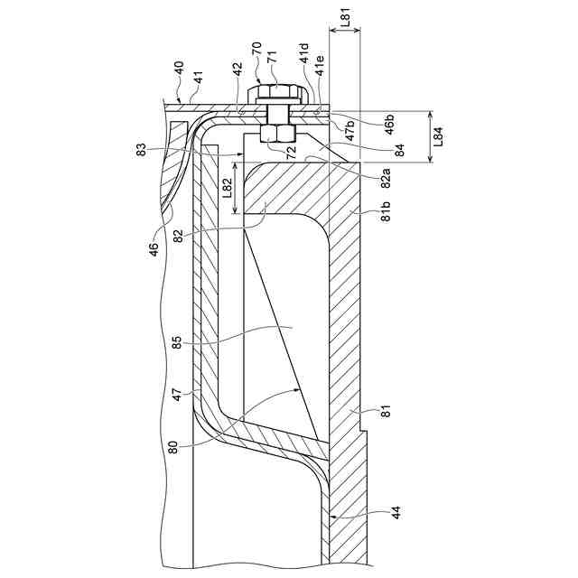
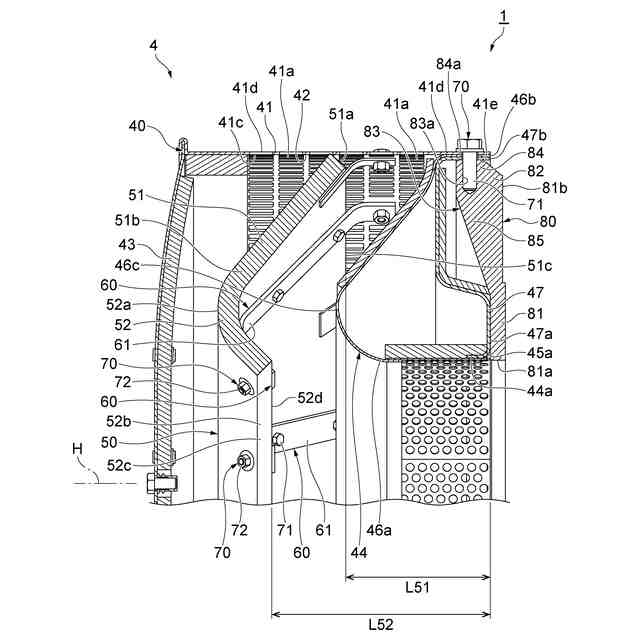
特許文献1は、サイレンサに関する技術を開示する。このサイレンサは、筒状部及び蓋部を有する筐体と、筐体内においてガスの送気口の周囲から蓋部に向けて突出している湾曲壁部と、筒状部と蓋部と湾曲壁部とで囲まれる空間内に設けられたバッフル板とを備えている。
【先行技術文献】
【特許文献】
【0003】
特開2017-210946号公報
【発明の概要】
【発明が解決しようとする課題】
【0004】
サイレンサは、筒状部とコンプレッサとの間に介在し、板金で構成される据付部を有する場合がある。コンプレッサの大型化に合わせてサイレンサを大型化する場合であっても、据付部については、加工性の観点から板金の板厚を変更できない可能性がある。この場合、エンジンを振動源とするコンプレッサの振動に対する据付部の耐振性が低下するため、エンジンを振動源とするコンプレッサの振動により、サイレンサが大きく振動することになり、サイレンサの少なくとも一部が損傷する可能性がある。
【0005】
本開示は、大型化が可能なサイレンサ及び過給機を説明する。
【課題を解決するための手段】
【0006】
本開示の一形態に係るサイレンサは、過給機のコンプレッサの吸入口側に取り付けられるサイレンサであって、コンプレッサの翼車の回転軸線方向の軸を有する筒状部と、開口が形成されている筒状部の先端部に取り付けられる蓋部と、筒状部の内部の基端側において、筒状部の基端側から蓋部に向けて回転軸線方向に突出するように湾曲した湾曲壁部を含み、送気口が形成されている内枠と、筒状部内において蓋部と内枠との間に位置すると共に、貫通穴が形成されているバッフル板と、を備え、バッフル板の外端部は、筒状部に固定され、バッフル板の外端部から筒状部の基端部に形成されている開口までの回転軸線に沿う長さは、バッフル板の内端部から筒状部の基端部に形成されている開口までの回転軸線に沿う長さより短い。
【0007】
本開示のサイレンサでは、バッフル板の外端部から筒状部の基端側の開口までの回転軸線に沿う長さがバッフル板の内端部から筒状部の基端側の開口までの回転軸線に沿う長さ以上である場合に比べて、筒状部の基端側にバッフル板が固定される。すなわち、据付部からの距離が小さい箇所にバッフル板が固定される。これにより、エンジンを振動源とするコンプレッサの振動によるバッフル板の振幅が小さくなり、バッフル板及び筒状部に掛かる力が小さくなり、バッフル板及び筒状部の損傷が抑制される。その結果、サイレンサの大型化が可能となる。
【0008】
いくつかの態様において、筒状部には、筒状部の内部と筒状部の外部とを連通する吸込開口部が形成されており、バッフル板は、筒状部に固定された外端部から蓋部に向けて回転軸線に交差する方向に延びている傾斜部と、傾斜部の先端部から蓋部に向けて回転軸線方向に突出するように湾曲すると共に、回転軸線を中心とする開口が形成されている先端湾曲部と、を有してもよい。この場合、先端湾曲部に開口が形成されていることで、筒状部の吸込開口部から蓋部とバッフル板との間を通過するガスが内枠の送気口へ流通することができる流路が適切に確保される。
【0009】
いくつかの態様において、筒状部には、筒状部の内部と筒状部の外部とを連通する吸込開口部が形成されており、バッフル板の少なくとも一部は、内枠に沿って延在していてもよい。この場合、筒状部の吸込開口部から内枠とバッフル板との間を通過するガスが内枠の送気口へ流通することができる流路が適切に確保される。バッフル板の少なくとも一部が内枠に沿って延在していることで、流路幅(流路の断面積)を一定にすることができるため、圧力損失が生じにくくなる。
【0010】
いくつかの態様において、バッフル板に固定され、バッフル板の少なくとも一部に沿って延在している第1部位と、筒状部の内面に固定され、内面に沿って延在している第2部位と、を有する板状部材を更に備え、第1部位の延在方向と、第2部位の延在方向とがなす基端側かつ回転軸線側の角度は、鈍角であってもよい。この場合、第1部位の延在方向と第2部位の延在方向との角度が直角である場合に比べて、第1部位と第2部位とが交わる部位に掛かる応力集中を低減することができる。これにより、板状部材の損傷を抑制することができる。
(【0011】以降は省略されています)
この特許をJ-PlatPat(特許庁公式サイト)で参照する
関連特許
個人
バンケル型内燃機関の改良
1か月前
個人
擬似オイル発電装置
17日前
個人
ガバナー
4日前
ダイハツ工業株式会社
発電装置
12日前
スズキ株式会社
車両の制御装置
1か月前
スズキ株式会社
車両の制御装置
1か月前
本田技研工業株式会社
車両
1か月前
本田技研工業株式会社
車両
1か月前
株式会社クボタ
作業車
1か月前
トヨタ自動車株式会社
電磁弁
1か月前
本田技研工業株式会社
内燃機関
1か月前
株式会社クボタ
作業車両
1か月前
本田技研工業株式会社
始動制御装置
1か月前
トヨタ自動車株式会社
車両制御装置
1か月前
本田技研工業株式会社
始動制御装置
1か月前
トヨタ自動車株式会社
制御装置
11日前
国立大学法人 名古屋工業大学
小型化無振動機構機器
3日前
トヨタ自動車株式会社
電磁弁の制御装置
1か月前
トヨタ自動車株式会社
燃料噴射制御装置
5日前
トヨタ自動車株式会社
エンジン制御装置
1か月前
大阪瓦斯株式会社
エンジンシステム
1か月前
本田技研工業株式会社
可変ファンネル装置
1か月前
トヨタ自動車株式会社
V型8気筒エンジン
1か月前
川崎重工業株式会社
ガスタービンエンジン
1か月前
トヨタ自動車株式会社
フレックス燃料車両
24日前
Astemo株式会社
内燃機関の制御装置
11日前
トヨタ自動車株式会社
内燃機関の制御装置
11日前
日産自動車株式会社
吸気装置
5日前
トヨタ自動車株式会社
内燃機関の制御装置
24日前
ダイハツ工業株式会社
副燃焼室付きエンジン
3日前
マツダ株式会社
エンジン
1か月前
三菱重工業株式会社
燃焼筒の取付方法
1か月前
トヨタ自動車株式会社
水素エンジンの制御装置
1か月前
株式会社SUBARU
車両
1か月前
富士電機株式会社
駆動回路
1か月前
本田技研工業株式会社
内燃機関の制御装置
1か月前
続きを見る
他の特許を見る