TOP
|
特許
|
意匠
|
商標
特許ウォッチ
Twitter
他の特許を見る
公開番号
2025180068
公報種別
公開特許公報(A)
公開日
2025-12-11
出願番号
2024087150
出願日
2024-05-29
発明の名称
タービンまたはコンプレッサの後端構造
出願人
株式会社IHI
代理人
個人
,
個人
,
個人
主分類
F01D
9/02 20060101AFI20251204BHJP(機械または機関一般;機関設備一般;蒸気機関)
要約
【課題】 タービンまたはコンプレッサの効率を低下させる主流路内ガスの渦流を低減する。
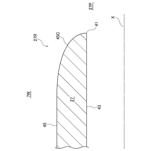
【解決手段】 タービンまたはコンプレッサの主流路を囲むプラットフォームの後端構造は、前記プラットフォームが終端し、外部から二次空気を導入する開口を縁取る後縁であって、前記タービンまたは前記コンプレッサの軸に直交する平面を含まない後縁と、前記主流路に面し、前記後縁に向かって連続的に曲率が大きくなり前記後縁において終端する曲面と、を備える。
【選択図】 図1
特許請求の範囲
【請求項1】
タービンまたはコンプレッサの主流路を囲むプラットフォームの後端構造であって、
前記プラットフォームが終端し、外部から二次空気を導入する開口を縁取る後縁であって、前記タービンまたは前記コンプレッサの軸に直交する平面を含まない後縁と、
前記主流路に面し、前記後縁に向かって連続的に曲率が大きくなり前記後縁において終端する曲面と、
を備えた後端構造。
続きを表示(約 95 文字)
【請求項2】
前記主流路に対して外側であって前記後縁において終端する外面であって、前記後縁に向かって湾曲した、または真直な外面を、
さらに備えた請求項1の後端構造。
発明の詳細な説明
【技術分野】
【0001】
以下の開示は、タービンまたはコンプレッサ内に二次空気を導入するための流路の構造に関し、特に圧力損失を抑制しうる流路を構成するプラットフォームの後端構造に関する。
続きを表示(約 1,700 文字)
【背景技術】
【0002】
ターボファンエンジンは、コアとなるエンジンの周囲にバイパスダクトを有する形式のジェットエンジンである。燃焼器が発生する高温燃焼ガスは、その下流に配置されたタービンに導入されてそのエネルギが部分的に抜き出され、次いで排気ノズルより排出されてエンジン推力を生じる。抜き出されたエネルギは燃焼器の上流に配置されたファンおよびコンプレッサの駆動に利用される。ファンが発生する空気流の一部はコンプレッサに導入され圧縮されて燃焼に利用されるが、他の一部はバイパスダクトを介して直接に後方に噴出し、エンジン推力の増大およびエネルギ効率の改善に寄与する。
【0003】
コンプレッサによる圧縮気の大半は燃焼器に送られるが、また少なからぬ量の圧縮気が内部エアシステムへ抽気される。内部エアシステムを経由した二次空気は、エンジン内部の冷却や高温ガスが主流路外へ漏洩することを防ぐ(シーリング)等の目的で利用される。特許文献1,2は、シーリングの目的で二次空気を主流路へ導入するパージキャビティの構造に関する技術を開示する。
【先行技術文献】
【特許文献】
【0004】
特開2006-283755号
特開2008-151138号
【発明の概要】
【発明が解決しようとする課題】
【0005】
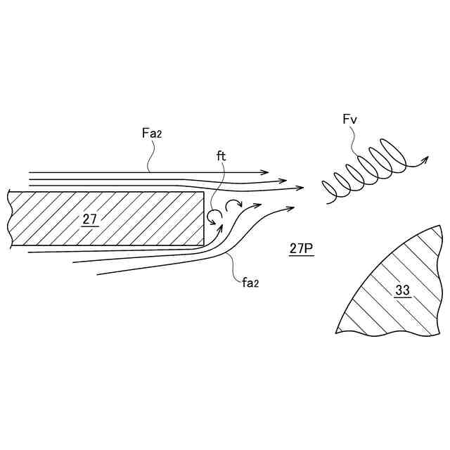
主流路へ導入された二次空気は、主流路内ガスに渦流を生じて圧力損失の原因となり、タービンまたはコンプレッサの効率を低下させてしまう。これまで専ら、パージキャビティの形状、あるいはより下流におけるブレードまたはベーンの形状を工夫することにより、渦流の低減が図られていた。本発明者らは、上流側のプラットフォームの後端構造の工夫によって、さらに渦流の低減が可能であることを見出し、以下に開示する後端構造に想到した。
【課題を解決するための手段】
【0006】
本開示に係るタービンまたはコンプレッサの主流路を囲むプラットフォームの後端構造は、前記プラットフォームが終端し、外部から二次空気を導入する開口を縁取る後縁であって、前記タービンまたは前記コンプレッサの軸に直交する平面を含まない後縁と、前記主流路に面し、前記後縁に向かって連続的に曲率が大きくなり前記後縁において終端する曲面と、を備える。
【0007】
好ましくは後端構造は、前記主流路に対して外側であって前記後縁において終端する外面であって、前記後縁に向かって湾曲した、または真直な外面を、さらに備える。
【発明の効果】
【0008】
タービンまたはコンプレッサの効率を向上する後端構造が提供される。
【図面の簡単な説明】
【0009】
図1は、ターボファンエンジンの模式的な縦断面図である。
図2は、タービンの一部の断面立面図である。
図3は、プラットフォームの後端構造の模式的な断面立面図である。
図4は、後端構造の周囲における流れを模式的に示す、流路およびその周囲の断面立面図である。
図5は、本実施形態による後端構造の周囲における流れを模式的に示す、流路およびその周囲の断面立面図である。
【発明を実施するための形態】
【0010】
添付の図面を参照して以下に幾つかの例示的な実施形態を説明する。図面は必ずしも正確に縮尺されておらず、従って相互の寸法関係は図示されたものに限られないことに特に注意を要する。以下の説明および添付の請求の範囲を通して、特段の説明がなければ、軸はターボファンエンジンの中心軸を意味し、また軸は通常にはタービンおよびコンプレッサの回転軸とも一致する。また“軸方向”“径方向”“周方向”の語はそれぞれ軸に関して定義される。またエンジンにおいて吸気側を“前方”または“上流”と呼称し、排気側を“後方”または“下流”と呼称し、主流路に面する側を“内”、その反対を“外”と呼称することがある。
(【0011】以降は省略されています)
この特許をJ-PlatPat(特許庁公式サイト)で参照する
関連特許
株式会社IHI
翼車
1日前
株式会社IHIポールワース
炉頂装置
14日前
株式会社IHI
検査方法
1日前
株式会社IHIアグリテック
トレーラ
1か月前
株式会社IHIアグリテック
農作業機
1か月前
株式会社IHIアグリテック
農作業機
1か月前
株式会社IHI
判定方法
22日前
株式会社IHI原動機
エンジン装置
1か月前
株式会社IHI
油圧PWM制御弁
14日前
株式会社IHI
電力変換システム
2日前
株式会社IHI原動機
エンジンシステム
7日前
株式会社IHI
粉末積層造形装置
7日前
株式会社IHI
ラジアルフォイル軸受
2か月前
株式会社IHI建材工業
セグメントの接合構造
1か月前
株式会社IHI回転機械エンジニアリング
サイレンサ及び過給機
15日前
株式会社IHI
スラストフォイル軸受
1日前
株式会社IHI
多重構造部の止水方法
2か月前
株式会社IHIインフラ建設
ワイヤロープ油除去装置
1か月前
株式会社IHI
クリンチング接合検査装置
1か月前
株式会社IHI
探索装置、および、探索方法
14日前
株式会社IHI
ロータ及びロータの製造方法
7日前
株式会社IHIインフラシステム
吊材取替方法及び吊材取替装置
1か月前
株式会社IHI
ラジアルフォイル軸受及び回転機械
8日前
株式会社IHI
タービンまたはコンプレッサの後端構造
1日前
株式会社IHI
超音波接合方法、および、超音波接合装置
22日前
JFEスチール株式会社
高炉の原料装入方法
14日前
株式会社IHI
二酸化炭素回収システム及び二酸化炭素回収方法
9日前
株式会社IHI
鉄または鉄合金を接着する組成物および接着方法
14日前
株式会社IHI
画像処理装置、画像処理方法、及び、画像処理プログラム
1か月前
株式会社IHI
塩化物イオン濃度測定装置及び塩化物イオン濃度測定方法
8日前
株式会社IHIアグリテック
農作業用自動化システム及び当該システムを搭載した農業機械
7日前
株式会社IHI
輪留めの設置を管理する管理装置、管理方法、及び、管理プログラム
1日前
株式会社IHI
ガスタービンシステム
9日前
株式会社IHIエアロスペース
固体ロケットモータ用ノズル及び当該ノズルを備える固体ロケットモータ
7日前
株式会社三五
排気浄化装置
7日前
株式会社SUBARU
排気浄化装置
14日前
続きを見る
他の特許を見る