TOP
|
特許
|
意匠
|
商標
特許ウォッチ
Twitter
他の特許を見る
10個以上の画像は省略されています。
公開番号
2025151688
公報種別
公開特許公報(A)
公開日
2025-10-09
出願番号
2024053236
出願日
2024-03-28
発明の名称
ラジアルフォイル軸受
出願人
株式会社IHI
代理人
個人
,
個人
,
個人
,
個人
主分類
F16C
27/02 20060101AFI20251002BHJP(機械要素または単位;機械または装置の効果的機能を生じ維持するための一般的手段)
要約
【課題】空気膜が安定する前に生じ易いコーティングの摩耗を防止して摩耗粉の発生を低減できるラジアルフォイル軸受を説明する。
【解決手段】回転軸15に接するコーティング25を備えたトップフォイル22と、トップフォイル22の外周側に配置されたバックフォイル23と、バックフォイル23を囲むように配置された軸受ハウジング45と、を備えたラジアルフォイル軸受20であり、トップフォイル22は、バックフォイル23に弾性支持された支持受け部27と、バックフォイル23から離間している支持回避部28と、を備え、支持受け部27の厚さTbは、支持回避部28よりも薄い。
【選択図】図3
特許請求の範囲
【請求項1】
ラジアルフォイル軸受であって、
回転軸に接するコーティングを備えたトップフォイルと、
前記トップフォイルの外周側に配置されたバックフォイルと、
前記バックフォイルを囲むように配置された軸受ハウジングと、を備え、
前記トップフォイルは、前記バックフォイルに弾性支持された支持受け部と、前記バックフォイルから離間している支持回避部と、を備え、
前記支持受け部の厚さは、前記支持回避部よりも薄い、ラジアルフォイル軸受。
続きを表示(約 1,000 文字)
【請求項2】
前記支持受け部と前記支持回避部とは、前記回転軸の周方向で交互に配置されている請求項1記載のラジアルフォイル軸受。
【請求項3】
前記バックフォイルは、湾曲して弾性変形可能であり、且つ前記周方向に配置されて前記支持受け部を弾性支持する複数の弾性部と、隣り合う前記弾性部同士の間に形成されると共に、前記支持回避部から離間している複数の底部と、を備えている、請求項2記載のラジアルフォイル軸受。
【請求項4】
前記弾性部は、前記支持受け部に対面して配置されており、前記支持受け部に当接して前記支持受け部を弾性支持している、請求項3記載のラジアルフォイル軸受。
【請求項5】
前記トップフォイルと前記バックフォイルとの間に中間フォイルを備え、
前記弾性部は、前記中間フォイルを介して前記支持受け部を弾性支持している、請求項3記載のラジアルフォイル軸受。
【請求項6】
前記トップフォイルは、前記回転軸に対面する内周面を備えた母材を備え、
前記コーティングは、前記母材の前記内周面に設けられており、
前記支持受け部の前記コーティングの厚さは前記支持回避部の前記コーティングの厚さよりも薄い、請求項1記載のラジアルフォイル軸受。
【請求項7】
前記トップフォイルは、前記回転軸に対面する内周面を備えた母材を備え、
前記コーティングは、前記母材の前記内周面に設けられており、
前記支持受け部の前記母材の厚さは前記支持回避部の前記母材の厚さよりも薄い、請求項1記載のラジアルフォイル軸受。
【請求項8】
前記支持受け部は、前記回転軸に対面し、且つ前記回転軸に対して凹んだ凹曲面を備えており、
前記支持回避部は、前記回転軸に対面し、且つ前記回転軸に対して突出した凸曲面を備えている、請求項1記載のラジアルフォイル軸受。
【請求項9】
ラジアルフォイル軸受であって、
回転軸に接するコーティングを備えたトップフォイルと、
前記トップフォイルの外周側に配置されたバックフォイルと、
前記バックフォイルを囲むように配置された軸受ハウジングと、を備え、
前記トップフォイルは厚さ分布を有し、前記回転軸の周方向において厚い部分と薄い部分とが交互に配置されている、ラジアルフォイル軸受。
発明の詳細な説明
【技術分野】
【0001】
本開示は、ラジアルフォイル軸受に関する。
続きを表示(約 1,600 文字)
【背景技術】
【0002】
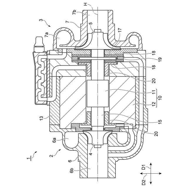
ラジアルフォイル軸受が知られている(特許文献1~5参照)。ラジアルフォイル軸受は、回転軸を取り囲む薄板状のトップフォイルを備えており、トップフォイルは、薄板状のバックフォイルやハウジングによって弾性支持されている。ラジアルフォイル軸受は、トップフォイルと回転軸との間に空気膜を形成して回転軸を支持する。トップフォイルには、回転軸からの負荷や衝撃が加えられる。そこでトップフォイルの回転軸との接触面には、耐熱及び耐摩耗用のコーティングが一様に塗布されている。
【先行技術文献】
【特許文献】
【0003】
特開2017-82909号公報
特開2018-150971号公報
特開2019-82195号公報
特開2004-190761号公報
国際公開第2014/098005号
【発明の概要】
【発明が解決しようとする課題】
【0004】
回転軸の駆動を開始する回転初期の段階において、空気膜の形成が安定するまではコーティングが回転軸に干渉して摩耗し易い。この摩耗によって生じた摩耗粉は、冷却空気中に混入する可能性もあり、この摩耗粉の発生はできるだけ抑えることが望まれる。
【0005】
本開示は、空気膜が安定する前に生じ易いコーティングの摩耗を防止して摩耗粉の発生を低減できるラジアルフォイル軸受を説明する。
【課題を解決するための手段】
【0006】
本開示の一形態に係るラジアルフォイル軸受は、回転軸に接するコーティングを備えたトップフォイルと、トップフォイルの外周側に配置されたバックフォイルと、バックフォイルを囲むように配置された軸受ハウジングと、を備え、トップフォイルは、バックフォイルに弾性支持された支持受け部と、バックフォイルから離間している支持回避部と、を備え、支持受け部の厚さは、支持回避部よりも薄い。
【0007】
空気膜が形成され始める回転初期の段階において、支持回避部はバックフォイルから離間しているので撓み易く、この撓みによって回転軸との干渉を避けることができる。一方で、バックフォイルに支持されている支持受け部は撓み難く、回転軸の干渉を受け易い。しかしながら、トップフォイルの厚さは均一ではなく、厚さ分布を有しており、回転軸に干渉し易い支持受け部の方が、支持回避部よりも薄くなっている。したがって、空気膜が安定するまでの回転初期の段階において、コーティングと回転軸との干渉を抑えることができる。その結果、コーティングの摩耗は防止され、摩耗粉の発生を低減できる。
【0008】
いくつかの態様において、支持受け部と支持回避部とは、回転軸の周方向で交互に配置されていてもよい。厚さの異なる支持回避部と支持受け部とを回転軸の周方向で交互に配置することで、トップフォイルには周方向で厚さ分布が生じ、空気膜厚は周方向で変化して圧力分布を形成し易くなる。その結果、くさび効果を得やすくなり、回転軸を支持できる負荷容量を増加できる。
【0009】
いくつかの態様において、バックフォイルは、湾曲して弾性変形可能であり、且つ周方向に配置されて支持受け部を弾性支持する複数の弾性部と、隣り合う弾性部同士の間に形成されると共に、支持回避部から離間している複数の底部と、を備えていてもよい。トップフォイルは、複数の弾性部によって弾性支持されながら回転軸との間に空気膜を形成する。底部は、支持回避部の撓みを許容する隙間を形成する。
【0010】
いくつかの態様において、弾性部は、支持受け部に対面して配置されており、支持受け部に当接して支持受け部を弾性支持していてもよい。弾性部は、支持受け部に直接、接触することで支持受け部を弾性支持できる。
(【0011】以降は省略されています)
この特許をJ-PlatPat(特許庁公式サイト)で参照する
関連特許
株式会社IHI
無人飛行体
7日前
株式会社IHIインフラシステム
塗膜除去方法
1か月前
株式会社IHI
誘導加熱装置
1か月前
株式会社IHIインフラシステム
塗膜除去方法
2日前
株式会社IHI
基板固定構造
1か月前
株式会社IHI
制御システム
1か月前
株式会社IHI
給電システム
1か月前
株式会社IHI原動機
脈動減衰装置
21日前
株式会社IHI物流産業システム
ピッキング設備
2か月前
株式会社IHI検査計測
プローブ取付装置
1か月前
株式会社IHIプラント
アンモニア受入設備
1か月前
株式会社IHI
多重構造部の止水方法
1日前
株式会社IHI
ラジアルフォイル軸受
1日前
株式会社IHIインフラ建設
合成桁の床版撤去方法
1か月前
株式会社IHI
修復装置および修復方法
14日前
株式会社IHI
走査装置および走査方法
2日前
株式会社IHI
ガス除害装置及びガス除害方法
1か月前
株式会社IHI汎用ボイラ
ボイラ及び水素ガスのパージ方法
11日前
株式会社IHI検査計測
ボルトねじ部のき裂検査装置と方法
1か月前
株式会社IHI
橋梁の管理方法および橋梁の管理装置
1か月前
株式会社IHI
乾燥装置、および、含水率の推定方法
23日前
株式会社IHI
認識装置、認識方法、及び、認識プログラム
1か月前
株式会社IHIプラント
アンモニア漏出処理設備及びアンモニア受入設備
1か月前
株式会社IHI建材工業
コンクリート部材及びその打設方法とセグメント
3日前
株式会社IHIインフラ建設
プレキャスト床版の壁高欄の構築方法及びシステム
2か月前
株式会社IHIインフラシステム
塗膜除去方法
1か月前
株式会社IHI検査計測
流動層燃焼炉を用いたバイオマス専焼時の流動不良予測評価方法
1か月前
株式会社IHI
スラストフォイル軸受
1か月前
トヨタ自動車株式会社
ブローバイガス処理装置、内燃機関、および過給機
1か月前
株式会社IHI
モータケーシングの端子接続構造及び回転機械
23日前
株式会社IHI
センサの設置に係るシミュレーション装置、シミュレーション方法、及び、シミュレーションプログラム
21日前
IHI運搬機械株式会社
二多段式駐車装置とその制御方法
1か月前
株式会社IHI
燃焼システム、燃焼システムにおいてアンモニアガスをパージする方法、および、燃焼システムにおいてアンモニアガスを供給する方法
11日前
東京電力ホールディングス株式会社
蒸気タービンプラント
1か月前
個人
CO2を循環利用してメタンを製造する方法
1か月前
個人
鍋虫ねじ
1か月前
続きを見る
他の特許を見る