TOP
|
特許
|
意匠
|
商標
特許ウォッチ
Twitter
他の特許を見る
10個以上の画像は省略されています。
公開番号
2025147813
公報種別
公開特許公報(A)
公開日
2025-10-07
出願番号
2024048245
出願日
2024-03-25
発明の名称
コンクリート部材及びその打設方法とセグメント
出願人
株式会社IHI建材工業
代理人
個人
,
個人
,
個人
,
個人
主分類
E21D
11/08 20060101AFI20250930BHJP(地中もしくは岩石の削孔;採鉱)
要約
【課題】高圧縮力が作用する条件下でも耐圧縮力が大きく高強度にする。
【解決手段】セグメント2Bは、内部に鉄筋かご16を備えたコンクリート製の高強度コンクリート部15と、高強度コンクリート部15の両側に配設されて継手面7をそれぞれ備えていると共に、高強度コンクリート部15より高強度で高強度コンクリート部15に向く内面14に孔部Hが形成されたプレキャスト製の超高強度コンクリート部14と、を備え、超高強度コンクリート部14の孔部Hには、鉄筋かご16の主鉄筋18が介挿されて固定されている。
【選択図】図16
特許請求の範囲
【請求項1】
対向する端面を有するコンクリート部材であって、
内部に鉄筋かごを備えたコンクリート製の高強度コンクリート部と、
前記高強度コンクリート部の両側に配設されて前記端面をそれぞれ備えていると共に、前記高強度コンクリート部より高強度なプレキャスト製の超高強度コンクリート部と、
を備え、
前記超高強度コンクリート部には、前記端面と対向する面に孔部が形成されており、
前記鉄筋かごの鉄筋は、前記孔部に介挿されて固定されている、
ことを特徴とするコンクリート部材。
続きを表示(約 670 文字)
【請求項2】
前記超高強度コンクリート部は前記高強度コンクリート部よりセメントの配合割合が多い請求項1に記載されたコンクリート部材。
【請求項3】
コンクリート製の継手面及び主桁面で複数連結されることで筒状壁体を構築する円弧版状のセグメントであって、
内部に鉄筋かごを備えた高強度コンクリート部と、
前記高強度コンクリート部の両側に連結されていると共に、前記高強度コンクリート部より高強度で前記高強度コンクリート部に向く面に孔部が形成されたプレキャスト製の超高強度コンクリート部と、
を備え、
前記超高強度コンクリート部の前記孔部には、前記鉄筋かごの鉄筋が介挿されて固定されている、
ことを特徴とするセグメント。
【請求項4】
対向する端面を有するコンクリート部材の打設方法であって、
前記端面を有し、前記端面と対向する面に孔部が形成されたプレキャスト製の超高強度コンクリートを、前記孔部が形成された面が向かい合うように型枠内に位置決めして設置する工程と、
前記型枠内における前記超高強度コンクリートの間に鉄筋かごを配設し、前記鉄筋かごの鉄筋を前記超高強度コンクリートに形成された前記孔部に介挿する工程と、
前記型枠内において前記超高強度コンクリートで挟まれた空間内にコンクリートを打設して前記超高強度コンクリートより強度の小さい高強度コンクリートを打設する工程と、
を備えたことを特徴とするコンクリート部材の打設方法。
発明の詳細な説明
【技術分野】
【0001】
本発明は、例えば地中の大深度区間に埋設されている道路トンネル等を含むシールドトンネルの筒状壁体を構成するコンクリート部材及びセグメントにおいて、土圧等の外力が大きくても耐力を確保できるコンクリート部材及びその打設方法とセグメントに関する。
続きを表示(約 1,900 文字)
【背景技術】
【0002】
一般に大深度区間に設けられたシールドトンネル等では、土圧や地下水圧、建築物の荷重等がかかるため、トンネル壁体を構成するセグメントに作用する外力が大きくなる。そのため、セグメント本体及び継手部に印加される圧縮応力度が増大する。一方、隣り合うセグメントを連結する継手部は引張部材であり、圧縮力を担保できない。
そのため、RCセグメントを用いた場合には外力に耐え得るように厚さを厚くする必要があり、トンネル外径が大きくなるため非経済的でコスト高になる。
【0003】
このような外力に耐えると共に厚さを抑えたセグメントとして、例えば特許文献1に記載された合成セグメントが提案されている。この合成セグメントでは、対向する継手面に露出する圧縮伝達材の間に、上下に配設された板状の鋼板を束材で連結した略H字状の主鋼材をコンクリートに埋設している。
そして、圧縮伝達材と主鋼材の間にくさび材を介在させて圧縮力を調整することで、外力により対向する継手面にかかる圧縮力を圧縮伝達材から主鋼材に分散させることで受け止めることができる。そのため、セグメントに過大な圧縮力がかかることがなく、継手面の圧壊を防止できるとしている。
【先行技術文献】
【特許文献】
【0004】
特許第5285933号公報
【発明の概要】
【発明が解決しようとする課題】
【0005】
しかしながら、上述した特許文献1に記載された合成セグメントでは、圧縮伝達材と主鋼材の間にくさび材を逆方向からそれぞれ打ち込んで外力に対向する圧縮力を設定するため、くさび材による圧縮力の調整が煩雑であった。
【0006】
本発明は、このような課題に鑑みてなされたものであって、大深度地下のような高圧縮力が作用する条件下でも耐圧縮力が大きく高強度なコンクリート部材及びその打設方法とセグメントを提供することを目的とする。
また、本発明の他の目的は耐圧縮性部材が存在しないような端面付近でも補強できるようにしたコンクリート部材及びその打設方法とセグメントを提供することである。
【課題を解決するための手段】
【0007】
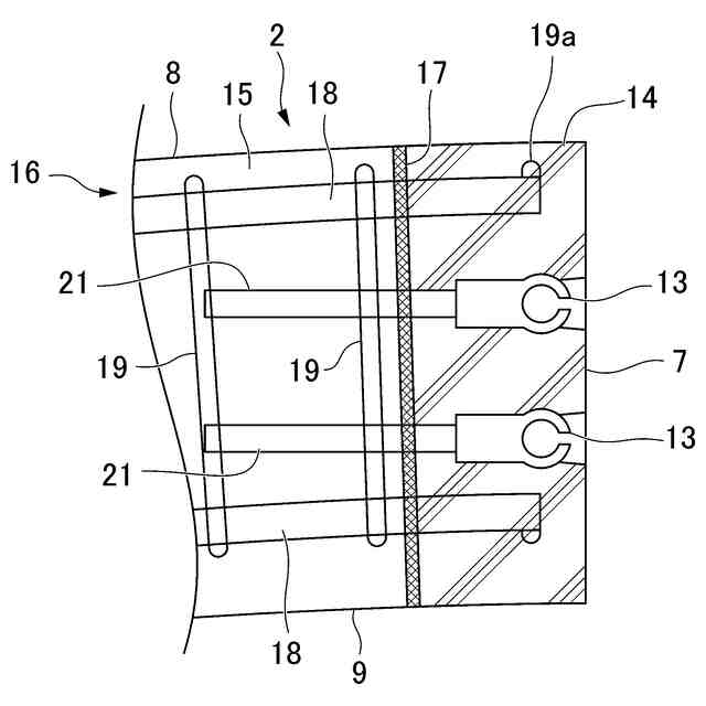
本発明のコンクリート部材は、対向する端面(7)を有するコンクリート部材(2B)であって、内部に鉄筋かご(16)を備えたコンクリート製の高強度コンクリート部(15)と、前記高強度コンクリート部の両側に配設されて前記端面をそれぞれ備えていると共に、前記高強度コンクリート部より高強度なプレキャスト製の超高強度コンクリート部(14)と、を備え、前記超高強度コンクリート部には、前記端面と対向する面(14a)に孔部(H)が形成されており、前記鉄筋かごの鉄筋(18)が、前記孔部に介挿されて固定されている。
【0008】
本発明のコンクリート部材によれば、両端部に超高強度コンクリート部を設けたため、コンクリート部材の端面同士を当接させた状態で大きな荷重がかかったとしても超高強度コンクリート部で受け止めて高強度コンクリート部と鉄筋かごに荷重を伝達して分散させて受け止めることができ、しかも厚みを増大させることなく耐圧縮性を向上できる。また、超高強度コンクリート部は高強度コンクリート部の内部の鉄筋かごに連結されていても、いなくてもよい。
【0009】
また、超高強度コンクリート部は高強度コンクリート部よりセメントの配合割合が多いことが好ましい。
超高強度コンクリート部のセメントの配合割合を高強度コンクリート部より多くすることで、より高強度なコンクリート部材が得られ、端部同士が当接して組み立てられた場合でも圧縮荷重に対する耐力が大きい。しかも、追加の鉄筋や圧縮鋼材も必要ない。
【0010】
本発明のセグメントは、コンクリート製の継手面(7)及び主桁面(6)で複数連結されることで筒状壁体(3)を構築する円弧版状のセグメント(2B)であって、内部に鉄筋かご(16)を備えた高強度コンクリート部(15)と、前記高強度コンクリート部の両側に連結されていると共に、前記高強度コンクリート部より高強度で前記高強度コンクリート部に向く面(14a)に孔部が形成されたプレキャスト製の超高強度コンクリート部(14)と、を備え、前記超高強度コンクリート部の前記孔部には、前記鉄筋かごの鉄筋が介挿されて固定されている。
(【0011】以降は省略されています)
この特許をJ-PlatPat(特許庁公式サイト)で参照する
関連特許
個人
掘削機
5か月前
日特建設株式会社
切断装置
1か月前
株式会社奥村組
地山探査装置
3か月前
株式会社奥村組
地山探査方法
3か月前
株式会社奥村組
地山探査装置
3か月前
株式会社奥村組
地山探査装置
3か月前
株式会社奥村組
シールド掘進機
6か月前
株式会社笠原建設
横孔形成方法
7か月前
日特建設株式会社
削孔システム
12日前
株式会社奥村組
シールド掘進機
2か月前
日特建設株式会社
ボーリング装置
7か月前
岐阜工業株式会社
トンネルセントル
2か月前
花王株式会社
岩盤の掘削方法
5か月前
個人
掘削機、及び、資源回収システム
7か月前
株式会社奥村組
泥土圧シールド掘進機
6か月前
株式会社熊谷組
天井板撤去装置
7か月前
個人
オープンシールド機
3か月前
株式会社奥村組
セグメントの組立方法
2か月前
個人
オープンシールド機
3か月前
大阪瓦斯株式会社
牽引装置
6か月前
個人
箱形ルーフおよびその施工法
2か月前
岐阜工業株式会社
コンクリート分配装置
25日前
デンカ株式会社
静的破砕方法
3か月前
株式会社金澤製作所
発進坑口のエントランス装置
6か月前
地中空間開発株式会社
トンネル掘削機
1か月前
個人
メタンハイドレート等海底鉱物資源の採取方法
4か月前
大阪瓦斯株式会社
切欠開裂治具
6か月前
岐阜工業株式会社
トンネルセントルの妻板装置
3か月前
日鉄建材株式会社
構造物用補強リング及び構造物
2か月前
大成建設株式会社
トンネルとその施工方法
7か月前
株式会社奥村組
地山探査装置に用いる地山保持材
3か月前
株式会社ケー・エフ・シー
トンネル水圧調整装置
2か月前
戸田建設株式会社
掘削機切削部側壁
4か月前
株式会社奥村組
先行ビットおよびそれを備える掘削機
3か月前
株式会社奥村組
先行ビットおよびそれを備える掘削機
3か月前
株式会社ケー・エフ・シー
モルタル注入管理システム
7か月前
続きを見る
他の特許を見る