TOP
|
特許
|
意匠
|
商標
特許ウォッチ
Twitter
他の特許を見る
10個以上の画像は省略されています。
公開番号
2025069707
公報種別
公開特許公報(A)
公開日
2025-05-01
出願番号
2023179597
出願日
2023-10-18
発明の名称
モルタル注入管理システム
出願人
株式会社ケー・エフ・シー
代理人
個人
主分類
E21D
20/02 20060101AFI20250423BHJP(地中もしくは岩石の削孔;採鉱)
要約
【課題】混練圧送ポンプでモルタルを注入する際に注入孔へのモルタルの注入量を正確に算出する。
【解決手段】混練圧送ポンプ3の運転状態と運転停止を切り替える運転動作切替部314と、給水管305に設置される水量計306と、入力されたモルタル種別に応じて、算出データ格納部222から対応する算出定数を抽出し、モルタルMを圧送する混練圧送ポンプ3の運転時に水量計306から取り込む単位時間当たりの供給水量に対応する算出吐出量を算出定数に基づき算出する吐出量算出部211と、算出吐出量211を積算して設定注入量と対比し、積算算出吐出量が設定注入量以上若しくは超であるか判定する基準注入判定部212を備え、積算算出吐出量が設定注入量以上若しくは超である場合に基準量クリアの情報を出力するモルタル注入管理システム1。
【選択図】図5
特許請求の範囲
【請求項1】
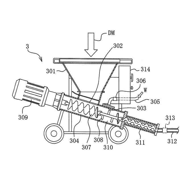
ドライモルタルが定量で連続供給される混練部に給水管で所望のモルタル性状となるように調整して水が供給され、前記ドライモルタルと前記水の混練で生成されたモルタルを圧送ポンプ部で圧送ホースを介して圧送する混練圧送ポンプと、
前記混練圧送ポンプの運転状態と運転停止を切り替える運転動作切替部と、
前記給水管に設置される水量計と、
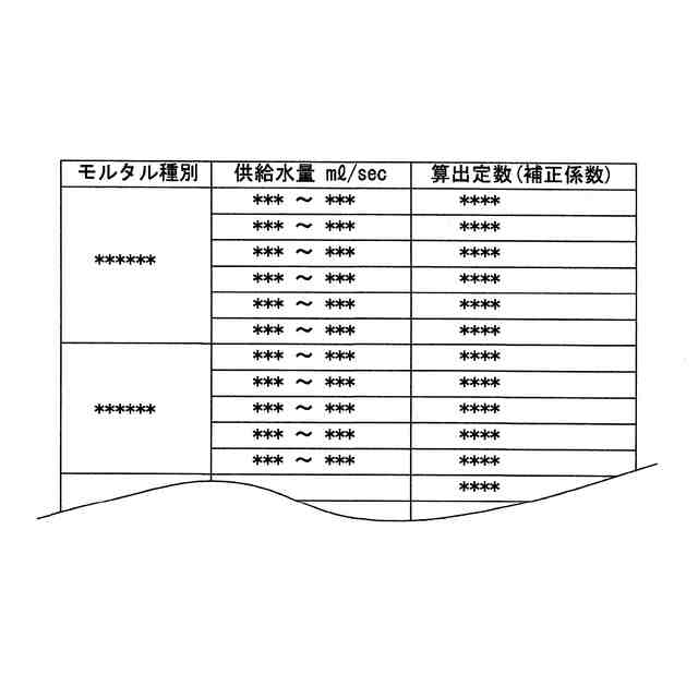
モルタル種別に対応する算出定数を格納する算出データ格納部と、
注入孔に対するモルタルの設定注入量を格納する設定注入量格納部と、
入力されたモルタル種別に応じて、前記算出データ格納部から対応する前記算出定数を抽出し、モルタルを圧送する前記混練圧送ポンプの運転時に前記水量計から取り込む単位時間当たりの供給水量に対応する算出吐出量を前記算出定数に基づき算出する吐出量算出部と、
前記算出吐出量を積算して前記設定注入量と対比し、積算算出吐出量が前記設定注入量以上若しくは超であるか判定する基準注入判定部とを備え、
前記積算算出吐出量が前記設定注入量以上若しくは超である場合に基準量クリアの情報を出力することを特徴とするモルタル注入管理システム。
続きを表示(約 860 文字)
【請求項2】
前記算出データ格納部が、前記算出定数が代入されて算出吐出量を算出する吐出量算出式を格納し、
前記吐出量算出部が、前記吐出量算出式に抽出した前記算出定数を代入して前記算出吐出量を算出することを特徴とする請求項1記載のモルタル注入管理システム。
【請求項3】
前記算出データ格納部が、モルタル種別と前記水量計から取り込む単位時間当たりの供給水量に対応する算出定数を格納し、
前記吐出量算出部が、前記混練圧送ポンプの標準吐出量を前記算出定数で補正して前記算出吐出量を算出することを特徴とする請求項1記載のモルタル注入管理システム。
【請求項4】
前記圧送ホースに設置される圧力センサーと、
注入孔に対するモルタルの設定注入圧を格納する設定注入圧格納部と、
圧力センサーの測定注入圧が前記設定注入圧以上若しくは超であるか判定する前記基準注入判定部とを備え、
前記積算算出吐出量が前記設定注入量以上若しくは超であり、且つ前記測定注入圧が前記設定注入圧以上若しくは超である場合に前記基準量クリアの情報を出力することを特徴とする請求項1~3の何れかに記載のモルタル注入管理システム。
【請求項5】
前記基準量クリアの情報が携帯端末で表示されるように前記基準量クリアの情報を前記携帯端末に出力することを特徴とする請求項1~3の何れかに記載のモルタル注入管理システム。
【請求項6】
前記モルタル種別が前記携帯端末から入力されると共に、
前記混練圧送ポンプの運転状態と運転停止を切り替える前記運転動作切替部が前記携帯端末に設けられることを特徴とする請求項5記載のモルタル注入管理システム。
【請求項7】
モルタルが注入される注入孔の識別情報と、前記識別情報の注入孔に対する積算算出吐出量を対応して格納する施工記録格納部を備えることを特徴とする請求項1~3の何れかに記載のモルタル注入管理システム。
発明の詳細な説明
【技術分野】
【0001】
本発明は、地山補強のために地山の注入孔にモルタルを注入する際に、注入孔毎にモルタルの注入量を算出するモルタル注入管理システムに関する。
続きを表示(約 2,700 文字)
【背景技術】
【0002】
従来、地山補強のために地山の注入孔にモルタルを注入する際に、注入孔毎にモルタルの注入量を算出するシステムとして特許文献1、2のロックボルト工法管理システムがある。このロックボルト工法管理システムは、トンネルに形成されたロックボルトが差し込まれるロックボルト孔に圧送ポンプでモルタルを注入する際に、圧送ポンプの吐出ポートと圧送ホースとの間に設けられた流量計でモルタルの流量を測定し、圧送ポンプの運転開始から運転停止までの運転期間中における流量計の測定流量に基づき各ロックボルト孔へのモルタルのトータル注入量を算出するものである。
【先行技術文献】
【特許文献】
【0003】
特開2023-21448号公報
特開2023-21449号公報
【発明の概要】
【発明が解決しようとする課題】
【0004】
ところで、一般的な流量計は、粘性の小さい液体や気体のように粘性の小さい流体の流量は正確に測定できるものの、モルタルのような粘性の大きい流体の流量を測定すると実際の流量とかなりずれてしまうのが通常である。そのため、特許文献1、2のシステムのように、圧送ポンプの運転開始から運転停止までの運転期間中における流量計の測定流量に基づき注入孔へのモルタルのトータル注入量を算出すると、注入孔への実際のモルタル注入量との誤差が大きくなってしまうという問題がある。
【0005】
本発明は上記課題に鑑み提案するものであって、地山補強のために地山の注入孔に混練圧送ポンプでモルタルを注入する際に、注入孔へのモルタルの注入量を正確に算出し、注入孔への必要なモルタルの注入を確実に行うことができるモルタル注入管理システムを提供することを目的とする。
【課題を解決するための手段】
【0006】
本発明のモルタル注入管理システムは、ドライモルタルが定量で連続供給される混練部に給水管で所望のモルタル性状となるように調整して水が供給され、前記ドライモルタルと前記水の混練で生成されたモルタルを圧送ポンプ部で圧送ホースを介して圧送する混練圧送ポンプと、前記混練圧送ポンプの運転状態と運転停止を切り替える運転動作切替部と、前記給水管に設置される水量計と、モルタル種別に対応する算出定数を格納する算出データ格納部と、注入孔に対するモルタルの設定注入量を格納する設定注入量格納部と、入力されたモルタル種別に応じて、前記算出データ格納部から対応する前記算出定数を抽出し、モルタルを圧送する前記混練圧送ポンプの運転時に前記水量計から取り込む単位時間当たりの供給水量に対応する算出吐出量を前記算出定数に基づき算出する吐出量算出部と、前記算出吐出量を積算して前記設定注入量と対比し、積算算出吐出量が前記設定注入量以上若しくは超であるか判定する基準注入判定部とを備え、前記積算算出吐出量が前記設定注入量以上若しくは超である場合に基準量クリアの情報を出力することを特徴とする。
これによれば、ドライモルタルが定量で連続供給される混練圧送ポンプの混練部に給水管で所望のモルタル性状となるように調整して水が供給される構成では、給水管で供給される供給水量が増減した場合に、混練圧送ポンプからの実際のモルタルの吐出量は標準吐出量とは異なることが通常であるが、給水管に設置した水量計で実際の供給水量を測定し、供給水量に対応する算出吐出量を算出定数に基づき算出することにより、混練圧送ポンプからの実際のモルタルの吐出量として正確な値を得ることができる。更に、算出吐出量を積算して積算算出吐出量を得ることにより、実際の各注入孔のモルタルの注入量の正確な値を積算算出吐出量として得ることができる。そして、積算算出吐出量を設定注入量以上若しくは超であるか判定することにより、注入孔への必要なモルタルの注入を行えたか判定することができる。従って、地山補強のために地山の注入孔に混練圧送ポンプでモルタルを注入する際に、注入孔へのモルタルの注入量を正確に算出し、注入孔への必要なモルタルの注入を確実に行い、モルタル注入の施工管理を行うことができる。
【0007】
本発明のモルタル注入管理システムは、前記算出データ格納部が、前記算出定数が代入されて算出吐出量を算出する吐出量算出式を格納し、前記吐出量算出部が、前記吐出量算出式に抽出した前記算出定数を代入して前記算出吐出量を算出することを特徴とする。
これによれば、水量計から取り込む単位時間当たりの供給水量に対応する算出吐出量を、吐出量算出式に算出定数を代入して簡単且つ正確に算出することができる。
【0008】
本発明のモルタル注入管理システムは、前記算出データ格納部が、モルタル種別と前記水量計から取り込む単位時間当たりの供給水量に対応する算出定数を格納し、前記吐出量算出部が、前記混練圧送ポンプの標準吐出量を前記算出定数で補正して前記算出吐出量を算出することを特徴とする。
これによれば、水量計から取り込む単位時間当たりの供給水量に対応する算出吐出量を、モルタル種別と水量計から取り込む単位時間当たりの供給水量に対応する算出定数で混練圧送ポンプの標準吐出量を補正して簡単且つ正確に算出することができる。
【0009】
本発明のモルタル注入管理システムは、前記圧送ホースに設置される圧力センサーと、注入孔に対するモルタルの設定注入圧を格納する設定注入圧格納部と、圧力センサーの測定注入圧が前記設定注入圧以上若しくは超であるか判定する前記基準注入判定部とを備え、前記積算算出吐出量が前記設定注入量以上若しくは超であり、且つ前記測定注入圧が前記設定注入圧以上若しくは超である場合に前記基準量クリアの情報を出力することを特徴とする。
これによれば、正確に算出したモルタルの注入量に加え、注入圧でも注入孔に対して必要なモルタル注入が行われたことを確認することができ、注入孔への必要なモルタルの注入をより確実に行い、モルタル注入の施工管理を行うことができる。
【0010】
本発明のモルタル注入管理システムは、前記基準量クリアの情報が携帯端末で表示されるように前記基準量クリアの情報を前記携帯端末に出力することを特徴とする。
これによれば、携帯端末を持つ作業員がリアルタイムで必要なモルタル注入が行われたことを認識することができ、モルタル注入作業全体の作業効率を高めることができる。
(【0011】以降は省略されています)
この特許をJ-PlatPat(特許庁公式サイト)で参照する
関連特許
個人
掘削機
4か月前
株式会社奥村組
地山探査装置
2か月前
株式会社奥村組
地山探査方法
2か月前
株式会社奥村組
地山探査装置
2か月前
株式会社奥村組
地山探査装置
2か月前
株式会社奥村組
シールド掘進機
23日前
株式会社奥村組
シールド掘進機
7か月前
株式会社奥村組
シールド掘進機
4か月前
株式会社笠原建設
横孔形成方法
5か月前
日特建設株式会社
ボーリング装置
6か月前
岐阜工業株式会社
トンネルセントル
23日前
花王株式会社
岩盤の掘削方法
3か月前
個人
オープンシールド機
1か月前
個人
オープンシールド機
1か月前
株式会社奥村組
泥土圧シールド掘進機
5か月前
株式会社奥村組
セグメントの組立方法
1か月前
個人
掘削機、及び、資源回収システム
5か月前
株式会社奥村組
テールシール試験装置
7か月前
株式会社熊谷組
天井板撤去装置
5か月前
大阪瓦斯株式会社
牽引装置
5か月前
個人
箱形ルーフおよびその施工法
16日前
株式会社ケー・エフ・シー
剥落防止構造
6か月前
日特建設株式会社
削孔方法及び削孔装置
7か月前
株式会社大林組
インバート更新工法
7か月前
デンカ株式会社
静的破砕方法
1か月前
株式会社金澤製作所
発進坑口のエントランス装置
4か月前
個人
メタンハイドレート等海底鉱物資源の採取方法
2か月前
地中空間開発株式会社
トンネル掘削機
9日前
大阪瓦斯株式会社
切欠開裂治具
5か月前
大成建設株式会社
トンネルの褄部構造
6か月前
株式会社ケー・エフ・シー
防水シート探傷装置
7か月前
岐阜工業株式会社
トンネルセントルの妻板装置
2か月前
日鉄建材株式会社
構造物用補強リング及び構造物
17日前
大成建設株式会社
トンネルとその施工方法
6か月前
株式会社神島組
小割用工具および小割方法
6か月前
古河ロックドリル株式会社
穿孔機械
6か月前
続きを見る
他の特許を見る