TOP
|
特許
|
意匠
|
商標
特許ウォッチ
Twitter
他の特許を見る
公開番号
2025174048
公報種別
公開特許公報(A)
公開日
2025-11-28
出願番号
2024080052
出願日
2024-05-16
発明の名称
油圧PWM制御弁
出願人
株式会社IHI
代理人
個人
,
個人
,
個人
主分類
F16K
3/24 20060101AFI20251120BHJP(機械要素または単位;機械または装置の効果的機能を生じ維持するための一般的手段)
要約
【課題】シンプルな構成でPWM制御を可能とする回転スプール式の油圧PWM制御弁を提供する。
【解決手段】油圧PWM制御弁は、バルブボディの内部に固定的に収納された、円筒状のスリーブ100と、スリーブ100の内部に収納された、所定回転速度で回転可能な回転スプール200と、回転スプール200の内部に収納された、中心軸O回りに所定範囲内で回動可能な制御スプール300と、を備えている。制御スプールは、上記所定範囲内において、[1]スリーブ導出ポート107の周方向形成範囲の全てが凸部304の周方向形成範囲に含まれる導出全閉位置と、[2]スリーブ導出ポート107の周方向形成範囲と連通凹部303の周方向形成範囲とが最も広範囲に重複する導出全開位置との間で回動可能である。
【選択図】図5
特許請求の範囲
【請求項1】
油圧PWM制御弁であって、
液体を前記油圧PWM制御弁へと導入するボディ導入ポート、及び、前記液体を前記油圧PWM制御弁から導出するボディ導出ポートを有するバルブボディと、
前記バルブボディの内部に固定的に収納された、円筒状のスリーブと、
前記スリーブの内部に収納されて、その外周面上に設けられた第1流体軸受部を介して所定回転速度で中心軸回りに回転可能に前記スリーブによって支持された円筒状の回転スプールと、
前記回転スプールの内部に収納されて、その外周面上に設けられた第2流体軸受部を介して前記中心軸回りに所定範囲内で回動可能に前記回転スプールによって支持された円柱状の制御スプールと、を備えており、
前記ボディ導入ポートと前記スリーブの前記内部とを常時連通させるスリーブ導入ポート、及び、前記ボディ導出ポートと前記スリーブの前記内部とを常時連通させるスリーブ導出ポートが、前記スリーブに形成されており、
前記スリーブ導入ポートと常時連通する第1環状チャンバが前記第1流体軸受部と隣接して前記スリーブと前記回転スプールとの間に形成されており、
前記第1環状チャンバと前記回転スプールの前記内部との間を常時連通させるスプール導入ポートが前記回転スプールに形成されており、
前記スプール導入ポートと常時連通する第2環状チャンバが前記第2流体軸受部と隣接して前記回転スプールと前記制御スプールとの間に形成されており、
前記中心軸の方向における前記スリーブの前記スリーブ導出ポートに対応する軸対応位置において、前記第2環状チャンバと連通する連通凹部と、前記回転スプールの内周面に摺動接触する凸部と、が前記制御スプールの周方向に交互に形成されており、
前記軸対応位置において、前記連通凹部と前記スリーブ導出ポートとを連通させ得るスプール導出ポートが前記回転スプールに形成されており、
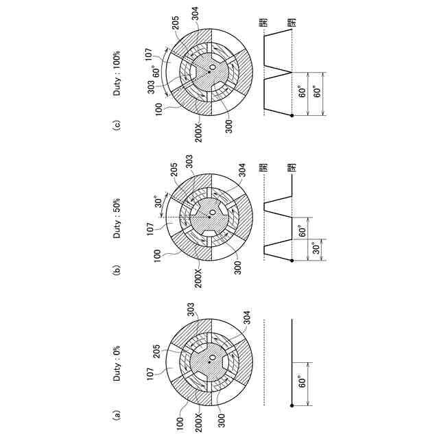
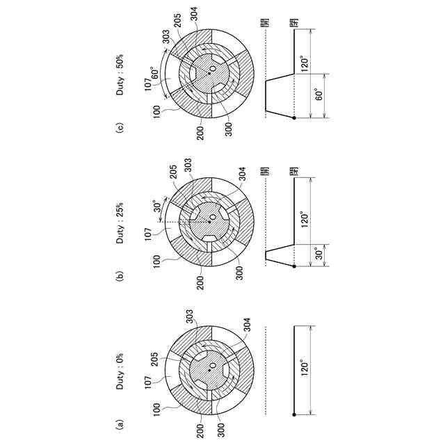
前記制御スプールが、前記所定範囲内において、[1]前記スリーブ導出ポートの周方向形成範囲の全てが前記凸部の周方向形成範囲に含まれる導出全閉位置と、[2]前記スリーブ導出ポートの前記周方向形成範囲と前記連通凹部の周方向形成範囲とが最も広範囲に重複する導出全開位置と、の間で回動可能である、油圧PWM制御弁。
続きを表示(約 750 文字)
【請求項2】
請求項1に記載の油圧PWM制御弁であって、
前記第1流体軸受部の前記外周面上に、周方向に一定間隔で複数の第1静圧ポケットが形成されている、油圧PWM制御弁。
【請求項3】
請求項2に記載の油圧PWM制御弁であって、
前記第1流体軸受部と前記第1環状チャンバとの境界を第1内側境界とし、前記第1流体軸受部の前記第1内側境界とは反対側の境界を第1外側境界としたときに、複数の前記第1静圧ポケットそれぞれの前記第1内側境界との第1内側距離が前記第1外側境界との第1外側距離よりも短い、油圧PWM制御弁。
【請求項4】
請求項3に記載の油圧PWM制御弁であって、
複数の前記第1静圧ポケットの前記外周面上の前記一定間隔は、前記第1外側距離よりも長い、油圧PWM制御弁。
【請求項5】
請求項1~4の何れか一項に記載の油圧PWM制御弁であって、
前記第2流体軸受部の前記外周面上に、周方向に一定間隔で複数の第2静圧ポケットが形成されている、油圧PWM制御弁。
【請求項6】
請求項5に記載の油圧PWM制御弁であって、
前記第2流体軸受部と前記第2環状チャンバとの境界を第2内側境界とし、前記第2流体軸受部の前記第2内側境界とは反対側の境界を第2外側境界としたときに、複数の前記第2静圧ポケットそれぞれの前記第2内側境界との第2内側距離が前記第2外側境界との第2外側距離よりも短い、油圧PWM制御弁。
【請求項7】
請求項6に記載の油圧PWM制御弁であって、
複数の前記第2静圧ポケットの前記外周面上の前記一定間隔は、前記第2外側距離よりも長い、油圧PWM制御弁。
発明の詳細な説明
【技術分野】
【0001】
本開示は、油圧PWM(Pulse Width Modulation)制御弁に関する。
続きを表示(約 2,800 文字)
【背景技術】
【0002】
油圧流量制御の手法として、ON/OFFする弁の開口時間率をPWM制御することにより、時間平均当たりの平均流量を制御することが行われる。PWM制御の一般的な油圧装置への適用にあたっては、弁開閉に伴う振動および騒音を減衰させて、連続流体量としての制御とするためには、なるべく高速(高周波数)でのPWM動作が望まれる。この油圧PWM制御にあたっては,ON/OFF切換操作を行う制御弁として電磁ソレノイド駆動によるポペット弁形式の電磁弁が一般的に適用されている。しかし、電磁弁では弁可動部を電磁力で駆動させるため、弁可動部の質量が大きくなると開閉デューティー比の動作周波数を高くすることができず応答性に課題がある。また、電磁ソレノイド駆動力の制約によって、大流量のPWM制御は実現が困難である。
【先行技術文献】
【非特許文献】
【0003】
不二越技報 Vol.53 No.1 1997 「高速電磁弁、比例弁、比例シート弁による電子油圧制御」 田中裕久 氏
【発明の概要】
【発明が解決しようとする課題】
【0004】
上記非特許文献1は、パイロット弁としての電磁弁のPWM制御により主弁としてのシート弁の開度を制御することを開示している。非特許文献1で開示された制御弁では、PWM制御によって直接制御されるのはパイロット弁としての電磁弁だけであり、このパイロット弁により主弁としてのシート弁の開度を制御することで流量が制御される。このように,PWM制御が可能な電磁弁による油圧制御弁としては、その電磁ソレノイドの駆動力の制約から、パイロット弁等の小流量の用途に限定されて、主弁のような大流量の制御は実現が困難である。また、非特許文献1は、回転スプール式の油圧制御弁に関しては開示していない。発明者は、回転スプール式の油圧制御弁のPWM制御をシンプルな構成で実現すべく鋭意検討を行い、本開示の油圧PWM制御弁を実現した。
【0005】
本開示の目的は、シンプルな構成でPWM制御を可能とする回転スプール式の油圧PWM制御弁を提供することにある。
【課題を解決するための手段】
【0006】
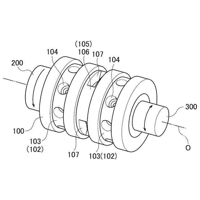
本開示に係る油圧PWM制御弁は、バルブボディと、前記バルブボディの内部に固定的に収納された円筒状のスリーブと、前記スリーブの内部に収納された円筒状の回転スプールと、前記回転スプールの内部に収納された円柱状の制御スプールとを備えている。前記バルブボディは、液体を前記油圧PWM制御弁へと導入するボディ導入ポート、及び、前記液体を前記油圧PWM制御弁から導出するボディ導出ポートを有している。前記回転スプールは、その外周面上に設けられた第1流体軸受部を介して所定回転速度で中心軸回りに回転可能に前記スリーブによって支持されている。前記制御スプールは、その外周面上に設けられた第2流体軸受部を介して前記中心軸回りに所定範囲内で回動可能に前記回転スプールによって支持されている。前記ボディ導入ポートと前記スリーブの前記内部とを常時連通させるスリーブ導入ポート、及び、前記ボディ導出ポートと前記スリーブの前記内部とを常時連通させるスリーブ導出ポートが、前記スリーブに形成されている。前記スリーブ導入ポートと常時連通する第1環状チャンバが前記第1流体軸受部と隣接して前記スリーブと前記回転スプールとの間に形成されている。前記第1環状チャンバと前記回転スプールの前記内部との間を常時連通させるスプール導入ポートが前記回転スプールに形成されている。前記スプール導入ポートと常時連通する第2環状チャンバが前記第2流体軸受部と隣接して前記回転スプールと前記制御スプールとの間に形成されている。前記中心軸の方向における前記スリーブの前記スリーブ導出ポートに対応する軸対応位置において、前記第2環状チャンバと連通する連通凹部と、前記回転スプールの内周面に摺動接触する凸部と、が前記制御スプールの周方向に交互に形成されている。前記軸対応位置において、前記連通凹部と前記スリーブ導出ポートとを連通させ得るスプール導出ポートが前記回転スプールに形成されている。前記制御スプールは、前記所定範囲内において、[1]前記スリーブ導出ポートの周方向形成範囲の全てが前記凸部の周方向形成範囲に含まれる導出全閉位置と、[2]前記スリーブ導出ポートの前記周方向形成範囲と前記連通凹部の周方向形成範囲とが最も広範囲に重複する導出全開位置と、の間で回動可能である。
【0007】
前記第1流体軸受部の前記外周面上に、周方向に一定間隔で複数の第1静圧ポケットが形成されていてもよい。前記第1流体軸受部と前記第1環状チャンバとの境界を第1内側境界とし、前記第1流体軸受部の前記第1内側境界とは反対側の境界を第1外側境界としたときに、複数の前記第1静圧ポケットそれぞれの前記第1内側境界との第1内側距離が前記第1外側境界との第1外側距離よりも短くてもよい。複数の前記第1静圧ポケットの前記外周面上の前記一定間隔は、前記第1外側距離よりも長くてもよい。
【0008】
前記第2流体軸受部の前記外周面上に、周方向に一定間隔で複数の第2静圧ポケットが形成されていてもよい。前記第2流体軸受部と前記第2環状チャンバとの境界を第2内側境界とし、前記第2流体軸受部の前記第2内側境界とは反対側の境界を第2外側境界としたときに、複数の前記第2静圧ポケットそれぞれの前記第2内側境界との第2内側距離が前記第2外側境界との第2外側距離よりも短くてもよい。複数の前記第2静圧ポケットの前記外周面上の前記一定間隔は、前記第2外側距離よりも長くてもよい。
【発明の効果】
【0009】
本開示に係る油圧PWM制御弁によれば、シンプルな構成でPWM制御を可能な回転スプール弁を実現することができる。
【図面の簡単な説明】
【0010】
実施形態に係る油圧PWM制御弁の全体斜視図である。
上記油圧PWM制御弁のスリーブを、回転スプール及び制御スプールと共に示す斜視図である。
上記回転スプールを示す斜視図である。
上記制御スプールを示す斜視図である。
上記実施形態でのPWM制御を説明するための断面図である。
上記油圧PWM制御弁における調芯作用を説明するための、第1又は第2流体軸受部の拡大断面図である。
上記実施形態の変形例における制御スプールを示す斜視図である。
上記変形例でのPWM制御を説明するための断面図である。
【発明を実施するための形態】
(【0011】以降は省略されています)
この特許をJ-PlatPat(特許庁公式サイト)で参照する
関連特許
株式会社IHIポールワース
炉頂装置
3日前
株式会社IHIアグリテック
農作業機
1か月前
株式会社IHI
判定方法
11日前
株式会社IHIアグリテック
トレーラ
1か月前
株式会社IHIアグリテック
農作業機
27日前
株式会社IHI
無人飛行体
1か月前
株式会社IHI
基板固定構造
2か月前
株式会社IHI
給電システム
2か月前
株式会社IHI原動機
脈動減衰装置
2か月前
株式会社IHIインフラシステム
塗膜除去方法
1か月前
株式会社IHI原動機
エンジン装置
1か月前
株式会社IHIインフラシステム
塗膜除去方法
3か月前
株式会社IHI
油圧PWM制御弁
3日前
株式会社IHI回転機械エンジニアリング
サイレンサ及び過給機
4日前
株式会社IHI建材工業
セグメントの接合構造
1か月前
株式会社IHI
ラジアルフォイル軸受
1か月前
株式会社IHI
多重構造部の止水方法
1か月前
株式会社IHIインフラ建設
合成桁の床版撤去方法
3か月前
株式会社IHIインフラ建設
ワイヤロープ油除去装置
1か月前
株式会社IHI
修復装置および修復方法
2か月前
株式会社IHI
走査装置および走査方法
1か月前
株式会社IHI
クリンチング接合検査装置
24日前
株式会社IHI
探索装置、および、探索方法
3日前
株式会社IHI
ガス除害装置及びガス除害方法
2か月前
株式会社IHIインフラシステム
吊材取替方法及び吊材取替装置
1か月前
株式会社IHI汎用ボイラ
ボイラ及び水素ガスのパージ方法
2か月前
株式会社IHI
橋梁の管理方法および橋梁の管理装置
2か月前
株式会社IHI
乾燥装置、および、含水率の推定方法
2か月前
株式会社IHI
超音波接合方法、および、超音波接合装置
11日前
株式会社IHI
認識装置、認識方法、及び、認識プログラム
2か月前
JFEスチール株式会社
高炉の原料装入方法
3日前
株式会社IHI
鉄または鉄合金を接着する組成物および接着方法
3日前
株式会社IHI建材工業
コンクリート部材及びその打設方法とセグメント
1か月前
株式会社IHI
画像処理装置、画像処理方法、及び、画像処理プログラム
25日前
株式会社IHIインフラシステム
塗膜除去方法
3か月前
株式会社IHI検査計測
流動層燃焼炉を用いたバイオマス専焼時の流動不良予測評価方法
2か月前
続きを見る
他の特許を見る