TOP
|
特許
|
意匠
|
商標
特許ウォッチ
Twitter
他の特許を見る
10個以上の画像は省略されています。
公開番号
2025158735
公報種別
公開特許公報(A)
公開日
2025-10-17
出願番号
2024061583
出願日
2024-04-05
発明の名称
吊材取替方法及び吊材取替装置
出願人
株式会社IHIインフラシステム
代理人
弁理士法人アテンダ国際特許事務所
主分類
E01D
22/00 20060101AFI20251009BHJP(道路,鉄道または橋りょうの建設)
要約
【課題】吊構造物の上下方向の変位を生じさせることなく既設の吊材を新たな吊材に取り替えることのできる吊材取替方法及び吊材取替装置を提供する。
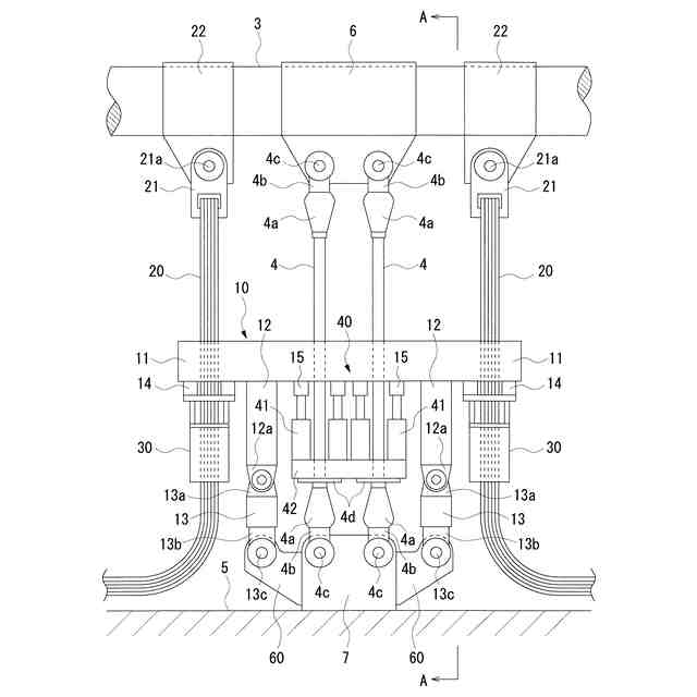
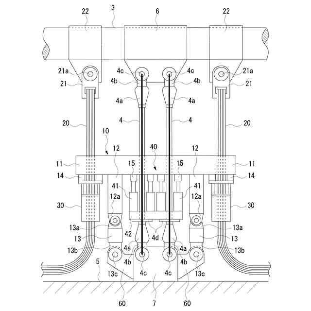
【解決手段】第2のジャッキ40によって既設の各ハンガーケーブル4の下端側を除く部分と第1の仮吊部材10との間に張力を付与することにより、既設の各ハンガーケーブル4の下端側の張力を第2のジャッキ40及び第1の仮吊部材10に移行させ、既設の各ハンガーケーブル4の下端側と吊構造物5側との連結を解除し、第2のジャッキ40による既設の各ハンガーケーブル4の下端側を除く部分と第1の仮吊部材10との間の張力を減じながら第1のジャッキ30によって第1の仮吊部材10と第2の仮吊部材20との間に張力を付与することにより、既設の各ハンガーケーブル4の張力を全て第1及び第2の仮吊部材10,20に移行させる。
【選択図】図3
特許請求の範囲
【請求項1】
上端をメインケーブル側に連結され、下端を吊構造物側に連結された既設の吊材を新たな吊材に取り替える吊材取替方法において、
前記吊構造物側に連結された第1の仮吊部材と、前記メインケーブル側に連結された第2の仮吊部材と、第1の仮吊部材と第2の仮吊部材との間に張力を付与可能な第1の張力付与装置と、吊材の下端側を除く部分と第1の仮吊部材との間に張力を付与可能な第2の張力付与装置とを用い、
第2の張力付与装置によって既設の吊材の下端側を除く部分と第1の仮吊部材との間に張力を付与することにより、既設の吊材の下端側の張力を第2の張力付与装置及び第1の仮吊部材に移行させ、
無張力状態となった既設の吊材の下端側と吊構造物側との連結を解除し、
第2の張力付与装置による既設の吊材の下端側を除く部分と第1の仮吊部材との間の張力を減じながら第1の張力付与装置によって第1の仮吊部材と第2の仮吊部材との間に張力を付与することにより、既設の吊材の張力を全て第1及び第2の仮吊部材に移行させ、
全体が無張力状態となった既設の吊材を新たな吊材に取り替える
ことを特徴とする吊材取替方法。
続きを表示(約 1,000 文字)
【請求項2】
前記既設の吊材を新たな吊材に取り替えた後、
第2の張力付与装置によって新たな吊材の下端側を除く部分と第1の仮吊部材との間に張力を付与しながら第1の張力付与装置によって第1の仮吊部材と第2の仮吊部材との間の張力を減ずることにより、第1及び第2の仮吊部材の張力を新たな吊材の下端側を除く部分と第2の張力付与装置及び第1の仮吊部材に移行させ、
新たな吊材の下端側を吊構造物側に連結した後、
第2の張力付与装置による新たな吊材の下端側を除く部分と第1の仮吊部材との間の張力を解除することにより、第1の仮吊部材の張力を新たな吊材の全体に移行させる
ことを特徴とする請求項1記載の吊材取替方法。
【請求項3】
前記第1の張力付与装置によって第1の仮吊部材と第2の仮吊部材との間に微小な張力を付与して第1の仮吊部材と第2の仮吊部材とを緊張させた状態で、第2の張力付与装置による既設の吊材の下端側を除く部分と第1の仮吊部材との間の張力を減じながら第1の張力付与装置によって第1の仮吊部材と第2の仮吊部材との間に張力を付与する
ことを特徴とする請求項1記載の吊材取替方法。
【請求項4】
前記第2の仮吊部材の長さを前記吊材の長さに応じて変える
ことを特徴とする請求項1記載の吊材取替方法。
【請求項5】
前記第2の仮吊部材及び第1の張力付与装置としてストランド及びストランドジャッキを用いる
ことを特徴とする請求項4記載の吊材取替方法。
【請求項6】
上端をメインケーブル側に連結され、下端を吊構造物側に連結された既設の吊材を新たな吊材に取り替えるための吊材取替装置において、
前記吊構造物側に連結される第1の仮吊部材と、
前記メインケーブル側に連結される第2の仮吊部材と、
第1の仮吊部材と第2の仮吊部材との間に張力を付与可能な第1の張力付与装置と、
吊材の下端側を除く部分と第1の仮吊部材との間に張力を付与可能な第2の張力付与装置とを備えた
ことを特徴とする吊材取替装置。
【請求項7】
前記第2の仮吊部材の長さを前記吊材の長さに応じて変え得るように構成した
ことを特徴とする請求項6記載の吊材取替装置。
【請求項8】
前記第2の仮吊部材及び第6の張力付与装置をストランド及びストランドジャッキによって構成した
ことを特徴とする請求項7記載の吊材取替装置。
発明の詳細な説明
【技術分野】
【0001】
本発明は、吊橋の吊材を取り替えるための吊材取替方法及び吊材取替装置に関するものである。
続きを表示(約 2,000 文字)
【背景技術】
【0002】
一般に、海峡や河川等に架設される吊橋は、メインケーブルに連結された複数の吊材としてのハンガーケーブルによって床版及び補鋼桁等からなる吊構造物を吊り下げるように構成されている。
【0003】
このような吊橋は完成から長期間が経過しているものも多く、各部材が腐食等の老朽化を生じている可能性がある。特に、ハンガーケーブルは、メインケーブルよりも小径の鋼材からなるため、車両走行時の振動や風圧等による荷重が繰り返し加わることにより、劣化が進行して耐久性が低下している場合があり、このような老朽化したハンガーケーブルは新たなハンガーケーブルに取り替える必要がある。
【0004】
従来、ハンガーケーブルを取り替える方法としては、既設のハンガーケーブルの近傍にメインケーブルと吊構造物とを連結する長さ調整可能な仮ハンガーケーブルを取り付け、既設のハンガーケーブルの張力を仮ハンガーケーブルに移行した後、仮ハンガーケーブルを取り外して新たなハンガーケーブルを取り付けるようにしている(例えば、特許文献1参照)。
【先行技術文献】
【特許文献】
【0005】
特開2019-143377号公報
【発明の概要】
【発明が解決しようとする課題】
【0006】
ところで、従来の取替方法では、既設のハンガーケーブルの張力を仮ハンガーケーブルに移行させる際、既設のハンガーケーブルが無張力状態になるまで仮ハンガーケーブルにジャッキや巻上装置によって張力を付与しなければならない。その際、既設のハンガーケーブルは張力によって伸びを生じているため、張力を取り除くと伸び量の分だけ短くなる。このため、仮ハンガーケーブルで吊り下げられた吊構造物が上下方向に変位を生じ、吊構造物の変形や他のハンガーケーブルの張力の変動が大きくなるという問題点があった。
【0007】
本発明は前記問題点に鑑みてなされたものであり、その目的とするところは、吊構造物の上下方向の変位を生じさせることなく既設の吊材を新たな吊材に取り替えることのできる吊材取替方法及び吊材取替装置を提供することにある。
【課題を解決するための手段】
【0008】
本発明は前記目的を達成するために、上端をメインケーブル側に連結され、下端を吊構造物側に連結された既設の吊材を新たな吊材に取り替える吊材取替方法において、前記吊構造物側に連結された第1の仮吊部材と、前記メインケーブル側に連結された第2の仮吊部材と、第1の仮吊部材と第2の仮吊部材との間に張力を付与可能な第1の張力付与装置と、吊材の下端側を除く部分と第1の仮吊部材との間に張力を付与可能な第2の張力付与装置とを用い、第2の張力付与装置によって既設の吊材の下端側を除く部分と第1の仮吊部材との間に張力を付与することにより、既設の吊材の下端側の張力を第2の張力付与装置及び第1の仮吊部材に移行させ、無張力状態となった既設の吊材の下端側と吊構造物側との連結を解除し、第2の張力付与装置による既設の吊材の下端側を除く部分と第1の仮吊部材との間の張力を減じながら第1の張力付与装置によって第1の仮吊部材と第2の仮吊部材との間に張力を付与することにより、既設の吊材の張力を全て第1及び第2の仮吊部材に移行させ、全体が無張力状態となった既設の吊材を新たな吊材に取り替えるようにしている。
【0009】
また、本発明は前記目的を達成するために、上端をメインケーブル側に連結され、下端を吊構造物側に連結された既設の吊材を新たな吊材に取り替えるための吊材取替装置において、前記吊構造物側に連結される第1の仮吊部材と、前記メインケーブル側に連結される第2の仮吊部材と、第1の仮吊部材と第2の仮吊部材との間に張力を付与可能な第1の張力付与装置と、吊材の下端側を除く部分と第1の仮吊部材との間に張力を付与可能な第2の張力付与装置とを備えている。
【0010】
これにより、既設の吊材を取り外す際、第2の張力付与装置によって既設の吊材の下端側を除く部分と第1の仮吊部材との間に張力を付与することにより、既設の吊材の下端側の張力を第2の張力付与装置及び第1の仮吊部材に移行させ、無張力状態となった既設の吊材の下端側と吊構造物側との連結を解除し、第2の張力付与装置による既設の吊材の下端側を除く部分と第1の仮吊部材との間の張力を減じながら第1の張力付与装置によって第1の仮吊部材と第2の仮吊部材との間に張力を付与することにより、既設の各吊材の張力を全て第1及び第2の仮吊部材に移行させるようにしたので、吊材及び第1仮吊部材間の張力と第1及び第2の仮吊部材間の張力との合計を変化させることなく張力の移行を行うことが可能となる。
【発明の効果】
(【0011】以降は省略されています)
この特許をJ-PlatPat(特許庁公式サイト)で参照する
関連特許
株式会社セイトク
防雪パネル
1か月前
コスモテック株式会社
表示装置
15日前
株式会社 林物産発明研究所
道路安全体
2日前
戸田建設株式会社
コンクリート構造
26日前
三信工業株式会社
床版架設装置
1か月前
桑名金属工業株式会社
融雪マットおよび融雪方法
1か月前
戸田建設株式会社
鋼製ブラケットの取付装置
26日前
戸田建設株式会社
鋼製ブラケットの取付装置
26日前
株式会社川金コアテック
橋梁用鋼弾塑性ダンパー
10日前
西尾レントオール株式会社
コーンベット型電源装置
1か月前
鹿島建設株式会社
床版架設方法
29日前
オリエンタル白石株式会社
補強鋼板及び排土方法
1か月前
宮地エンジニアリング株式会社
ワイヤブリッジの設置方法
1か月前
ダンレックス株式会社
表示装置
3日前
鹿島建設株式会社
橋、および橋の製造方法
1か月前
株式会社プロテックエンジニアリング
衝撃吸収柵
1か月前
愛知製鋼株式会社
磁気マーカの施工方法および施工用の補助工具
16日前
清水建設株式会社
床版架設装置および床版架設方法
2日前
オリエンタル白石株式会社
馬蹄形ジベルの合成床版撤去工法
1か月前
PUMP MAN株式会社
路面成型補助部材、及び、路面成型方法
15日前
日本製鉄株式会社
仮設橋による施工方法
2日前
三井住友建設株式会社
床版揚重装置及び床版工事設備
25日前
株式会社ミライト・ワン
ボラード
1か月前
株式会社安藤・間
橋梁健全度評価システム
29日前
株式会社大林組
シート部材及び、施工方法
18日前
大成建設株式会社
仮設鋼床版および床版取替工法
18日前
清水建設株式会社
桁と床版との接合構造、及び桁と床版との接合方法
23日前
朝日エンヂニヤリング株式会社
主桁連続化剛結合構造
1か月前
ジェコス株式会社
締結式覆工板の損傷防止装置及び当該装置を備えた覆工板
1か月前
河野建設株式会社
汚泥回収方法及び汚泥回収システム
1か月前
ノリタケ株式会社
電動式コンクリートカッター
10日前
株式会社ドラミカンパニー
改良地盤及びその施工方法
1か月前
鹿島道路株式会社
アスファルト混合物の製造方法
24日前
株式会社IHIインフラシステム
吊材取替方法及び吊材取替装置
1か月前
ハム アーゲー
建設機械
1か月前
株式会社豊田中央研究所
平面形成治具、道路の構造及び道路施工方法
1か月前
続きを見る
他の特許を見る