TOP
|
特許
|
意匠
|
商標
特許ウォッチ
Twitter
他の特許を見る
10個以上の画像は省略されています。
公開番号
2025159638
公報種別
公開特許公報(A)
公開日
2025-10-21
出願番号
2024062365
出願日
2024-04-08
発明の名称
ワイヤブリッジの設置方法
出願人
宮地エンジニアリング株式会社
代理人
個人
主分類
E01D
15/12 20060101AFI20251014BHJP(道路,鉄道または橋りょうの建設)
要約
【課題】簡単に設置可能なワイヤブリッジの設置方法を提供すること。
【解決手段】 2本のメインロープを所定間隔で張り設け、前記2本のメインロープの上に、上面視長方形の覆工板を、覆工板の長尺方向が幅員方向となるように敷設するワイヤブリッジの設置方法であって、覆工板の下面の長尺方向の両側に、短尺方向に延在するガイド金具を固定し、覆工板の上面の長尺方向の両側に、覆工板の短尺方向に所定間隔で固定ボルトを予め立設させておき、覆工板のガイド金具がメインロープの上に乗るように覆工板を前記2本のメインロープの上に載置する第1工程と、前記2本のメインロープの上に直前に載置した覆工板と、次に敷設した覆工板との間に前記連結板を掛け渡し、この2つの覆工板を、固定ボルトを用いて連結板とボルト接合して互いに連結する第2工程と、覆工板の移動を適宜に伴いながらを繰り返して実行する、ことを特徴とする。
【選択図】図2
特許請求の範囲
【請求項1】
2本のメインロープを所定間隔で張り設け、前記2本のメインロープの上に、上面視長方形の覆工板を、前記覆工板の長尺方向が幅員方向となるように橋長方向に並設し、隣り合う前記覆工板を連結板によって互いに連結するワイヤブリッジの設置方法であって、
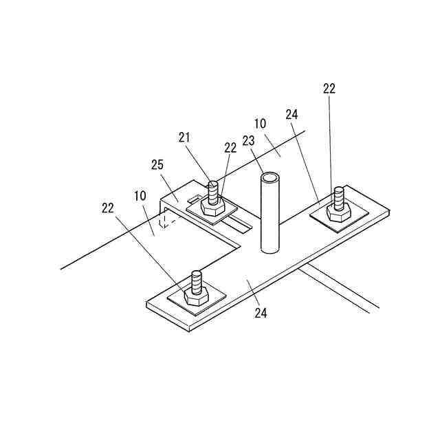
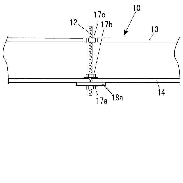
前記覆工板における下面の前記長尺方向の両側に、それぞれ、短尺方向に延在するガイド金具を予め固定しておくとともに、上面の前記長尺方向の両側に、前記短尺方向に所定間隔で、前記連結板をボルト接合するための固定ボルトを予め立設させておき、
一の岸側の固定作業床の上で前記覆工板の前記ガイド金具が前記メインロープの上に乗るように前記覆工板を前記2本のメインロープの上に載置する第1工程と、
直前に載置した前記覆工板と次に載置した前記覆工板との間に前記連結板を掛け渡し、この2つの前記覆工板を、前記固定ボルトを用いて前記連結板とボルト接合して、互いに連結する第2工程と、
をこの順に繰り返し実行するとともに、
前記第2工程と前記第1工程との間に、適宜に、連結された前記覆工板を前記2本のメインロープの上で対岸側へ移動させる工程を実行する、
ことを特徴とするワイヤブリッジの設置方法。
続きを表示(約 610 文字)
【請求項2】
前記固定ボルトは前記覆工板の下面から突出しており、前記固定ボルトを利用して前記ガイド金具がボルト接合により取り付けられている、ことを特徴とする請求項1に記載のワイヤブリッジの設置方法。
【請求項3】
前記連結板に、手摺り親パイプを差し込んで取り付ける支柱を予め立設させておき、
前記第2工程で2つの前記覆工板を前記連結板によって互いに連結した後に、前記支柱に前記手摺り親パイプを差し込んで取り付ける、ことを特徴とする請求項1に記載のワイヤブリッジの設置方法。
【請求項4】
前記第2工程で、橋長方向で隣り合う2つの前記手摺り用親パイプの間に幅木及び手摺りをボルト接合により取り付ける、ことを特徴とする請求項3に記載のワイヤブリッジの設置方法。
【請求項5】
前記連結板には、前記メインロープを吊り上げ固定するフックボルトを取り付けるための切欠きが前記連結板の掛渡し方向の中間部に形成され、前記切欠きは、前記フックボルトが前記掛渡し方向と直交する方向に移動可能となるように構成され、
前記第1工程で、前記2つの前記覆工板の間に所定の隙間を形成した状態で前記2つの前記覆工板を前記連結板によって互いに連結した後に、前記隙間に前記フックボルトを挿入し前記メインロープを吊り上げて仮止めする、ことを特徴とする請求項4に記載のワイヤブリッジの設置方法。
発明の詳細な説明
【技術分野】
【0001】
本発明は、ワイヤブリッジの設置方法に関する。
続きを表示(約 1,500 文字)
【背景技術】
【0002】
従来、H形鋼からなる主桁の下面フランジ下面に敷桁、横桁を配置し、この敷桁、横桁の端部と主桁端部とを連結するように斜材を配置した人道橋が知られている(特許文献1)。
【先行技術文献】
【特許文献】
【0003】
特開平10-72808号公報
【発明の概要】
【発明が解決しようとする課題】
【0004】
しかし、上記従来技術においては、主桁にH型鋼を使用しているため、主桁を両護岸に架設する作業が大がかりのものとなっていた。
【0005】
本発明は、斯かる事情に鑑みなされたもので、簡単に設置可能なワイヤブリッジの設置方法を提供することを目的としている。
【課題を解決するための手段】
【0006】
第1の手段は、
2本のメインロープを所定間隔で張り設け、前記2本のメインロープの上に、上面視長方形の覆工板を、前記覆工板の長尺方向が幅員方向となるように橋長方向に並設し、隣り合う前記覆工板を連結板によって互いに連結するワイヤブリッジの設置方法であって、
前記覆工板における下面の前記長尺方向の両側に、それぞれ、短尺方向に延在するガイド金具を予め固定しておくとともに、上面の前記長尺方向の両側に、前記短尺方向に所定間隔で、前記連結板をボルト接合するための固定ボルトを予め立設させておき、
一の岸側の固定作業床の上で前記覆工板の前記ガイド金具が前記メインロープの上に乗るように前記覆工板を前記2本のメインロープの上に載置する第1工程と、
直前に載置した前記覆工板と次に載置した前記覆工板との間に前記連結板を掛け渡し、この2つの前記覆工板を、前記固定ボルトを用いて前記連結板とボルト接合して、互いに連結する第2工程と、
をこの順に繰り返し実行するとともに、
前記第2工程と前記第1工程との間に、適宜に、連結された前記覆工板を前記2本のメインロープの上で対岸側へ移動させる工程を実行する、
ことを特徴とするワイヤブリッジの設置方法である。
【0007】
第2の手段は、第1の手段であって、前記固定ボルトは前記覆工板の下面から突出しており、前記固定ボルトを利用して前記ガイド金具がボルト接合により取り付けられている、ことを特徴とする。
【0008】
第3の手段は、第2の手段であって、前記連結板に、手摺り親パイプを差し込んで取り付ける支柱を予め立設させておき、
前記第2工程で2つの前記覆工板を前記連結板によって互いに連結した後に、前記支柱に前記手摺り親パイプを差し込んで取り付ける、ことを特徴とする。
【0009】
第4の手段は、第3の手段であって、前記第2工程で、橋長方向で隣り合う2つの前記手摺り用親パイプの間に幅木及び手摺りをボルト接合により取り付ける、ことを特徴とする。
【0010】
第5の手段は、第4の手段であって、
前記連結板には、前記メインロープを吊り上げ固定するフックボルトを取り付けるための切欠きが前記連結板の掛渡し方向の中間部に形成され、前記切欠きは、前記フックボルトが前記掛渡し方向と直交する方向に移動可能となるように構成され、
前記第1工程で、前記2つの前記覆工板の間に所定の隙間を形成した状態で前記2つの前記覆工板を前記連結板によって互いに連結した後に、前記隙間に前記フックボルトを挿入し前記メインロープを吊り上げて仮止めする、ことを特徴とする。
【発明の効果】
(【0011】以降は省略されています)
この特許をJ-PlatPat(特許庁公式サイト)で参照する
関連特許
株式会社熊谷組
床版
23日前
株式会社熊谷組
床版
23日前
個人
折り畳み式標識具
1か月前
北越消雪機械工業株式会社
消雪装置
1か月前
株式会社熊谷組
床版接合構造
1か月前
株式会社セイトク
防雪パネル
15日前
白出商事株式会社
縁石銘板(名板)
25日前
株式会社ササキコーポレーション
作業機
22日前
株式会社NIPPO
距離補正装置
23日前
株式会社NIPPO
斜面用ローラ
24日前
株式会社NIPPO
斜面用ローラ
24日前
戸田建設株式会社
コンクリート構造
5日前
株式会社NIPPO
切削用制御装置
23日前
三信工業株式会社
床版架設装置
22日前
株式会社熊谷組
床版継手装置、及び、床版
1か月前
桑名金属工業株式会社
融雪マットおよび融雪方法
22日前
浅香工業株式会社
レーキ
1か月前
中井商工株式会社
橋梁の桁端止水工法
1か月前
戸田建設株式会社
鋼製ブラケットの取付装置
5日前
戸田建設株式会社
鋼製ブラケットの取付装置
5日前
東亜グラウト工業株式会社
防護柵の支柱構造
23日前
株式会社NIPPO
バンク用建設機械サポータ装置
24日前
日鉄神鋼建材株式会社
補強金具、及び支柱取付構造
23日前
株式会社NIPPO
アスファルトスタッカ制御装置
24日前
西尾レントオール株式会社
コーンベット型電源装置
17日前
日鉄建材株式会社
吊り材で支持された足場用床パネル
22日前
鹿島建設株式会社
床版架設方法
8日前
日立建機株式会社
転圧機械
23日前
オリエンタル白石株式会社
補強鋼板及び排土方法
15日前
株式会社日本コンポジット工業
壁用構造体
22日前
宮地エンジニアリング株式会社
ワイヤブリッジの設置方法
11日前
三井住友建設株式会社
床版拡幅工法
24日前
株式会社NIPPO
コンクリートスタッカ
29日前
株式会社NIPPO
法面機械
1か月前
鹿島建設株式会社
橋、および橋の製造方法
16日前
株式会社プロテックエンジニアリング
衝撃吸収柵
18日前
続きを見る
他の特許を見る