TOP
|
特許
|
意匠
|
商標
特許ウォッチ
Twitter
他の特許を見る
公開番号
2025150464
公報種別
公開特許公報(A)
公開日
2025-10-09
出願番号
2024051339
出願日
2024-03-27
発明の名称
補強金具、及び支柱取付構造
出願人
日鉄神鋼建材株式会社
代理人
個人
主分類
E01F
15/04 20060101AFI20251002BHJP(道路,鉄道または橋りょうの建設)
要約
【課題】支柱取付構造の親和性・安全性の向上が図られた補強金具、及び支柱取付構造を提供する。
【解決手段】補強金具1は、立設された支柱7に取り付けられるとともに内部に柵ビーム9の端部が挿通され上方に開口を有する支柱取付金具8に締結され、開口の少なくとも一部を覆う上板部と、柵ビーム9の端部を挟んで互いに対向して離間するように上板部から下方に延長された一対の側板部と、一対の側板部のそれぞれに穿設され、支柱取付金具8に締結するためのねじ締結体B9が挿通される一対の穿孔と、を備え、上板部は、ねじ締結体B9の締結方向視で締結軸よりも支柱7と反対側(離間領域R1)に少なくとも設けられることを特徴とする。上板部は、締結方向視で締結軸よりも支柱7の側(近接領域R2)にさらに設けられてもよい。
【選択図】図3
特許請求の範囲
【請求項1】
立設された支柱に取り付けられるとともに内部に柵ビームの端部が挿通され上方に開口を有する支柱取付金具に締結される補強金具であって、
前記開口の少なくとも一部を覆う上板部と、
前記柵ビームの端部を挟んで互いに対向して離間するように前記上板部から下方に延長された一対の側板部と、
前記一対の側板部のそれぞれに穿設され、前記支柱取付金具に締結するためのねじ締結体が挿通される一対の穿孔と、
を備え、
前記上板部は、前記ねじ締結体の締結方向視で締結軸よりも前記支柱と反対側に少なくとも設けられること
を特徴とする補強金具。
続きを表示(約 630 文字)
【請求項2】
前記上板部は、前記締結方向視で前記締結軸よりも前記支柱の側にさらに設けられること
を特徴とする請求項1に記載の補強金具。
【請求項3】
前記上板部は、前記締結方向視で前記締結軸よりも前記支柱の側において前記支柱取付金具の上端と常に接する係止部を有すること
を特徴とする請求項2に記載の補強金具。
【請求項4】
前記柵ビームの挿通方向上であり、かつ、前記締結方向視で前記締結軸よりも前記支柱の側において、前記上板部から下方に延長された延長板部をさらに備えること
を特徴とする請求項1~3の何れか1項に記載の補強金具。
【請求項5】
立設された支柱と、
前記支柱に取り付けられ、上方に開口を有する支柱取付金具と、
前記支柱取付金具の内部に端部が挿通される柵ビームと、
前記支柱取付金具とねじ締結体を介して締結され、
前記開口の少なくとも一部を覆う上板部と、
前記柵ビームの端部を挟んで互いに対向して離間するように前記上板部から下方に延長された一対の側板部と、
前記一対の側板部のそれぞれに穿設され、前記ねじ締結体が挿通される一対の穿孔と、
を有する補強金具と、
を備え、
前記上板部は、前記ねじ締結体の締結方向視で締結軸よりも前記支柱と反対側に少なくとも設けられること
を特徴とする支柱取付構造。
発明の詳細な説明
【技術分野】
【0001】
この発明は、補強金具、及び支柱取付構造に関する。
続きを表示(約 1,500 文字)
【背景技術】
【0002】
従来、道路に沿って構築される防護柵として、歩行者自転車用柵や車両用防護柵等が知られている。これらの防護柵は、道路に立設された複数の支柱間に柵ビーム等のガードパイプを連結することによって構築される。また、支柱に柵ビームを効率よく取り付ける方法として、中空体の支柱取付金具を用いる方法がある。この方法によれば、複数の支柱それぞれに取り付けた複数の支柱取付金具の中空空間それぞれに柵ビームの両端を挿入することで、支柱と柵ビームとを容易に連結することができる。
【0003】
特許文献1には、支柱に取り付けられ、上方に開口を有する中空体の支柱取付金具が開示されている。
【先行技術文献】
【特許文献】
【0004】
特開2015-187370号公報
【発明の概要】
【発明が解決しようとする課題】
【0005】
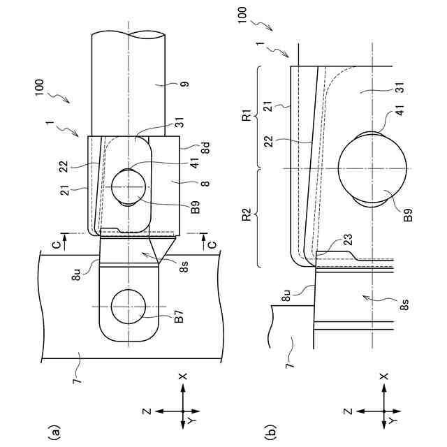
特許文献1に開示された支柱取付金具によれば、金具内部の中空空間において道路勾配に合わせて角度調整自在となるように柵ビームの端部を仮置きすることで、取付作業の作業人員を低減できるとともに、取付作業の作業工程を削減して作業効率の向上を図ることができる。しかしながら、特許文献1に開示された従来の支柱取付金具8では、上方に開口を有するため、例えば図8に示すように柵ビーム9に対して鉛直下方向の荷重が加わった場合、支柱7に固定するためのねじ締結体B7と柵ビーム9に固定するためのねじ締結体B9とを軸として柵ビーム9に対して折れ曲がる方向に動くおそれがある。その結果、折れ曲がった形状や柵ビーム9の端面が見えるなど親和性・外観が悪くなる問題がある。また、折れ曲がり部に隙間が生じることにより歩行者が触れた際に手を挟むなど、安全性の懸念が残る。
【0006】
そこで本発明は、上述した問題点に鑑みて案出されたものであり、その目的とするところは、支柱取付構造の親和性・安全性の向上が図られた補強金具、及び支柱取付構造を提供することにある。
【課題を解決するための手段】
【0007】
第1発明における補強金具は、立設された支柱に取り付けられるとともに内部に柵ビームの端部が挿通され上方に開口を有する支柱取付金具に締結される補強金具であって、前記開口の少なくとも一部を覆う上板部と、前記柵ビームの端部を挟んで互いに対向して離間するように前記上板部から下方に延長された一対の側板部と、前記一対の側板部のそれぞれに穿設され、前記支柱取付金具に締結するためのねじ締結体が挿通される一対の穿孔と、を備え、前記上板部は、前記ねじ締結体の締結方向視で締結軸よりも前記支柱と反対側に少なくとも設けられることを特徴とする。
【0008】
第2発明における補強金具は、第1発明において、前記上板部は、前記締結方向視で前記締結軸よりも前記支柱の側にさらに設けられることを特徴とする。
【0009】
第3発明における補強金具は、第2発明において、前記上板部は、前記締結方向視で前記締結軸よりも前記支柱の側において前記支柱取付金具の上端と常に接する係止部を有することを特徴とする。
【0010】
第4発明における補強金具は、第1発明~第3発明の何れかにおいて、前記柵ビームの挿通方向上であり、かつ、前記締結方向視で前記締結軸よりも前記支柱の側において、前記上板部から下方に延長された延長板部をさらに備えることを特徴とする。
(【0011】以降は省略されています)
この特許をJ-PlatPat(特許庁公式サイト)で参照する
関連特許
日鉄神鋼建材株式会社
補強金具、及び支柱取付構造
1か月前
日鉄神鋼建材株式会社
車両の係留装置および車両の係留方法
20日前
日鉄建材株式会社
防音壁ユニット、防音壁ユニットの交換方法及び防音壁の構築方法
1か月前
国立研究開発法人土木研究所
衝撃吸収支柱および車両衝突緩衝装置
3か月前
株式会社熊谷組
床版
1か月前
株式会社熊谷組
床版
1か月前
株式会社セイトク
防雪パネル
1か月前
白出商事株式会社
縁石銘板(名板)
1か月前
コスモテック株式会社
表示装置
20日前
株式会社NIPPO
斜面用ローラ
1か月前
株式会社ササキコーポレーション
作業機
1か月前
株式会社 林物産発明研究所
道路安全体
7日前
株式会社NIPPO
距離補正装置
1か月前
株式会社NIPPO
斜面用ローラ
1か月前
戸田建設株式会社
コンクリート構造
1か月前
株式会社NIPPO
切削用制御装置
1か月前
三信工業株式会社
床版架設装置
1か月前
桑名金属工業株式会社
融雪マットおよび融雪方法
1か月前
戸田建設株式会社
鋼製ブラケットの取付装置
1か月前
東亜グラウト工業株式会社
防護柵の支柱構造
1か月前
戸田建設株式会社
鋼製ブラケットの取付装置
1か月前
株式会社丸治コンクリート工業所
防護柵
1日前
株式会社川金コアテック
橋梁用鋼弾塑性ダンパー
15日前
株式会社NIPPO
アスファルトスタッカ制御装置
1か月前
西尾レントオール株式会社
コーンベット型電源装置
1か月前
日鉄神鋼建材株式会社
補強金具、及び支柱取付構造
1か月前
株式会社NIPPO
バンク用建設機械サポータ装置
1か月前
日鉄建材株式会社
吊り材で支持された足場用床パネル
1か月前
日立建機株式会社
転圧機械
1か月前
鹿島建設株式会社
床版架設方法
1か月前
株式会社日本コンポジット工業
壁用構造体
1か月前
オリエンタル白石株式会社
補強鋼板及び排土方法
1か月前
ダンレックス株式会社
表示装置
8日前
宮地エンジニアリング株式会社
ワイヤブリッジの設置方法
1か月前
三井住友建設株式会社
床版拡幅工法
1か月前
鹿島建設株式会社
橋、および橋の製造方法
1か月前
続きを見る
他の特許を見る