TOP
|
特許
|
意匠
|
商標
特許ウォッチ
Twitter
他の特許を見る
公開番号
2025149570
公報種別
公開特許公報(A)
公開日
2025-10-08
出願番号
2024050300
出願日
2024-03-26
発明の名称
斜面用ローラ
出願人
株式会社NIPPO
代理人
個人
主分類
E01C
19/27 20060101AFI20251001BHJP(道路,鉄道または橋りょうの建設)
要約
【課題】バンクの施工箇所により湾曲面の形状が変化しても、ローラ車輪の角度を湾曲面の形状に容易に合わせて敷き均されたアスファルト混合物を高い精度で転圧することができる斜面用ローラを提供すること。
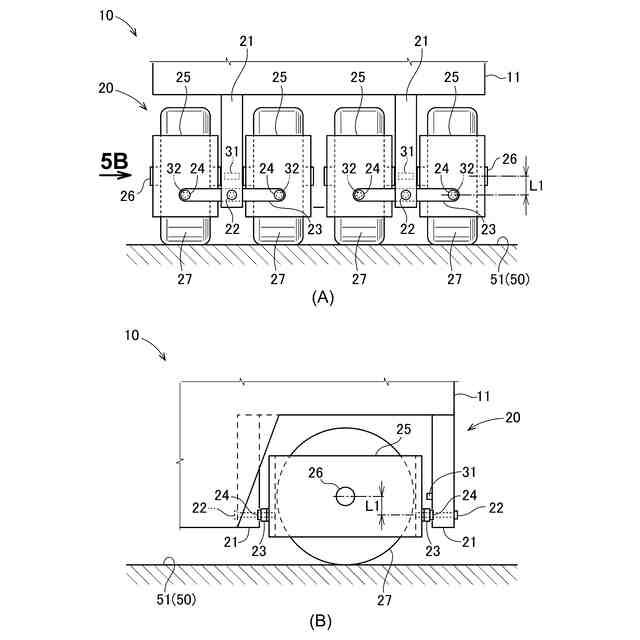
【解決手段】斜面用ローラ10のローラ機構20は、車体11に設けられ車両前後方向に延びる第1軸22を有する固定部21と、固定部21の第1軸22に中央部分が回転可能に設けられ両端部分に車両前後方向に延びる第2軸24を有する回転支持バー23と、回転支持バー23の両端部分に第2軸24を介して回転可能に設けられたハウジング(回転枠)25と、ハウジング25に車幅方向に延びる車軸26を介して回転可能に設けられアスファルト混合物を転圧するローラ車輪27とを備えている。
【選択図】図5
特許請求の範囲
【請求項1】
湾曲したバンクに敷き均されたアスファルト混合物を転圧して締め固める斜面用ローラであって、
車体に前記アスファルト混合物を転圧するローラ機構が備えられており、
前記ローラ機構は、前記車体に設けられ車両前後方向に延びる第1軸を有する固定部と、前記固定部の前記第1軸に中央部分が回転可能に設けられ両端部分に車両前後方向に延びる第2軸を有する回転支持バーと、前記回転支持バーの両端部分に前記第2軸を介して回転可能に設けられたハウジングと、前記ハウジングに車幅方向に延びる車軸を介して回転可能に設けられ前記アスファルト混合物を転圧するローラ車輪とを備えていることを特徴とする斜面用ローラ。
続きを表示(約 450 文字)
【請求項2】
請求項1記載の斜面用ローラであって、
前記ハウジングは、前記車軸よりも下方の位置で前記第2軸に支持されていることを特徴とする斜面用ローラ。
【請求項3】
請求項2記載の斜面用ローラであって、
前記第2軸の位置は、前記車軸の150mm~300mm下方であることを特徴とする斜面用ローラ。
【請求項4】
請求項1又は請求項2記載の斜面用ローラであって、
前記ローラ機構は、車幅方向に並んだ4つの前記ローラ車輪を備えていることを特徴とする斜面用ローラ。
【請求項5】
請求項1又は請求項2記載の斜面用ローラであって、
前記ローラ機構は、前記回転支持バーに設けられ前記固定部に対する回転を一定の角度以下に制限する支持バー回転ストッパと、前記ハウジングに設けられ回転を一定の角度以下に制限して隣り合う前記ローラ車輪同士の接触を防止するハウジング回転ストッパとを備えていることを特徴とする斜面用ローラ。
発明の詳細な説明
【技術分野】
【0001】
本発明は、湾曲したバンクに敷き均されたアスファルト混合物を転圧して締め固める斜面用ローラに関するものである。
続きを表示(約 2,000 文字)
【背景技術】
【0002】
従来、アスファルト舗装の道路等のなかには、一般の自動車が走行する高速道路や一般道の他に、自動車のレースを行うサーキットや自動車の性能試験を行うテストコースがある。サーキットやテストコースには、水平な走路だけでなく、速いスピードで走行するカーブ部分にカーブの内側へ傾斜したバンク(斜面)が形成されている。
【0003】
バンクを舗装する施工方法として、バンクの天端を走行するバンク用フィニッシャサポータが、ワイヤロープを介してバンクを走行するバンク用アスファルトフィニッシャを吊り下げながら並走してバンクにアスファルト混合物を敷き均す方法がある。このようなバンクを舗装する施工技術として、特許文献1の技術が知られている。
【0004】
特許文献1のバンクを舗装する施工技術は、バンクの天端に設けられたウインチトラクタ(バンク用フィニシャサポータ)によりバンクに水平に吊り下げられたビームに、ビームに沿って移動するホイストを介してバンクを走路が延びる方向に走行するアスファルトフィニッシャと転圧ローラをそれぞれ吊り下げ、アスファルトフィニッシャと転圧ローラをホイストとともに移動させながらアスファルト混合物をアスファルトフィニッシャに供給してバンクに敷き均すものである。
【0005】
ところで、カーブ部分等のバンクは進行方向に沿った所定の間隔毎に測点が設けられており、測点の位置によって湾曲の半径が変化して湾曲形状が徐々に変わるように形成されている。この測点の位置とバンクの高さ位置とによる施工箇所に応じて、走路に沿って進むローラ車輪の幅方向の角度も湾曲面の形状に一致するように調整する必要がある。車幅方向のバンクの湾曲に対応して転圧するために、車幅方向に幅の狭いローラ車輪を複数備えた転圧ローラが使用される。このような車幅方向に幅の狭いローラ車輪を複数備えた転圧ローラとして特許文献2の技術が知られている。
【0006】
特許文献2の転圧ローラは、転圧機械としてのタイヤローラであり、車体と、フレームと、エンジン等を覆うカバーとを備えている。車体の前部側に回転可能に設けられた前転圧ローラを備え、当該前転圧ローラは、左右方向に延びる1本の前車軸に取付けられた3個のゴムタイヤによって構成され、ハンドルを操作することにより左右方向に旋回する。車体の後部側に回転可能に後転圧ローラが設けられ、当該後転圧ローラは、左右方向に延びる2本の後車軸にそれぞれ2個ずつ取付けられた合計4個のゴムタイヤによって構成されている。後転圧ローラの各後車軸は、フレームの後部側に配設された走行用油圧モータにプロペラシャフトを介して接続され、後転圧ローラは、走行用油圧モータによって前進、後進の回転駆動がなされる。
【0007】
一般的に、バンクの湾曲部を転圧する場合、図6(A)に示されるように、比較例の斜面用ローラ100は、車体101の中央に設けられた固定部105と車体101の左右端に設けられたシリンダ106との間に左右方向に延びる2本の後車軸104を設け、2本の後輪軸104にそれぞれ2個ずつ取付けられた合計4個のローラ車輪102でバンク51の湾曲面を転圧する。固定部105にジョイント108を介して後車軸104の一端が揺動可能に設けられ、シリンダ106のピストンの下端に支持軸107を介して後車軸104の他端が回転可能に設けられ、シリンダ107を昇降させることでローラ車輪102の角度を湾曲面の形状に一致させる。
【0008】
しかし、シリンダ106の昇降の調整は手動で行われているため、斜面用ローラ100を前進させながら測点の位置により形状が変化する湾曲面に合わせて、ローラ車輪102の角度を一致させることは難しい。また、2本の後輪軸104にそれぞれ2個ずつローラ車輪102が設けられているため、角度変更はローラ車輪102を2個分単位でしか変更できず、湾曲面の半径が小さい場合はローラ車輪102とバンク51との間に隙間109が生じ、そのまま転圧すると路面にいわゆるローラマークができてしまう。
【先行技術文献】
【特許文献】
【0009】
特開昭57-92204号公報
特開2005-256477号公報
【発明の概要】
【発明が解決しようとする課題】
【0010】
本発明は、以上の点に鑑み、バンクの施工箇所により湾曲面の形状が変化しても、ローラ車輪の角度を湾曲面の形状に容易に合わせて敷き均されたアスファルト混合物を高い精度で転圧することができる斜面用ローラを提供することを課題とする。
【課題を解決するための手段】
(【0011】以降は省略されています)
この特許をJ-PlatPat(特許庁公式サイト)で参照する
関連特許
株式会社熊谷組
床版
1か月前
株式会社熊谷組
床版
1か月前
個人
折り畳み式標識具
1か月前
北越消雪機械工業株式会社
消雪装置
1か月前
株式会社セイトク
防雪パネル
1か月前
白出商事株式会社
縁石銘板(名板)
1か月前
株式会社パロマ
融雪装置
2日前
コスモテック株式会社
表示装置
23日前
株式会社NIPPO
斜面用ローラ
1か月前
株式会社ササキコーポレーション
作業機
1か月前
株式会社 林物産発明研究所
道路安全体
10日前
株式会社NIPPO
斜面用ローラ
1か月前
株式会社NIPPO
距離補正装置
1か月前
戸田建設株式会社
コンクリート構造
1か月前
株式会社NIPPO
切削用制御装置
1か月前
三信工業株式会社
床版架設装置
1か月前
桑名金属工業株式会社
融雪マットおよび融雪方法
1か月前
戸田建設株式会社
鋼製ブラケットの取付装置
1か月前
東亜グラウト工業株式会社
防護柵の支柱構造
1か月前
西松建設株式会社
耐震補強方法
2日前
戸田建設株式会社
鋼製ブラケットの取付装置
1か月前
株式会社丸治コンクリート工業所
防護柵
4日前
株式会社川金コアテック
橋梁用鋼弾塑性ダンパー
18日前
株式会社NIPPO
アスファルトスタッカ制御装置
1か月前
西尾レントオール株式会社
コーンベット型電源装置
1か月前
株式会社NIPPO
バンク用建設機械サポータ装置
1か月前
日鉄神鋼建材株式会社
補強金具、及び支柱取付構造
1か月前
個人
充填剤及びそれが充填された人工芝
2日前
日立建機株式会社
転圧機械
1か月前
日鉄建材株式会社
吊り材で支持された足場用床パネル
1か月前
鹿島建設株式会社
床版架設方法
1か月前
オリエンタル白石株式会社
補強鋼板及び排土方法
1か月前
鹿島建設株式会社
壁高欄の施工方法
3日前
株式会社日本コンポジット工業
壁用構造体
1か月前
ダンレックス株式会社
表示装置
11日前
宮地エンジニアリング株式会社
ワイヤブリッジの設置方法
1か月前
続きを見る
他の特許を見る