TOP
|
特許
|
意匠
|
商標
特許ウォッチ
Twitter
他の特許を見る
10個以上の画像は省略されています。
公開番号
2025132679
公報種別
公開特許公報(A)
公開日
2025-09-10
出願番号
2024030404
出願日
2024-02-29
発明の名称
仮設防護体
出願人
GX株式会社
代理人
個人
主分類
E01F
13/04 20060101AFI20250903BHJP(道路,鉄道または橋りょうの建設)
要約
【課題】従来の起伏式の仮設防護柵では適用が不向きであった設置形態にも適用が可能な仮設防護体を提供する。
【解決手段】仮設防護体201は、長さ方向に延びる水平なウェブ部221と、ウェブ部221に接続し高さ方向Hに延びる一対のフランジ部222,223とを有し、ウェブ部221とフランジ部223により上部凹部224、下部凹部225が画定される第1防護体202と、第1防護体202の上方に設ける第2防護体203と、第1防護体に対して第2防護体を昇降させる間隔変更部材205を有し、設置位置において、ウェブ部231に固定され該上面に突出する第1固定部材206と、第1防護体202に対して第2防護体203を固定又は解除する、長手方向Lに設置される締結部材である第2固定部材208と、運搬・保管位置において、第1防護体202と第2防護体203の間の下限間隔である特定間隔Cを維持する規制部材213と、を備える。
【選択図】 図23
特許請求の範囲
【請求項1】
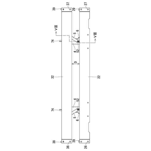
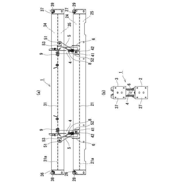
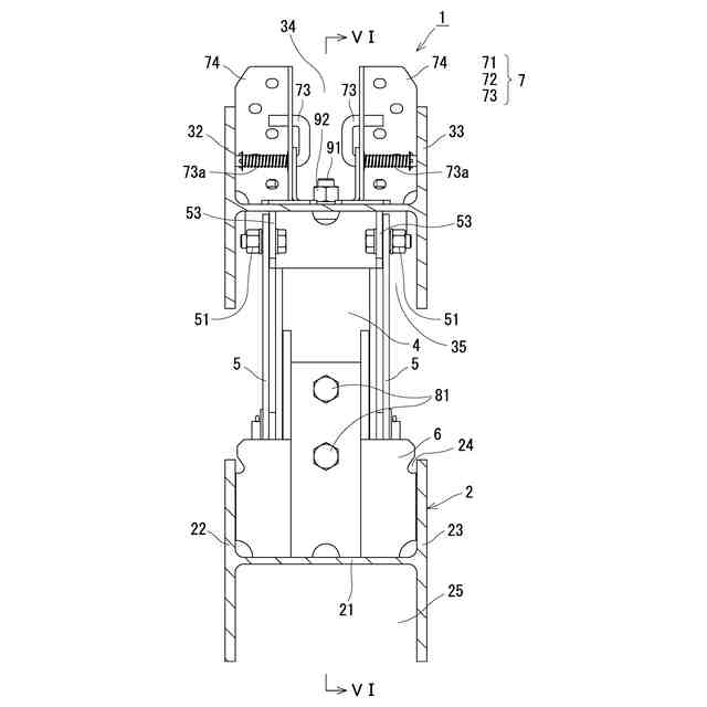
長さ方向に延びる水平なウェブ部と、該ウェブ部に接続し高さ方向に延びる一対のフランジ部とを有し、前記ウェブ部と前記フランジ部により上部凹部が画定される第1防護体と、
長さ方向に延びる水平なウェブ部と、該ウェブ部に接続し高さ方向に延びる一対のフランジ部とを有し、前記ウェブ部と前記フランジ部により上部凹部が画定され、前記第1防護体の上に設置される第2防護体と、
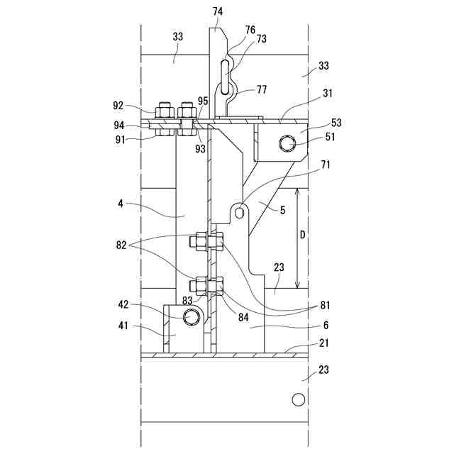
前記第1防護体又は第2防護体の前記ウェブ部に設けられ、前記第2防護体を前記第1防護体に対して、昇降させる間隔変更部材と、
設置位置において、前記第1防護体に対し前記第2防護体を特定間隔を置いて固定する固定部材と、を備え、
前記設置位置において、前記固定部材の解除に応えて、前記間隔変更部材により、前記第2防護体を前記第1防護体の方へ移動させることにより、前記特定間隔を減少させ、運搬・保管位置とすること、
前記第1防護体及び第2防護体の前記ウェブ部が幅方向において対称な形状を有すること、
を特徴とする仮設防護体。
続きを表示(約 97 文字)
【請求項2】
前記第1防護体及び第2防護体の両端部から長手方向の外部に突出する端面防護部を備え、
該端面防護部が幅方向に左右対称形状である、請求項1に記載の仮設防護体。
発明の詳細な説明
【技術分野】
【0001】
本発明は、道路改良工事等に用いられる仮設防護体に関する。
続きを表示(約 2,400 文字)
【背景技術】
【0002】
大規模な道路改良工事では、工事中の安全を確保するために仮設防護柵を設けることが一般的である。通常仮設防護柵の設置作業の多くは、走行車線もしくは追い越し車線のどちらかに工事帯を確保するため、工事案内の標識や電光掲示板、カラーコーン(登録商標)の敷設等を伴う交通規制の完了を待って行わなくてはならない。撤去作業についても同様である。すなわち、仮設防護柵の設置・撤去作業は交通規制の開始から完了を待ち、工事後にも標識やカラーコーンの撤去をもって交通規制の解除となる一連の作業も含めた工程の限られた時間帯に行わなければならない場合が多い。このようなきわめて時間制約の大きい状況下では、仮設防護柵の設置・撤去作業の効率化が必要不可欠である。
【0003】
特許文献1~3は、H型鋼の基台を用いて、ガードレール及び支柱を起伏させる構造とし、上記問題を解決し、また、仮設防護柵を積み重ねて保管する場合、ガードレールと支持部材により支持する発明である。
【先行技術文献】
【特許文献】
【0004】
特許第3193356号公報
特許第6334042号公報
特許第6494120号公報
【発明の概要】
【発明が解決しようとする課題】
【0005】
しかしながら、道路改良工事の工期自体が以前と比べて短縮し、工事全体の更なるスピード化が求められている。道路改良工事に起因する渋滞を減らす等の理由として、仮設防護柵設置工事の簡便化 (起伏収納式仮設防護柵であっても面倒であり、熟練度の高い作業員確保が難しくなった)が求められている。道路の老朽化に伴う工事が増えている(高架部の床版取替工事など、来の仮設防護柵では仕様の面や設置工事の面で対応が難しくなっている。自然災害(のり面崩落など)による緊急工事が増加している (設置依頼から実際の工事に至るまでが早い)。
【0006】
このような事情を背景として、昨今の道路改良工事には多種多様な仮設防護柵が登場してはいるが、仮設防護柵に求められる機能への起伏式の製品の対応が困難なケースが増えてきたことがある。新しい仮設防護柵を設計する背景を考慮し、従来の起伏式の仮設防護柵では適用が不向きであった設置形態にも適用が可能な仮設防護柵を提供することを課題とする。特許文献1~3の仮設防護柵は、一般的なガードレール(ビーム)を使用しているため、裏面、表面の区別があり、路肩仕様や中央分離帯仕様の使い分けや部材の組み換え、ガードレールの後付け施工等の煩わしさを排除することが困難である。
【0007】
ここで、「路肩仕様や中央分離帯仕様の使い分けや部材の組み換えによる煩わしさ」は、道路工事の設計時や施工の工程管理を進める段階で仮設防護柵の設置が移り変わるような手順が発生した場合、従来の仮設防護柵では例えば設置当初は路肩仕様であった仮設防護柵を工事の進捗にあわせて上下線を隔てるための仕様(中央分離帯仕様)に設置箇所や要求される仕様が変更されると、一旦、ガードレール(ビーム)を仮設防護柵本体から外し、ガードレールの向きを反転し取り付け、さらに、もう片側にガードレールを追加で取り付けるといった作業が関わってしまい、現場でのスムーズな仮設防護柵の移行が阻害されてしまい、道路工事の設計(工程)段階で使用困難と判断される可能性が高まり、結果として排除されてしまうことである。
【0008】
また、仮設防護柵の保管管理、メンテナンスをおこなう場面においても、路肩仕様、中央分離帯仕様を準備する煩わしさもある。路肩と中央分離帯仕様ではガードーレール(ビーム)の重ね合わせが違い、現場の仕様にあわせてビームの反転作業が置場等で必要となってくる。「ガードレールの後付け施工の煩わしさ」は、仮設防護柵は片面設置(路肩側への設置)を基本形とし、現場の要望によっては、もう片面に後付けする形でガードレールを両面に増やして設置する場合を意味し、ガードレールの後付け施工が煩雑である。
【0009】
そこで、本発明の課題は、従来の起伏式の仮設防護柵では適用が不向きであった設置形態にも適用が可能な仮設防護体を提供し、表裏の区別の有る一般的なガードレール(ビーム)を使用しない設計とし、起伏支柱を有する仮設防護体の構造や動作を簡素化することである。裏面、表面の区別をなくし、路肩仕様や中央分離帯仕様の使い分けや部材の組み換え、一般的なガードレール(ビーム)の連結工程や後付け施工等の煩わしさを排除することである。
【課題を解決するための手段】
【0010】
上記課題を解決するために、本発明は、長さ方向に延びる水平なウェブ部と、該ウェブ部に接続し高さ方向に延びる一対のフランジ部とを有し、前記ウェブ部と前記フランジ部により上部凹部が画定される第1防護体と、長さ方向に延びる水平なウェブ部と、該ウェブ部に接続し高さ方向に延びる一対のフランジ部とを有し、前記ウェブ部と前記フランジ部により上部凹部が画定され、前記第1防護体の上に設置される第2防護体と、前記第1防護体又は第2防護体のウェブ部に設けられ、前記第2防護体を前記第1防護体に対して、昇降させる間隔変更部材と、設置位置において前記第1防護体に対し第2防護体を特定間隔を置いて固定する固定部材と、を備え、前記設置位置において、前記固定部材の解除に応えて、前記間隔変更部材により、前記第2防護体を前記第1防護体の方へ移動させることにより、前記特定間隔を減少させ、運搬・保管位置とすること、、前記第1防護体及び第2防護体の前記ウェブ部が幅方向において対称な形状を有すること、を特徴とする仮設防護体である。
(【0011】以降は省略されています)
この特許をJ-PlatPat(特許庁公式サイト)で参照する
関連特許
GX株式会社
昇降式仮設防護体
2か月前
株式会社セイトク
防雪パネル
1か月前
コスモテック株式会社
表示装置
14日前
株式会社 林物産発明研究所
道路安全体
1日前
戸田建設株式会社
コンクリート構造
25日前
三信工業株式会社
床版架設装置
1か月前
桑名金属工業株式会社
融雪マットおよび融雪方法
1か月前
戸田建設株式会社
鋼製ブラケットの取付装置
25日前
戸田建設株式会社
鋼製ブラケットの取付装置
25日前
株式会社川金コアテック
橋梁用鋼弾塑性ダンパー
9日前
西尾レントオール株式会社
コーンベット型電源装置
1か月前
鹿島建設株式会社
床版架設方法
28日前
オリエンタル白石株式会社
補強鋼板及び排土方法
1か月前
宮地エンジニアリング株式会社
ワイヤブリッジの設置方法
1か月前
ダンレックス株式会社
表示装置
2日前
鹿島建設株式会社
橋、および橋の製造方法
1か月前
株式会社プロテックエンジニアリング
衝撃吸収柵
1か月前
愛知製鋼株式会社
磁気マーカの施工方法および施工用の補助工具
15日前
清水建設株式会社
床版架設装置および床版架設方法
1日前
オリエンタル白石株式会社
馬蹄形ジベルの合成床版撤去工法
29日前
PUMP MAN株式会社
路面成型補助部材、及び、路面成型方法
14日前
日本製鉄株式会社
仮設橋による施工方法
1日前
三井住友建設株式会社
床版揚重装置及び床版工事設備
24日前
株式会社ミライト・ワン
ボラード
1か月前
株式会社安藤・間
橋梁健全度評価システム
28日前
株式会社大林組
シート部材及び、施工方法
17日前
大成建設株式会社
仮設鋼床版および床版取替工法
17日前
清水建設株式会社
桁と床版との接合構造、及び桁と床版との接合方法
22日前
朝日エンヂニヤリング株式会社
主桁連続化剛結合構造
1か月前
ジェコス株式会社
締結式覆工板の損傷防止装置及び当該装置を備えた覆工板
1か月前
河野建設株式会社
汚泥回収方法及び汚泥回収システム
1か月前
ノリタケ株式会社
電動式コンクリートカッター
9日前
株式会社ドラミカンパニー
改良地盤及びその施工方法
1か月前
鹿島道路株式会社
アスファルト混合物の製造方法
23日前
株式会社IHIインフラシステム
吊材取替方法及び吊材取替装置
1か月前
ハム アーゲー
建設機械
1か月前
続きを見る
他の特許を見る