TOP
|
特許
|
意匠
|
商標
特許ウォッチ
Twitter
他の特許を見る
公開番号
2025150884
公報種別
公開特許公報(A)
公開日
2025-10-09
出願番号
2024052036
出願日
2024-03-27
発明の名称
コンクリートフィニッシャ
出願人
株式会社NIPPO
代理人
個人
主分類
E04G
21/10 20060101AFI20251002BHJP(建築物)
要約
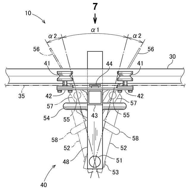
【課題】小型で構造が簡単であり、大きな動力が不要でコンクリートを簡便に仕上げ施工できるコンクリートフィニッシャを提供する。
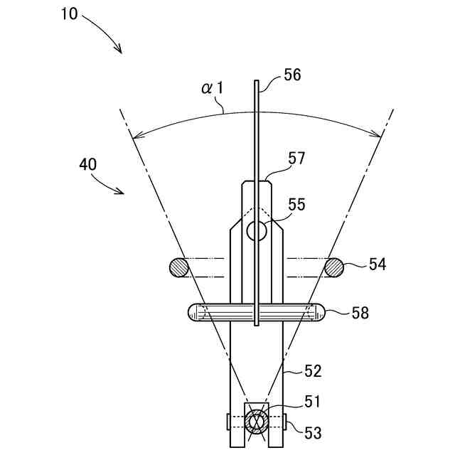
【解決手段】コンクリートフィニッシャ10は、コンクリート70の舗装幅方向の両側の枠部71に移動可能に配置された可動台20と、可動台20を接続するレール30と、レール30に移動可能に設けられコンクリート70を敷き均して仕上げる作業装置40と、作業装置40を移動させる移動機構34と、を備えている。作業装置40は、前後のフレーム48に上下方向に延出して回動可能に設けられた第1の軸51と、この第1の軸51に固定部材53を介して舗装方向前方に向けて揺動可能に設けられコンクリート70を敷き均して仕上げる第1の揺動仕上げ部材52と、この第1の揺動仕上げ部材52の揺動角度を制限する第1の揺動角度制限部材と、を備えている。
【選択図】図1
特許請求の範囲
【請求項1】
硬化前のコンクリートを敷き均して平坦に仕上げるコンクリートフィニッシャであって、
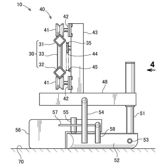
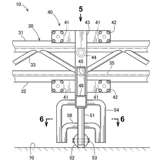
前記コンクリートの舗装幅方向の両側の枠部に移動可能に配置された可動台と、両側の前記可動台に掛け渡して設けられ前記可動台を接続するレールと、前記レールに移動可能に設けられ前記コンクリートを敷き均して仕上げる作業装置と、前記作業装置を前記レールに沿って移動させる移動機構と、を備え、
前記作業装置は、本体となるフレームと、前記フレームに上下方向に延出して設けられた第1の軸と、前記第1の軸に舗装方向前方に向けて揺動可能に設けられ前記コンクリートを敷き均して仕上げる第1の揺動仕上げ部材と、前記第1の揺動仕上げ部材の揺動角度を制限する第1の揺動角度制限部材と、を備えていることを特徴とするコンクリートフィニッシャ。
続きを表示(約 740 文字)
【請求項2】
請求項1記載のコンクリートフィニッシャであって、
前記第1の揺動仕上げ部材の前記第1の軸と反対側の位置に上下方向に延出して設けられた第2の軸と、前記第2の軸に揺動可能に設けられ前記コンクリートを敷き均して仕上げる第2の揺動仕上げ部材と、前記第2の揺動仕上げ部材の揺動角度を制限する第2の揺動角度制限部材と、を備えていることを特徴とするコンクリートフィニッシャ。
【請求項3】
請求項1又は請求項2記載のコンクリートフィニッシャであって、
前記揺動角度制限部材は、前記揺動仕上げ部材の揺動角度を左右それぞれに10度以上20度以下に制限し、
前記レールが平面視で舗装幅方向に対して斜めとなるレール角度で配置され、前記レール角度は前記揺動角度よりも小さいことを特徴とするコンクリートフィニッシャ。
【請求項4】
請求項1又は請求項2記載のコンクリートフィニッシャであって、
前記第1の揺動仕上げ部材は、棒状部材であることを特徴とするコンクリートフィニッシャ。
【請求項5】
請求項2記載のコンクリートフィニッシャであって、
前記第2の揺動仕上げ部材は、ブレードであることを特徴とするコンクリートフィニッシャ。
【請求項6】
請求項1又は請求項2記載のコンクリートフィニッシャであって、
前記移動機構は、前記レールの両端部にそれぞれ設けられたスプロケットと、前記スプロケットの間に掛けられたチェーンと、前記スプロケットを回転させるモータと、前記作業装置に設けられ前記チェーンに固定される固定部と、を備えていることを特徴とするコンクリートフィニッシャ。
発明の詳細な説明
【技術分野】
【0001】
本発明は、硬化前のコンクリートを敷き均して平坦に仕上げるコンクリートフィニッシャに関するものである。
続きを表示(約 1,500 文字)
【背景技術】
【0002】
従来、コンクリート舗装では、硬化前のコンクリートを作業者が施工工具で敷き均して仕上げ、いわゆる左官ゴテでコンクリートを敷き均して仕上げたような状態にし、その後にコンクリートが硬化することでコンクリート舗装が形成されていた。このような、コンクリートを敷き均して仕上げる施工工具として特許文献1の工具が知られている。
【0003】
特許文献1の施工工具は、作業者が手で握持可能な柄部材と、柄部材の先端部に柄部材と直角に交差した状態に取り付けられた支持部材と、支持部材に着脱可能に取り付けられた矩形板状の均し部材とを備えている。柄部材は固定部と、固定部に対しスライド可能に装着された伸縮部とを備えている。支持部材は横断面がC字状をした長尺の弾性材料で形成され、その内側には、均し部材の一方の長辺部を挟持可能な溝を有している。均し部材は弾性変形可能な発泡合成樹脂材で形成され、可撓性、伸縮性を有している。
【0004】
この施工工具を作業者が手で持って作業することで、固化前のコンクリートが平坦に敷き均され仕上げられる。
【0005】
しかし、特許文献1の施工工具は、いわゆるレーキ状の工具であり、作業者が広い面積のコンクリート舗装を全て平坦に敷き均して仕上げるには、高度な技量と体力が求められるため、熟練作業者が減少している昨今では人手のみで施工することが困難である。そこで、コンクリートを平坦に敷き均して仕上げるコンクリートフィニッシャとよばれる機械装置も一般的に使用されている。
【0006】
従来からある一般的な機械装置のコンクリートフィニッシャとして、舗装幅方向に配置された作業台車上を作業機が左右に往復移動し、この作業機の端部に設置されたスクリューオーガにより作業台車前方に供給されたコンクリートを押し出し、バイブレータ付きプレートで平坦に敷き均して仕上げる装置が知られている。
【0007】
しかし、従来からある一般的な機械装置のコンクリートフィニッシャは、装置が大型で構造が複雑であるうえに、コンクリートフィニッシャを移動させる走行装置も大きな動力が必要となる。
【先行技術文献】
【特許文献】
【0008】
特開2020-122325号公報
【発明の概要】
【発明が解決しようとする課題】
【0009】
本発明は、以上の点に鑑み、小型で構造が簡単であり、大きな動力が不要でコンクリートを簡便に仕上げ施工できるコンクリートフィニッシャを提供することを課題とする。
【課題を解決するための手段】
【0010】
本発明の実施例によれば、硬化前のコンクリートを敷き均して平坦に仕上げるコンクリートフィニッシャであって、
前記コンクリートの舗装幅方向の両側の枠部に移動可能に配置された可動台と、両側の前記可動台に掛け渡して設けられ前記可動台を接続するレールと、前記レールに移動可能に設けられ前記コンクリートを敷き均して仕上げる作業装置と、前記作業装置を前記レールに沿って移動させる移動機構と、を備え、
前記作業装置は、本体となるフレームと、前記フレームに上下方向に延出して設けられた第1の軸と、前記第1の軸に舗装方向前方に向けて揺動可能に設けられ前記コンクリートを敷き均して仕上げる第1の揺動仕上げ部材と、前記第1の揺動仕上げ部材の揺動角度を制限する第1の揺動角度制限部材と、を備えていることを特徴とする。
(【0011】以降は省略されています)
この特許をJ-PlatPat(特許庁公式サイト)で参照する
関連特許
株式会社NIPPO
手押し車
今日
株式会社NIPPO
法面機械
21日前
株式会社NIPPO
斜面用ローラ
2日前
株式会社NIPPO
法面作業装置
21日前
株式会社NIPPO
法面作業装置
21日前
株式会社NIPPO
飛散防止装置
9日前
株式会社NIPPO
距離補正装置
1日前
株式会社NIPPO
斜面用ローラ
2日前
株式会社NIPPO
スコップ加熱器
今日
株式会社NIPPO
切削用制御装置
1日前
株式会社NIPPO
コンクリートスタッカ
7日前
株式会社NIPPO
コンクリートフィニッシャ
1日前
株式会社NIPPO
コンクリート舗装の施工方法
11日前
株式会社NIPPO
アスファルトスタッカ制御装置
2日前
株式会社NIPPO
アスファルト混合物の製造方法
1日前
株式会社NIPPO
土壌改質材及びそれを含む土壌
1日前
株式会社NIPPO
バンク用建設機械サポータ装置
2日前
株式会社NIPPO
コンクリート舗装及びその施工方法
11日前
株式会社NIPPO
釘打ち用補助具及びそれを用いた固定方法
11日前
株式会社NIPPO
路面滑り抵抗回復装置および路面滑り抵抗回復方法
11日前
個人
接合構造
4日前
個人
タッチミー
3日前
個人
屋台
21日前
個人
野良猫ハウス
1か月前
個人
転落防止用手摺
1か月前
個人
フェンス
1か月前
積水樹脂株式会社
柵体
1か月前
ニチハ株式会社
建築板
1か月前
個人
地下型マンション
3か月前
個人
筋交自動設定装置
11日前
個人
ベンリナアングル
3日前
個人
居住車両用駐車場
1か月前
個人
壁断熱パネル
4か月前
株式会社タナクロ
テント
3か月前
個人
鋼管結合資材
3か月前
個人
熱抵抗多層断熱建材
1か月前
続きを見る
他の特許を見る