TOP
|
特許
|
意匠
|
商標
特許ウォッチ
Twitter
他の特許を見る
公開番号
2025141049
公報種別
公開特許公報(A)
公開日
2025-09-29
出願番号
2024040787
出願日
2024-03-15
発明の名称
釘打ち用補助具及びそれを用いた固定方法
出願人
株式会社NIPPO
代理人
弁理士法人SIPPs
主分類
B25C
3/00 20060101AFI20250919BHJP(手工具;可搬型動力工具;手工具用の柄;作業場設備;マニプレータ)
要約
【課題】 本発明は、釘に対して力を伝えやすく、かつ複数の釘を容易に連続して打ち込むことができる新規な釘打ち用補助具を提供する。
【解決手段】 本発明の釘打ち用補助具100は、釘200を挿入可能な筒状部11及び自立性底部12を有する第1の部分10、並びに前記筒状部11に挿入可能でありかつ前記釘200を打ち込み可能な棒状部21、及び前記棒状部21に釘を打ち込む力を伝える頭部22を有する第2の部分20を具備する。
【選択図】 図1
特許請求の範囲
【請求項1】
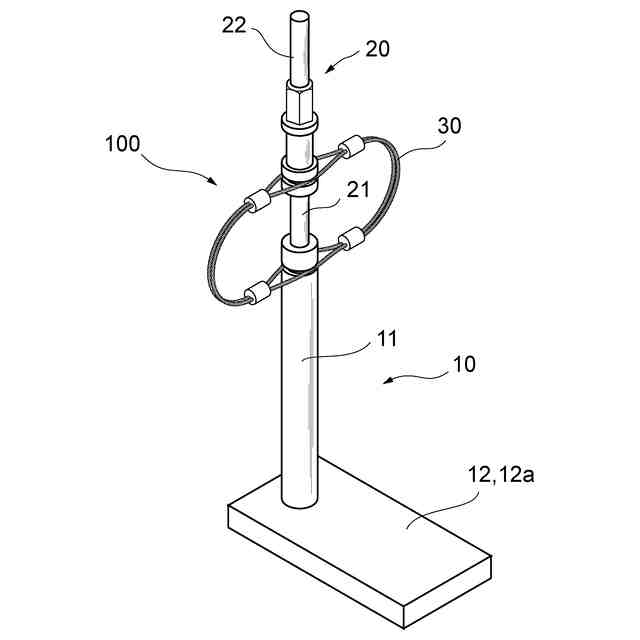
釘を挿入可能な筒状部及び自立性底部を有する第1の部分、並びに
前記筒状部に挿入可能でありかつ前記釘を打ち込み可能な棒状部、及び前記棒状部に釘を打ち込む力を伝える頭部を有する第2の部分、
を具備する、釘打ち用補助具。
続きを表示(約 640 文字)
【請求項2】
前記自立性底部は、使用者が足で踏んで固定することができる水平部を有する、請求項1に記載の釘打ち用補助具。
【請求項3】
前記棒状部が前記筒状部内で上下運動可能な状態で第1の部分と第2の部分とを連結する連結部分をさらに具備する、請求項1に記載の釘打ち用補助具。
【請求項4】
前記連結部分が、2つの環状体及び前記2つの環状体を結合する4つの固定部を有しており、前記固定部の少なくとも1つが前記2つの環状体を結合した状態でスライド可能に構成されている、請求項3に記載の釘打ち用補助具。
【請求項5】
前記連結部分が、バネ弾性を有するように構成されている、請求項3に記載の釘打ち用補助具。
【請求項6】
軟質材を硬質材に複数の釘で固定する方法であって、
(a)前記釘を軟質材に仮止めする工程、
(b)請求項1に記載の釘打ち用補助具の筒状部の下部から前記仮止めした釘を挿入する工程、
(c)前記釘打ち用補助具の頭部に力を加えて前記棒状部で前記仮打ちした釘を前記硬質材に打ち込む工程、及び
(d)前記工程(a)~(c)、又は前記工程(a)において複数の釘を仮止めした場合は前記工程(b)及び(c)を他の釘に対して行う工程
を含む、方法。
【請求項7】
前記軟質材が、木材であり、前記硬質材が、アスファルト混合物からなる舗装体である、請求項6に記載の方法。
発明の詳細な説明
【技術分野】
【0001】
本発明は、釘打ち用補助具及びそれを用いた固定方法に関する。特に、本発明は、アスファルト舗装等の硬質面に対して釘打ちをする際に用いられる釘打ち用補助具及びそれを用いた固定方法に関する。
続きを表示(約 1,700 文字)
【背景技術】
【0002】
釘を打つ際に意図した場所に容易に打つための釘打ち用補助具が知られている。
【0003】
例えば、特許文献1は、手で柄部を持って使用する釘打ち用補助具を開示しており、特許文献1は、この釘打ち用補助具を用いることで釘打ちの技術の優劣に関わらず誰もが正確に釘を打ち付けることができるとしている。
【0004】
特許文献2は、壁面に両面テープで貼り付けて使用する釘打ち用補助具を開示しており、特許文献2は、この釘打ち用補助具を用いることで手指を傷めることもなく対象物を毀存することがなく能率よく作業ができるとしている。
【0005】
特許文献3は、舗装道路のような硬い路面に釘を打ち込む際に使用する釘打ち用補助具を開示している。この釘打ち用補助具は、互いに連通している大小2つの貫通孔を有しており、補助具の小さい貫通孔に釘を通して釘を打ち込んだ後に、大きな貫通孔を用いて補助具を取り外すことができる。特許文献3は、この釘打ち用補助具によれば、作業者の安全性と作業能率を向上できるとしている。
【先行技術文献】
【特許文献】
【0006】
特開平08-47872号公報
特開2002-96278号公報
実開昭60-67872号公報
【発明の概要】
【発明が解決しようとする課題】
【0007】
本発明は、釘に対して力を伝えやすく、かつ複数の釘を容易に連続して打ち込むことができる新規な釘打ち用補助具及びそれを用いた固定方法を提供する。
【課題を解決するための手段】
【0008】
本発明者らは、以下の態様を有する新たな釘打ち用補助具が上記課題を解決できることを見出した。
【0009】
すなわち、本発明は、以下の態様を有する:
《態様1》
釘を挿入可能な筒状部及び自立性底部を有する第1の部分、並びに
前記筒状部に挿入可能でありかつ前記釘を打ち込み可能な棒状部、及び前記棒状部に釘を打ち込む力を伝える頭部を有する第2の部分、
を具備する、釘打ち用補助具。
《態様2》
前記自立性底部は、使用者が足で踏んで固定することができる水平部を有する、態様1に記載の釘打ち用補助具。
《態様3》
前記棒状部が前記筒状部内で上下運動可能な状態で第1の部分と第2の部分とを連結する連結部分をさらに具備する、態様1に記載の釘打ち用補助具。
《態様4》
前記連結部分が、2つの環状体及び前記2つの環状体を結合する4つの固定部を有しており、前記固定部の少なくとも1つが前記2つの環状体を結合した状態でスライド可能に構成されている、態様3に記載の釘打ち用補助具。
《態様5》
前記連結部分が、バネ弾性を有するように構成されている、態様3に記載の釘打ち用補助具。
《態様6》
軟質材を硬質材に複数の釘で固定する方法であって、
(a)前記釘を軟質材に仮止めする工程、
(b)態様1に記載の釘打ち用補助具の筒状部の下部から前記仮止めした釘を挿入する工程、
(c)前記釘打ち用補助具の頭部に力を加えて前記棒状部で前記仮打ちした釘を前記硬質材に打ち込む工程、及び
(d)前記工程(a)~(c)、又は前記工程(a)において複数の釘を仮止めした場合は前記工程(b)及び(c)を他の釘に対して行う工程
を含む、方法。
《態様7》
前記軟質材が、木材であり、前記硬質材が、アスファルト混合物からなる舗装体である、態様6に記載の方法。
【発明の効果】
【0010】
本発明の釘打ち用補助具及びそれを用いた固定方法によれば、釘に対して力を伝えやすく、かつ複数の釘を容易に連続して打ち込むことができる。
【図面の簡単な説明】
(【0011】以降は省略されています)
この特許をJ-PlatPat(特許庁公式サイト)で参照する
関連特許
株式会社NIPPO
法面機械
17日前
株式会社NIPPO
法面作業装置
17日前
株式会社NIPPO
飛散防止装置
5日前
株式会社NIPPO
法面作業装置
17日前
株式会社NIPPO
コンクリートスタッカ
3日前
株式会社NIPPO
コンクリート舗装の施工方法
7日前
株式会社NIPPO
コンクリート舗装及びその施工方法
7日前
株式会社NIPPO
再生アスファルト混合物の製造方法
25日前
株式会社NIPPO
再生アスファルト混合物の製造方法
25日前
株式会社NIPPO
釘打ち用補助具及びそれを用いた固定方法
7日前
株式会社NIPPO
路面滑り抵抗回復装置および路面滑り抵抗回復方法
7日前
個人
固定補助具
1か月前
個人
折りたたみ工具
28日前
株式会社三協システム
製函機
26日前
川崎重工業株式会社
ロボット
5日前
株式会社三協システム
移載装置
25日前
CKD株式会社
把持装置
27日前
株式会社不二越
ロボット
4日前
株式会社竹中工務店
補助セット
4日前
株式会社不二越
ロボット操作装置
1か月前
株式会社不二越
ロボットシステム
1か月前
太陽パーツ株式会社
アシストスーツ
28日前
株式会社ミクロブ
把持装置
27日前
日本精工株式会社
締結用工具
1か月前
SMC株式会社
着脱装置
26日前
ARMA株式会社
ジョイントフレーム
1か月前
株式会社不二越
移動ロボットシステム
7日前
トヨタ自動車株式会社
カプラ接続治具
1か月前
株式会社不二越
ロボットシステム
28日前
株式会社不二越
エッジ仕上げ装置
17日前
本田技研工業株式会社
装置
10日前
株式会社不二越
ロボットシステム
25日前
トヨタ自動車株式会社
歩行ロボット
1か月前
積水ハウス株式会社
フィルム除去具
2か月前
株式会社不二越
垂直多関節ロボット
18日前
ライオン株式会社
移載システム
19日前
続きを見る
他の特許を見る