TOP
|
特許
|
意匠
|
商標
特許ウォッチ
Twitter
他の特許を見る
10個以上の画像は省略されています。
公開番号
2025130632
公報種別
公開特許公報(A)
公開日
2025-09-08
出願番号
2024027942
出願日
2024-02-27
発明の名称
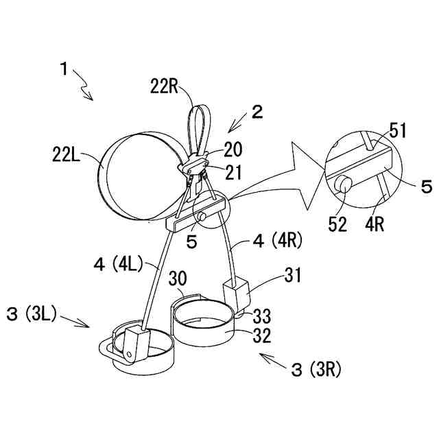
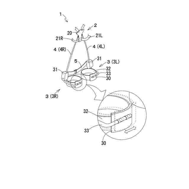
アシストスーツ
出願人
太陽パーツ株式会社
代理人
個人
主分類
B25J
11/00 20060101AFI20250901BHJP(手工具;可搬型動力工具;手工具用の柄;作業場設備;マニプレータ)
要約
【課題】本発明は、アシスト力の調整が可能となされた新規なアシストスーツを提供することを目的とする。
【解決手段】 上半身に装着される上半身装着部材2と、左右の太腿に各々装着される一対の腿装着部材3と、上端が前記上半身装着部材2の背中側に設けられた上端側連結具21に連結され、且つ、下端が各腿装着部材3に設けられた下端側連結具31にそれぞれ連結された一対の弾性部材4と、を具備してなり、装着者(S)の動作負担を軽減するためのアシストスーツ1において、更に、各弾性部材4間の間隔を変更するための間隔調整装置5によってアシスト力を調節する。
【選択図】図1
特許請求の範囲
【請求項1】
装着者の動作負担を軽減するためのアシストスーツであって、
上半身に装着される上半身装着部材と、
左右の太腿に各々装着される一対の腿装着部材と、
上端が前記上半身装着部材の背中側に設けられた上端側連結具に連結され、且つ、下端が各腿装着部材に設けられた下端側連結具にそれぞれ連結された一対の弾性部材と、
を具備してなり、
更に、各弾性部材間の間隔を変更するための間隔調整装置を具備してなることを特徴とするアシストスーツ。
続きを表示(約 310 文字)
【請求項2】
請求項1に記載のアシストスーツにおいて、
前記間隔調整装置が各弾性部材の下端側に配されてなるアシストスーツ。
【請求項3】
請求項1に記載のアシストスーツにおいて、
前記間隔調整装置が各弾性部材の中程に配されてなるアシストスーツ。
【請求項4】
請求項1に記載のアシストスーツにおいて、
前記間隔調整装置が各弾性部材の上端側に配されてなるアシストスーツ。
【請求項5】
請求項1に記載のアシストスーツにおいて、
前記間隔調整装置が各弾性部材の下端側、中程、又は上端側のいずれか二箇所以上に配されてなるアシストスーツ。
発明の詳細な説明
【技術分野】
【0001】
本発明は、装着者の動作負担を軽減するためのアシストスーツに関する。
続きを表示(約 1,200 文字)
【背景技術】
【0002】
最近、作業者や高齢者の動作負担、特に前屈によって生じる動作負担を軽減するための手段として、「アシストスーツ」などと称される弾性力を利用した装着型の補助装置が実用化されている(例えば、下記特許文献1、2参照。)。
【先行技術文献】
【特許文献】
【0003】
特開2011‐188896号公報
特開2013‐144858号公報
【発明の概要】
【発明が解決しようとする課題】
【0004】
前記特許文献1、2に開示されたアシストスーツは、いずれも身体の背面側に一対の弾性部材が配置されており、装着者の前屈動作に応じて各弾性部材が屈曲することによって弾性的なアシスト力を発生させ、もって装着者の動作負荷を軽減する仕組みとなっている。従って、この種のアシストスーツを着用すれば、荷物を持ち上げる作業などの動作負担を軽減することが可能となる。
【0005】
しかしながら、持ち上げる荷物の重量は作業現場毎に異なり、又、アシストスーツを装着する者の筋力の違いによっても求められるアシスト力は異なる。そのため、装着者においてアシストスーツによる動作負担の軽減が十分でないと感じる場合があったり、動作負担の軽減以上に弾性部材を屈曲させる動作を負担に感じて円滑な作業が阻害されたりする場合がある。
【0006】
本発明は前記技術的課題に鑑みて完成されたものであり、アシスト力の調整が可能となされた新規なアシストスーツを提供することを目的とする。
【課題を解決するための手段】
【0007】
前記技術的課題を解決する本発明のアシストスーツは、装着者の動作負担を軽減するためのアシストスーツであって、上半身に装着される上半身装着部材と、左右の太腿に各々装着される一対の腿装着部材と、上端が前記上半身装着部材の背中側に設けられた上端側連結具に連結され、且つ、下端が各腿装着部材に設けられた下端側連結具にそれぞれ連結された一対の弾性部材と、を具備してなり、更に、各弾性部材間の間隔を変更するための間隔調整装置を具備してなることを特徴とする(以下、「本発明アシストスーツ」と称する。)。
【0008】
前記本発明アシストスーツにおいては、前記間隔調整装置が各弾性部材の下端側に配されてなるものが好ましい態様となる。
【0009】
前記本発明アシストスーツにおいては、前記間隔調整装置が各弾性部材の中程に配されてなるものが好ましい態様となる。
【0010】
前記本発明アシストスーツにおいては、前記間隔調整装置が各弾性部材の上端側に配されてなるものが好ましい態様となる。
(【0011】以降は省略されています)
この特許をJ-PlatPat(特許庁公式サイト)で参照する
関連特許
太陽パーツ株式会社
アシストスーツ
1か月前
個人
フラワーホッチキス。
7日前
川崎重工業株式会社
ロボット
20日前
株式会社三協システム
製函機
1か月前
CKD株式会社
把持装置
1か月前
株式会社竹中工務店
補助セット
19日前
株式会社三協システム
移載装置
1か月前
株式会社不二越
ロボット
19日前
川崎重工業株式会社
ハンド
11日前
SMC株式会社
着脱装置
1か月前
工機ホールディングス株式会社
作業機
11日前
トヨタ自動車株式会社
ロボット
14日前
株式会社不二越
移動ロボットシステム
22日前
川崎重工業株式会社
塗装システム
11日前
本田技研工業株式会社
装置
25日前
株式会社不二越
ロボットシステム
1か月前
株式会社不二越
エッジ仕上げ装置
1か月前
トヨタ自動車株式会社
軌道生成装置
14日前
株式会社不二越
垂直多関節ロボット
1か月前
工機ホールディングス株式会社
作業機
11日前
ライオン株式会社
移載システム
1か月前
アネックスツール株式会社
ドライバービット
18日前
大和ハウス工業株式会社
ねじ回転工具
1か月前
シンフォニアテクノロジー株式会社
搬送装置
22日前
株式会社マキタ
現場用作業機
今日
ワールド技研株式会社
ロボットセル装置
19日前
川崎重工業株式会社
ワーク搬送ロボット
11日前
株式会社不二越
ロボットに用いる伝送路
4日前
株式会社マキタ
回転打撃工具
14日前
セイコーエプソン株式会社
ロボット
18日前
NTN株式会社
ハンド
20日前
トヨタ自動車株式会社
ロボットの制御装置
18日前
山九株式会社
レンチ保持治具
14日前
倉敷紡績株式会社
ハンドおよびコネクタ接続方法
1か月前
セイコーエプソン株式会社
ロボット
1か月前
株式会社マキタ
電動工具
22日前
続きを見る
他の特許を見る