TOP
|
特許
|
意匠
|
商標
特許ウォッチ
Twitter
他の特許を見る
10個以上の画像は省略されています。
公開番号
2025144768
公報種別
公開特許公報(A)
公開日
2025-10-03
出願番号
2024044608
出願日
2024-03-21
発明の名称
ロボット
出願人
セイコーエプソン株式会社
代理人
個人
,
個人
,
個人
主分類
B25J
9/06 20060101AFI20250926BHJP(手工具;可搬型動力工具;手工具用の柄;作業場設備;マニプレータ)
要約
【課題】部品同士の干渉を抑制し、部品の着脱を容易に行うことのできるロボットを提供する。
【解決手段】ロボットは、基台と、前記基台に対して回動するロボットアームと、前記基台と前記ロボットアームとを接続する減速機と、前記減速機に接続されているモーターと、前記モーターの駆動を制御する制御基板と、前記制御基板に電源を供給する電源基板と、を有し、前記基台は、前記減速機、前記モーター、前記制御基板および前記電源基板の少なくとも1つが取り付けられている第1筐体と、前記減速機、前記モーター、前記制御基板および前記電源基板のうち前記第1筐体に取り付けられているものを除く少なくとも1つが取り付けられている第2筐体と、を有する。
【選択図】図3
特許請求の範囲
【請求項1】
基台と、
前記基台に対して回動するロボットアームと、
前記基台と前記ロボットアームとを接続する減速機と、
前記減速機に接続されているモーターと、
前記モーターの駆動を制御する制御基板と、
前記制御基板に電源を供給する電源基板と、を有し、
前記基台は、前記減速機、前記モーター、前記制御基板および前記電源基板の少なくとも1つが取り付けられている第1筐体と、前記減速機、前記モーター、前記制御基板および前記電源基板のうち前記第1筐体に取り付けられているものを除く少なくとも1つが取り付けられている第2筐体と、を有することを特徴とするロボット。
続きを表示(約 1,300 文字)
【請求項2】
前記第1筐体には、前記制御基板および前記電源基板が取り付けられ、
前記第2筐体には、前記減速機および前記モーターが取り付けられている請求項1に記載のロボット。
【請求項3】
前記第2筐体には、さらに、前記モーターと前記減速機とを接続し、前記モーターの駆動力を前記減速機に伝達する動力伝達機構が取り付けられ、
前記動力伝達機構は、前記モーターの出力軸に接続されている第1プーリーと、前記減速機の入力側に接続されている第2プーリーと、前記第1プーリーと前記第2プーリーとに掛け回されているベルトと、を有する請求項2に記載のロボット。
【請求項4】
前記第1筐体は、前記第2筐体によって塞がれる開口部を有し、
前記開口部を介して前記減速機および前記モーターが前記第1筐体内に挿入されている請求項2に記載のロボット。
【請求項5】
前記第2筐体は、前記第1筐体に載置された状態で、前記第1筐体に固定されている請求項4に記載のロボット。
【請求項6】
前記第2筐体は、前記第1筐体内に収容され、
前記第1筐体には、前記減速機が取り付けられ、
前記第2筐体には、前記モーター、前記制御基板および前記電源基板が取り付けられている請求項1に記載のロボット。
【請求項7】
前記第2筐体は、箱状をなし、
前記制御基板および前記電源基板は、前記第2筐体の内部に収容され、
前記モーターは、前記第2筐体の外部に配置されている請求項6に記載のロボット。
【請求項8】
前記モーターと前記減速機との間に位置し、前記モーターの駆動力を前記減速機に伝達する動力伝達機構を有し、
前記動力伝達機構は、前記モーターの出力軸に接続されている第1プーリーと、前記減速機の入力側に接続されている第2プーリーと、前記第1プーリーと前記第2プーリーとに掛け回されているベルトと、を有し、
前記第1筐体に対する前記第2筐体の位置を調整することにより、前記ベルトの張力を調整することができる請求項7に記載のロボット。
【請求項9】
基台と、
前記基台に対して回動するロボットアームと、
前記基台と前記ロボットアームとを接続する減速機と、
前記減速機に接続されているモーターと、
前記モーターの駆動を制御する制御基板と、
前記制御基板に電源を供給する電源基板と、
ファンと、を有し、
前記基台は、前記減速機、前記モーター、前記制御基板、前記電源基板および前記ファンの少なくとも1つが取り付けられている第1筐体と、前記減速機、前記モーター、前記制御基板、前記電源基板および前記ファンのうち前記第1筐体に取り付けられているものを除く少なくとも1つが取り付けられている第2筐体と、を有することを特徴とするロボット。
【請求項10】
前記第1筐体には、少なくとも前記減速機および前記モーターが取り付けられ、
前記第2筐体には、少なくとも前記ファンが取り付けられている請求項9に記載のロボット。
(【請求項11】以降は省略されています)
発明の詳細な説明
【技術分野】
【0001】
本発明は、ロボットに関する。
続きを表示(約 2,000 文字)
【背景技術】
【0002】
特許文献1に記載されたロボットは、基台と、基台に変位可能に連結されたロボットアームと、を有するロボット本体を有する。ロボットアームは、基台に回動可能に連結された第1アームと、第1アームに回動可能に連結された第2アームと、第2アームに回動可能に連結された第3アームと、第3アームに回動可能に連結された第4アームと、第4アームに回動可能に連結された第5アームと、第5アームに回動可能に連結された第6アームと、を有する。
【0003】
また、特許文献1に記載されたロボットは、基台と第1アームとを回動可能に連結する減速機と、減速機を介して第1アームを回動させるモーターと、を有し、これらが共に基台内に収容されている。さらに、基台内には、ロボット本体の駆動を制御するための制御基板、制御基板に電力を供給するための電源基板、制御基板の指令に基づいて各アームに配置されたモーターを駆動するための駆動基板と、が収容されている。
【先行技術文献】
【特許文献】
【0004】
特開2019-063933号公報
【発明の概要】
【発明が解決しようとする課題】
【0005】
このように、基台内に多くの部品が収容された構成では、部品同士の干渉によって部品の着脱に手間がかかるという問題がある。
【課題を解決するための手段】
【0006】
本発明のロボットは、基台と、
前記基台に対して回動するロボットアームと、
前記基台と前記ロボットアームとを接続する減速機と、
前記減速機に接続されているモーターと、
前記モーターの駆動を制御する制御基板と、
前記制御基板に電源を供給する電源基板と、を有し、
前記基台は、前記減速機、前記モーター、前記制御基板および前記電源基板の少なくとも1つが取り付けられている第1筐体と、前記減速機、前記モーター、前記制御基板および前記電源基板のうち前記第1筐体に取り付けられているものを除く少なくとも1つが取り付けられている第2筐体と、を有する。
【0007】
本発明のロボットは、基台と、
前記基台に対して回動するロボットアームと、
前記基台と前記ロボットアームとを接続する減速機と、
前記減速機に接続されているモーターと、
前記モーターの駆動を制御する制御基板と、
前記制御基板に電源を供給する電源基板と、
ファンと、を有し、
前記基台は、前記減速機、前記モーター、前記制御基板、前記電源基板および前記ファンの少なくとも1つが取り付けられている第1筐体と、前記減速機、前記モーター、前記制御基板、前記電源基板および前記ファンのうち前記第1筐体に取り付けられているものを除く少なくとも1つが取り付けられている第2筐体と、を有する。
【図面の簡単な説明】
【0008】
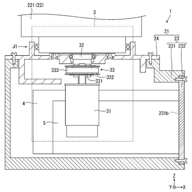
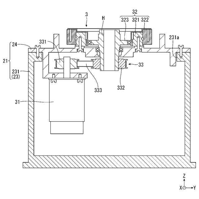
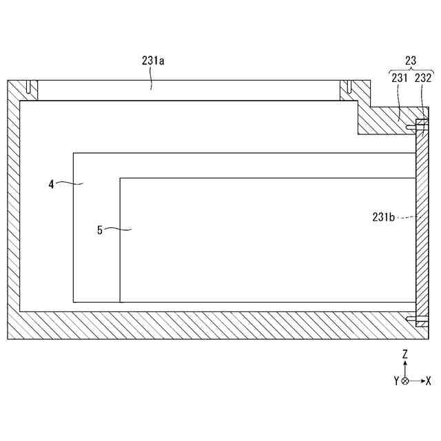
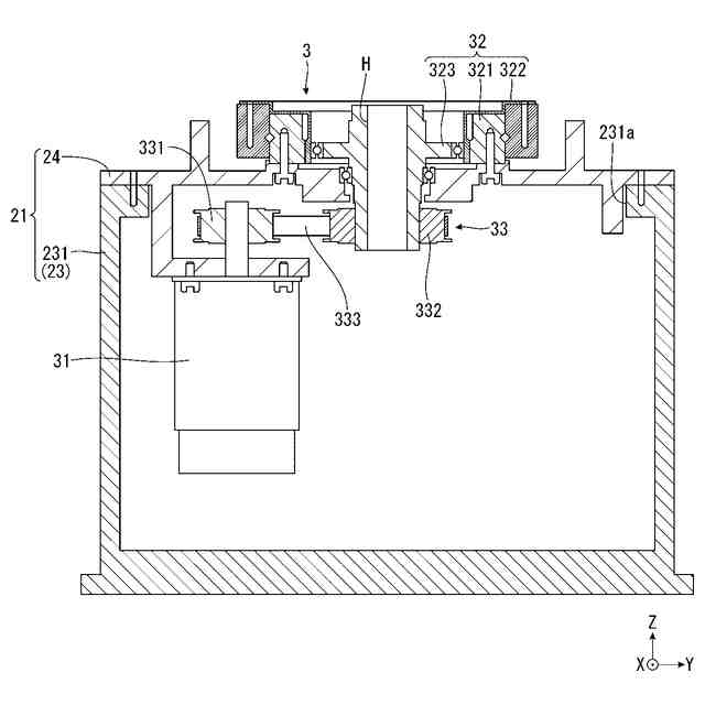
第1実施形態に係るロボットを示す側面図である。
基台をX軸方向プラス側から見た断面図である。
基台をY軸方向マイナス側から見た断面図である。
基台の組み立て手順を説明するための断面図である。
基台の組み立て手順を説明するための断面図である。
基台の組み立て手順を説明するための断面図である。
基台の組み立て手順を説明するための断面図である。
基台の組み立て手順を説明するための断面図である。
基台の組み立て手順を説明するための断面図である。
基台の変形例を示す断面図である。
基台の変形例を示す断面図である。
基台の変形例を示す断面図である。
基台の変形例を示す断面図である。
第2実施形態に係るロボットが備える基台の断面図である。
基台の組み立て手順を説明するための断面図である。
基台の組み立て手順を説明するための断面図である。
基台の組み立て手順を説明するための断面図である。
第3実施形態に係るロボットが備える基台の断面図である。
【発明を実施するための形態】
【0009】
以下、本発明のロボットを添付図面に示す実施形態に基づいて詳細に説明する。
【0010】
<第1実施形態>
図1は、第1実施形態に係るロボットを示す側面図である。図2は、基台をX軸方向プラス側から見た断面図である。図3は、基台をY軸方向マイナス側から見た断面図である。図4ないし図9は、それぞれ、基台の組み立て手順を説明するための断面図である。図10ないし図13は、それぞれ、基台の変形例を示す断面図である。
(【0011】以降は省略されています)
この特許をJ-PlatPat(特許庁公式サイト)で参照する
関連特許
個人
手持ち挟持具
1か月前
トヨタ自動車株式会社
学習装置
19日前
CKD株式会社
把持装置
4日前
ダイセイ株式会社
ロボット自動刻印装置
4日前
株式会社マキタ
ハンマドリル
1か月前
株式会社マキタ
ハンマドリル
1か月前
瓜生製作株式会社
電動締付工具
12日前
株式会社安川電機
ロボット
1か月前
株式会社マキタ
集塵アタッチメント
11日前
株式会社三共コーポレーション
工具保持具
1か月前
株式会社不二越
垂直多関節ロボット
19日前
トヨタ自動車株式会社
ロボットハンド
1か月前
株式会社マキタ
現場用作業機
1か月前
株式会社不二越
ロボットに用いる伝送路
1か月前
学校法人立命館
ロボットハンド制御システム
1か月前
株式会社マキタ
作業機
1か月前
株式会社マキタ
電動工具
19日前
NTN株式会社
把持装置
4日前
ニデックインスツルメンツ株式会社
産業用ロボット
1か月前
トヨタ自動車株式会社
モバイルマニピュレータ
1か月前
国立大学法人東京科学大学
多自由度入力装置用制御装置
11日前
株式会社田村製作所
エンドエフェクタ及びロボット装置
1か月前
ファナック株式会社
経路データセット生成
1か月前
株式会社人機一体
有脚ロボット
1か月前
株式会社ケイズベルテック
物品定量取り分け装置
1か月前
株式会社マキタ
インパクト工具
1か月前
積水ハウス株式会社
固定ピン保持用アタッチメント
1か月前
ダイハツ工業株式会社
ロボット制御システム
4日前
株式会社デンソー
ワーク投入装置
1か月前
日本発條株式会社
ケーブルユニット及びその製造方法
1か月前
株式会社秦製作所
ジャック差込口ナット締め用の供回り防止レンチ
20日前
パナソニック株式会社
インパクト工具
4日前
カツデン株式会社
回転工具用治具
1か月前
泰芳機械股分有限公司
コレット収納装置
1か月前
久維科技(蘇州)有限公司
締結部材打込み機
1か月前
有限会社井出計器
電動ドライバシステムおよびドライバ制御装置
1か月前
続きを見る
他の特許を見る