TOP
|
特許
|
意匠
|
商標
特許ウォッチ
Twitter
他の特許を見る
公開番号
2025131094
公報種別
公開特許公報(A)
公開日
2025-09-09
出願番号
2024028609
出願日
2024-02-28
発明の名称
把持装置
出願人
CKD株式会社
代理人
個人
,
個人
主分類
B25J
15/08 20060101AFI20250902BHJP(手工具;可搬型動力工具;手工具用の柄;作業場設備;マニプレータ)
要約
【課題】長寿命化を図ることができる把持装置を提供する。
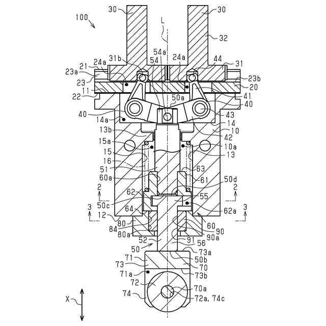
【解決手段】把持装置100は、ハウジング10と、ガイド部材20と、一対の把持部材30と、一対のレバー40と、駆動軸50と、ローラ部材70と、を有している。駆動軸50は、一方の端部において、一対のレバー40を介して一対の把持部材30と連結するとともに、他方の端部において、ローラ部材70が取り付けられている。把持装置100は、外部の駆動源により駆動される。外部の駆動源は、ローラ部材70を介して駆動軸50を駆動する。外部の駆動源による軸方向Xの荷重は、ローラ部材70が有する支持部71及び回転部72を介して駆動軸に伝わる。外部の駆動源による軸方向Xと直交する方向の荷重は、回転部72の回転により吸収される。
【選択図】図1
特許請求の範囲
【請求項1】
軸方向に貫通する貫通孔を画定するハウジングと、
前記ハウジングのうち前記軸方向における一方の端部に設けられるガイド部材と、
前記軸方向と直交する方向へ前記ガイド部材に沿って移動する一対の把持部材と、
前記一対の把持部材と連結する一対のレバーと、
前記貫通孔に挿通するとともに、前記一対のレバーと連結する連結端部及び前記ハウジングの他方の端部から突出する駆動端部を有する駆動軸と、を有し、
前記軸方向に沿った前記駆動軸の往復動と連動して、前記一対の把持部材が前記軸方向と直交する方向に開閉する把持装置であって、
前記駆動軸は、前記駆動端部にローラ部材を有しており、
前記ローラ部材は、
前記駆動端部に対して固定されるとともに、前記軸方向と直交する方向に延びる軸線を回転中心として回転可能となるように支持部に支持されている回転部を有することを特徴とする把持装置。
続きを表示(約 840 文字)
【請求項2】
前記駆動軸は、
一方の端部に前記連結端部を有するとともに、他方の端部に固定端部を有する第1ロッド部材と、
一方の端部に前記駆動端部を有するとともに、他方の端部に接続端部を有する第2ロッド部材と、を有しており、
前記固定端部と前記接続端部とは、保持部材により接続されていることを特徴とする請求項1に記載の把持装置。
【請求項3】
前記第2ロッド部材は、前記接続端部寄りの部分においてフランジ部を有しており、
前記保持部材には、前記軸方向と直交する方向に開口する保持室が画定されており、
前記保持部材は、前記固定端部に固定されているとともに、前記軸方向に延びる軸線を回転中心として前記第2ロッド部材が回転可能となるように、前記保持室において前記フランジ部を保持していることを特徴とする請求項2に記載の把持装置。
【請求項4】
前記ハウジングの他方の端部には、回転規制部材が固定されており、
前記第2ロッド部材は、外面の少なくとも一部分において、前記軸方向と平行である係合平面を有するとともに、前記回転規制部材が画定する挿通孔に挿通しており、
前記回転規制部材は、前記挿通孔を画定する孔画定面を有しており、
前記孔画定面は、前記係合平面と対面する被係合平面を有することを特徴とする請求項2又は請求項3に記載の把持装置。
【請求項5】
前記ハウジングの他方の端部には、軸受を有する回転規制部材が固定されており、
前記第2ロッド部材は、外面の少なくとも一部分において、前記軸方向と平行である係合平面を有するとともに、前記軸受が画定する軸受孔に挿通しており、
前記軸受は、前記軸受孔を画定する軸受孔画定面を有しており、
前記軸受孔画定面は、前記係合平面と対面する被係合平面を有することを特徴とする請求項2又は請求項3に記載の把持装置。
発明の詳細な説明
【技術分野】
【0001】
本発明は、把持装置に関する。
続きを表示(約 2,000 文字)
【背景技術】
【0002】
従来、外部の駆動源により駆動する一対の把持部材を有する把持装置が知られている。把持装置は、ハウジングと、一対の把持部材と、一対のレバーと、駆動軸と、を有している。把持装置は、外部の駆動源により、駆動軸をハウジングの内部で往復動させるとともに、当該往復動により、一対のレバーを介して一対の把持部材を開閉する。把持装置は、一対の把持部材により、対象物を把持する。例えば、特許文献1で開示されている把持装置である流体圧ハンドは、一対の把持部材である一対のマスタージョウを有する。流体圧ハンドでは、ハウジングであるボディに対して外部から供給される流体圧により、駆動軸であるピストンを動作させることで、一対のマスタージョウを開閉している。
【先行技術文献】
【特許文献】
【0003】
特開平11-300674号公報
【発明の概要】
【発明が解決しようとする課題】
【0004】
駆動軸を駆動する外部の駆動源としては、例えば、原動軸により回転するカムがある。原動軸は、駆動軸の軸方向と直交する方向に延びるとともに、カムを回転させる。回転するカムは、当該カムの外周面に駆動軸の端部を沿わせることにより、カムの形状に合わせて、駆動軸を軸方向に動作させる。しかし、駆動軸には、軸方向への荷重の他に、回転するカムとの間における摩擦力に起因する横荷重が発生する。駆動軸に加えられる横荷重は、駆動軸の軸方向及び原動軸の延びる方向の各々と直交する方向に加えられる。駆動軸に加えられる横荷重は、一対のレバー及び一対の把持部材に負荷を加える。この結果、当該横荷重は把持装置の寿命の低下を導く虞がある。
【課題を解決するための手段】
【0005】
上記課題を解決するための把持装置は、軸方向に貫通する貫通孔を画定するハウジングと、前記ハウジングのうち前記軸方向における一方の端部に設けられるガイド部材と、前記軸方向と直交する方向へ前記ガイド部材に沿って移動する一対の把持部材と、前記一対の把持部材と連結する一対のレバーと、前記貫通孔に挿通するとともに、前記一対のレバーと連結する連結端部及び前記ハウジングの他方の端部から突出する駆動端部を有する駆動軸と、を有し、前記軸方向に沿った前記駆動軸の往復動と連動して、前記一対の把持部材が前記軸方向と直交する方向に開閉する把持装置であって、前記駆動軸は、前記駆動端部にローラ部材を有しており、前記ローラ部材は、前記駆動端部に対して固定されるとともに、前記軸方向と直交する方向に延びる軸線を回転中心として回転可能となるように支持部に支持されている回転部を有することを要旨とする。
【0006】
上記把持装置において、前記駆動軸は、一方の端部に前記連結端部を有するとともに、他方の端部に固定端部を有する第1ロッド部材と、一方の端部に前記駆動端部を有するとともに、他方の端部に接続端部を有する第2ロッド部材と、を有しており、前記固定端部と前記接続端部とは、保持部材により接続されてもよい。
【0007】
上記把持装置において、前記第2ロッド部材は、前記接続端部寄りの部分においてフランジ部を有しており、前記保持部材には、前記軸方向と直交する方向に開口する保持室が画定されており、前記保持部材は、前記固定端部に固定されているとともに、前記軸方向に延びる軸線を回転中心として前記第2ロッド部材が回転可能となるように、前記保持部室において前記フランジ部を保持してもよい。
【0008】
上記把持装置において、前記ハウジングの他方の端部には、回転規制部材が固定されており、前記第2ロッド部材は、外面の少なくとも一部分において、前記軸方向と平行である係合平面を有するとともに、前記回転規制部材が画定する挿通孔に挿通しており、前記回転規制部材は、前記挿通孔を画定する孔画定面を有しており、前記孔画定面は、前記係合平面と対面する被係合平面を有してもよい。
【0009】
上記把持装置において、前記ハウジングの他方の端部には、軸受を有する回転規制部材が固定されており、前記第2ロッド部材は、外面の少なくとも一部分において、前記軸方向と平行である係合平面を有するとともに、前記軸受が画定する軸受孔に挿通しており、前記軸受は、前記軸受孔を画定する軸受孔画定面を有しており、前記軸受孔画定面は、前記係合平面と対面する被係合平面を有してもよい。
【発明の効果】
【0010】
本発明によれば、把持装置の長寿命化を図ることができる。
【図面の簡単な説明】
(【0011】以降は省略されています)
この特許をJ-PlatPat(特許庁公式サイト)で参照する
関連特許
CKD株式会社
流体制御弁
25日前
CKD株式会社
シール手段異常検出システム及びブリスタ包装機
1か月前
個人
フラワーホッチキス。
27日前
個人
手持ち挟持具
5日前
川崎重工業株式会社
ロボット
1か月前
株式会社不二越
ロボット
1か月前
株式会社竹中工務店
補助セット
1か月前
川崎重工業株式会社
ハンド
1か月前
株式会社マキタ
ハンマドリル
14日前
株式会社マキタ
ハンマドリル
14日前
株式会社不二越
移動ロボットシステム
1か月前
工機ホールディングス株式会社
作業機
1か月前
トヨタ自動車株式会社
ロボット
1か月前
株式会社安川電機
ロボット
11日前
川崎重工業株式会社
塗装システム
1か月前
株式会社三共コーポレーション
工具保持具
5日前
トヨタ自動車株式会社
軌道生成装置
1か月前
工機ホールディングス株式会社
作業機
1か月前
アネックスツール株式会社
ドライバービット
1か月前
トヨタ自動車株式会社
ロボットハンド
11日前
シンフォニアテクノロジー株式会社
搬送装置
1か月前
株式会社マキタ
回転打撃工具
1か月前
株式会社マキタ
現場用作業機
20日前
川崎重工業株式会社
ワーク搬送ロボット
1か月前
ワールド技研株式会社
ロボットセル装置
1か月前
株式会社不二越
ロボットに用いる伝送路
24日前
NTN株式会社
ハンド
1か月前
セイコーエプソン株式会社
ロボット
1か月前
山九株式会社
レンチ保持治具
1か月前
トヨタ自動車株式会社
ロボットの制御装置
1か月前
川崎重工業株式会社
ロボット
1か月前
学校法人立命館
ロボットハンド制御システム
20日前
NTN株式会社
把持装置
1か月前
NTN株式会社
把持装置
1か月前
ニデックインスツルメンツ株式会社
産業用ロボット
3日前
株式会社マキタ
作業機
17日前
続きを見る
他の特許を見る