TOP
|
特許
|
意匠
|
商標
特許ウォッチ
Twitter
他の特許を見る
10個以上の画像は省略されています。
公開番号
2025165578
公報種別
公開特許公報(A)
公開日
2025-11-05
出願番号
2024069712
出願日
2024-04-23
発明の名称
工具保持具
出願人
株式会社三共コーポレーション
代理人
個人
主分類
B25H
3/00 20060101AFI20251028BHJP(手工具;可搬型動力工具;手工具用の柄;作業場設備;マニプレータ)
要約
【課題】様々な形状の保持部を選択して着脱可能とするものであって、ベルトに取り付けた状態で保持部が揺動したりせずに強固に保持される工具保持具を提供する。
【解決手段】本発明の工具保持具は、帯状体Oに挿通して保持対象物を保持する工具保持具であって、帯状体Oを挿通可能な第一通し孔22を有する接続基体2と、接続基部2に接続可能な保持基体3とからなり、保持基体3は、保持対象物を保持するための保持部32と、上下方向を長手方向とする溝状の第二通し孔31と、を有し、接続基体2は、保持基体3と接続基体2との接続状態から、保持基体3が接続基体2に対して相対的に上方への移動を制止する移動制止部24を有することを特徴とする。
【選択図】図2
特許請求の範囲
【請求項1】
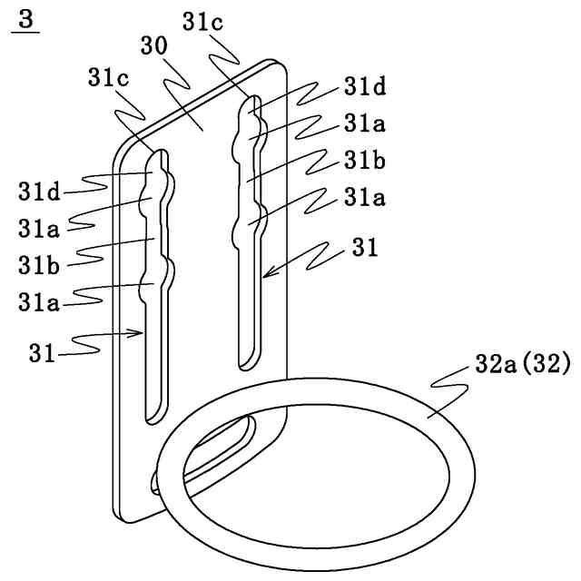
帯状体に挿通して保持対象物を保持する工具保持具であって、帯状体を挿通可能な第一通し孔を有する接続基体と、前記接続基体に接続可能な保持基体とからなり、
前記保持基体は、保持対象物を保持するための保持部と、上下方向を長手方向とする溝状の第二通し孔と、を有し、
前記接続基体は、前記保持基体と前記接続基体との接続状態から、前記保持基体が前記接続基体に対して相対的に上方への移動を制止する移動制止部を有することを特徴とする工具保持具。
続きを表示(約 410 文字)
【請求項2】
保持基体の溝状の第二通し孔は、溝部の長手方向中央付近に接続部を挿通可能とする幅広部分を有し、前記溝部の最上部に上方壁を有する接続位置を有し、
移動制止部は、前記接続位置で前記保持基体が接続基体に対して相対的に上方への移動を制止することを特徴とする請求項1に記載の工具保持具。
【請求項3】
移動制止部は、接続基体の上縁から突出する突出制止面を有し、制止位置に付勢する延長部を介して前記接続基体に固定されていることを特徴とする請求項2に記載の工具保持具。
【請求項4】
接続基体と保持基体との接続は、前記接続基体の表面から突出する大径部と小径部とからなる接続部を、前記保持基体の第2通し孔に挿通することで接続するものであって、
前記接続部は、左右に複数配するとともに、上下に複数段配することを特徴とする請求項1、2または3のいずれか1項に記載の工具保持具。
発明の詳細な説明
【技術分野】
【0001】
本発明はベルトに取り付ける工具保持具に関する発明である。
続きを表示(約 1,300 文字)
【背景技術】
【0002】
作業員が高所等で工事を行う場合、工具箱を適宜安全な場所に置き、逐一工具を取り出して作業を行わなければならない。そのため、特許文献1で開示されている工具差しに適宜使用する工具を差して行うことがあった。特許文献1に開示されている考案は、ベルト通し本体と工具差し本体とを別体として着脱可能にしている。
【0003】
しかし、特許文献1に記載の工具差しではピンをスリットに通して保持するものであるため、装着した状態でもスリットの長手方向である上下方向の係合は不十分であり、作業中に工具差し本体が上下に揺動し、ひいてはベルト通し本体から外れたり、工具が落下する危険性すら考えられる。
【先行技術文献】
【特許文献】
【0004】
実登3107395号公報
【発明の概要】
【発明が解決しようとする課題】
【0005】
本発明では、上記課題を鑑みて、様々な形状の保持部を選択して着脱可能とするものであって、ベルトに取り付けた状態で保持部が揺動したりせずに強固に保持される工具保持具を提供することを目的とする。
【課題を解決するための手段】
【0006】
そこで、本発明の工具保持具は、帯状体に挿通して保持対象物を保持する工具保持具であって、帯状体を挿通可能な第一通し孔を有する接続基体と、前記接続基部に接続可能な保持基体とからなり、前記保持基体は、保持対象物を保持するための保持部と、上下方向を長手方向とする溝状の第二通し孔と、を有し、前記接続基体は、前記保持基体と前記接続基体との接続状態から、前記保持基体が前記接続基体に対して相対的に上方への移動を制止する移動制止部を有することを特徴とする。
【0007】
また、保持基体の溝状の第二通し孔は、溝部の長手方向中央付近に前記接続部を挿通可能とする幅広部分を有し、前記溝部の最上部に上方壁を有する接続位置を有し、移動制止部は、前記接続位置で前記保持基体が前記接続基体に対して相対的に上方への移動を制止することが好ましい。
【0008】
また、移動制止部は、接続基体の上縁から突出する突出制止面を有し、制止位置に付勢する延長部を介して前記接続基体に固定されていることが好ましい。
【0009】
また、接続基体と保持基体との接続は、前記接続基体の表面から突出する大径部と小径部とからなる接続部を、前記保持基体の第2通し孔に挿通することで接続するものであって、前記接続部は、左右に複数配するとともに、上下に複数段配することが好ましい。
【発明の効果】
【0010】
請求項1に記載の発明により、接続基体と保持基体とを分離して接続可能とすることにより保持部分を適宜の保持部とするものに変更して使用可能とし、第二通し孔が縦型の溝とすることで保持基体のみに帯状体を通して使用することも可能となる。さらに、保持基体が上方への移動を制止する移動制止部を有することで上方へのガタツキを抑えて工具の抜け落ちを防止することができる。
(【0011】以降は省略されています)
この特許をJ-PlatPat(特許庁公式サイト)で参照する
関連特許
個人
フラワーホッチキス。
24日前
個人
手持ち挟持具
2日前
川崎重工業株式会社
ハンド
28日前
株式会社マキタ
ハンマドリル
11日前
株式会社マキタ
ハンマドリル
11日前
工機ホールディングス株式会社
作業機
28日前
川崎重工業株式会社
塗装システム
28日前
株式会社安川電機
ロボット
8日前
株式会社三共コーポレーション
工具保持具
2日前
工機ホールディングス株式会社
作業機
28日前
トヨタ自動車株式会社
ロボットハンド
8日前
株式会社不二越
ロボットに用いる伝送路
21日前
川崎重工業株式会社
ワーク搬送ロボット
28日前
株式会社マキタ
現場用作業機
17日前
株式会社マキタ
作業機
14日前
ニデックインスツルメンツ株式会社
産業用ロボット
今日
学校法人立命館
ロボットハンド制御システム
17日前
トヨタ自動車株式会社
モバイルマニピュレータ
21日前
川崎重工業株式会社
監視システム
29日前
ファナック株式会社
経路データセット生成
10日前
株式会社田村製作所
エンドエフェクタ及びロボット装置
今日
株式会社ケイズベルテック
物品定量取り分け装置
11日前
株式会社人機一体
有脚ロボット
10日前
株式会社ダイヘン
回生ユニット
29日前
株式会社マキタ
インパクト工具
21日前
積水ハウス株式会社
固定ピン保持用アタッチメント
8日前
日本発條株式会社
ケーブルユニット及びその製造方法
今日
パナソニック株式会社
工具及びカバー
28日前
泰芳機械股分有限公司
コレット収納装置
15日前
株式会社デンソー
ワーク投入装置
今日
カツデン株式会社
回転工具用治具
22日前
ニデックインスツルメンツ株式会社
搬送システム
28日前
久維科技(蘇州)有限公司
締結部材打込み機
22日前
工機ホールディングス株式会社
作業機
8日前
有限会社井出計器
電動ドライバシステムおよびドライバ制御装置
21日前
SMC株式会社
チャック装置およびチャックシステム
8日前
続きを見る
他の特許を見る