TOP
|
特許
|
意匠
|
商標
特許ウォッチ
Twitter
他の特許を見る
10個以上の画像は省略されています。
公開番号
2025168857
公報種別
公開特許公報(A)
公開日
2025-11-12
出願番号
2024073671
出願日
2024-04-30
発明の名称
パルスエア発生装置
出願人
CKD株式会社
代理人
個人
,
個人
主分類
F15B
21/12 20060101AFI20251105BHJP(流体圧アクチュエータ;水力学または空気力学一般)
要約
【課題】周期の長さの変更が意図せず行われることを回避しつつ、所望の吐出時間及び遮断時間を得ることができる。
【解決手段】吐出ポート14からエアが外部へ吐出されている吐出時間と吐出ポート14からのエアの吐出が遮断されている遮断時間との比であるオンデューティ比は、第1スプール受圧面82の受圧面積を第1ピストン受圧面81の受圧面積で割った値、及び第2スプール受圧面84の受圧面積を第2ピストン受圧面83の受圧面積で割った値に基づいて調整されている。そして、所望の遮断時間が得られるように、第1ピストン受圧面81、第1スプール受圧面82、第2ピストン受圧面83、及び第2スプール受圧面84それぞれの受圧面積を予め設定する。
【選択図】図2
特許請求の範囲
【請求項1】
吐出ポートから間欠的にエアを吐出するパルスエア発生装置であって、
ボディと、
前記ボディに形成された弁孔と、
前記弁孔に往復動可能に収容され、前記弁孔の軸方向で互いに隣り合った状態で配置される第1スプール弁及び第2スプール弁と、
前記ボディに形成されるとともに前記弁孔にそれぞれ連通する供給ポート、第1出力ポート、第2出力ポート、及び排出ポートと、
前記第1スプール弁の端部に設けられるとともに前記第1スプール弁と一体的に移動する第1ピストンと、
前記第2スプール弁の端部に設けられるとともに前記第2スプール弁と一体的に移動する第2ピストンと、
前記第1ピストンを移動させるパイロットエアが給排される第1パイロット室と、
前記第2ピストンを移動させるパイロットエアが給排される第2パイロット室と、
前記吐出ポートに接続され、且つ前記第1出力ポートと前記第1パイロット室とを連通する第1連通流路と、
前記第2出力ポートと前記第2パイロット室とを連通する第2連通流路と、を備え、
前記第1スプール弁は、前記第1パイロット室からエアが排出されることにより、前記供給ポートと前記第2出力ポートとの間のエアの流れを遮断し、且つ前記第2出力ポートと前記排出ポートとの間のエアの流れを許容する第1位置に切り換わるとともに、前記第1パイロット室にエアが供給されることにより、前記供給ポートと前記第2出力ポートとの間のエアの流れを許容し、且つ前記第2出力ポートと前記排出ポートとの間のエアの流れを遮断する第2位置に切り換わり、
前記第2スプール弁は、前記第1スプール弁が前記第1位置に切り換わることにより、前記供給ポートと前記第1出力ポートとの間のエアの流れを許容する第3位置に切り換わるとともに、前記第1スプール弁が前記第2位置に切り換わることにより、前記供給ポートと前記第1出力ポートとの間のエアの流れを遮断する第4位置に切り換わり、
前記第1ピストンは、前記第1スプール弁を前記第1位置から前記第2位置へ移動させるために前記第1パイロット室に供給されるパイロットエアを受圧する第1ピストン受圧面を有し、
前記第1スプール弁は、前記第1スプール弁を前記第2位置から前記第1位置へ移動させるために前記供給ポートから供給されるエアを前記第1ピストンとは反対側で受圧する第1スプール受圧面を有し、
前記第2ピストンは、前記第2スプール弁を前記第3位置から前記第4位置へ移動させるために前記第2パイロット室に供給されるパイロットエアを受圧する第2ピストン受圧面を有し、
前記第2スプール弁は、前記第2スプール弁を前記第4位置から前記第3位置へ移動させるために前記供給ポートから供給されるエアを前記第2ピストンとは反対側で受圧する第2スプール受圧面を有し、
前記吐出ポートからエアが外部へ吐出されている吐出時間と前記吐出ポートからのエアの吐出が遮断されている遮断時間との比であるオンデューティ比は、前記第1スプール受圧面の受圧面積を前記第1ピストン受圧面の受圧面積で割った値、及び前記第2スプール受圧面の受圧面積を第2ピストン受圧面の受圧面積で割った値に基づいて調整されていることを特徴とするパルスエア発生装置。
続きを表示(約 800 文字)
【請求項2】
前記第1連通流路又は前記第2連通流路には、前記吐出ポートからのエアの吐出が行われてから前記吐出ポートからのエアの吐出が遮断されて前記吐出ポートからのエアの吐出が再度行われるまでの時間である周期の長さを調整するべく、前記第1連通流路又は前記第2連通流路を流れるエアの流量を調整する調整弁が設けられていることを特徴とする請求項1に記載のパルスエア発生装置。
【請求項3】
前記調整弁は、前記第1連通流路又は前記第2連通流路の一部を形成する調整弁孔の開度を調整する柱状の調整弁体を有し、
前記ボディには、前記ボディの外面に第1端が開口し、且つ、前記調整弁孔に第2端が連通する挿通孔が形成され、
前記調整弁体は、前記挿通孔に往復動可能に挿通され、
前記調整弁体の外周面には、前記調整弁体の軸方向に延びる凹部が形成されており、
前記挿通孔内には、ストッパ部材が設けられており、
前記ストッパ部材は、前記凹部における前記挿通孔の第1端側に位置する部位に係止されることにより、前記調整弁体における前記調整弁孔を閉弁する方向への移動を規制し、且つ、前記凹部における前記挿通孔の第2端側に位置する部位に係止されることにより、前記調整弁体における前記調整弁孔を開放する方向への移動を規制することを特徴とする請求項2に記載のパルスエア発生装置。
【請求項4】
前記第1パイロット室は、
前記第1ピストンが往復動する第1ピストン室と、
前記第1ピストン室に連通する第1拡張室と、を有し、
前記第2パイロット室は、
前記第2ピストンが往復動する第2ピストン室と、
前記第2ピストン室に連通する第2拡張室と、を有していることを特徴とする請求項1~請求項3のいずれか一項に記載のパルスエア発生装置。
発明の詳細な説明
【技術分野】
【0001】
本発明は、パルスエア発生装置に関する。
続きを表示(約 3,600 文字)
【背景技術】
【0002】
従来から、吐出ポートから間欠的にエアを吐出するパルスエア発生装置が知られている。例えば特許文献1のパルスエア発生装置は、エアの流量を調整する調整弁を2つ備えている。そして、一方の調整弁によって、吐出ポートからエアが吐出されている吐出時間の調整を行うとともに、他方の調整弁によって、吐出ポートからのエアの吐出が遮断されている遮断時間の調整を行うことが可能になっている。
【先行技術文献】
【特許文献】
【0003】
特開2022-167436号公報
【発明の概要】
【発明が解決しようとする課題】
【0004】
ところで、特許文献1のパルスエア発生装置において、例えば、一方の調整弁によって、吐出ポートからエアが吐出される吐出時間の調整を行うとする。すると、それに伴って、吐出ポートからのエアの吐出が行われてから吐出ポートからのエアの吐出が遮断されて吐出ポートからのエアの吐出が再度行われるまでの時間である周期の長さが意図せずに変わってしまう。また、例えば、他方の調整弁によって、吐出ポートからのエアの吐出が遮断されている遮断時間の調整を行うとする。すると、それに伴って、周期の長さが意図せずに変わってしまう。したがって、周期の長さを変えずに、吐出時間及び遮断時間の調整を行うためには、2つの調整弁を同時に微調整する作業が必要となるため、作業が煩雑である。したがって、周期の長さの変更が意図せず行われることを回避しつつ、所望の吐出時間及び遮断時間を得ることができるパルスエア発生装置が望まれている。
【課題を解決するための手段】
【0005】
上記課題を解決するための各態様を記載する。
[態様1]
吐出ポートから間欠的にエアを吐出するパルスエア発生装置であって、
ボディと、
前記ボディに形成された弁孔と、
前記弁孔に往復動可能に収容され、前記弁孔の軸方向で互いに隣り合った状態で配置される第1スプール弁及び第2スプール弁と、
前記ボディに形成されるとともに前記弁孔にそれぞれ連通する供給ポート、第1出力ポート、第2出力ポート、及び排出ポートと、
前記第1スプール弁の端部に設けられるとともに前記第1スプール弁と一体的に移動する第1ピストンと、
前記第2スプール弁の端部に設けられるとともに前記第2スプール弁と一体的に移動する第2ピストンと、
前記第1ピストンを移動させるパイロットエアが給排される第1パイロット室と、
前記第2ピストンを移動させるパイロットエアが給排される第2パイロット室と、
前記吐出ポートに接続され、且つ前記第1出力ポートと前記第1パイロット室とを連通する第1連通流路と、
前記第2出力ポートと前記第2パイロット室とを連通する第2連通流路と、を備え、
前記第1スプール弁は、前記第1パイロット室からエアが排出されることにより、前記供給ポートと前記第2出力ポートとの間のエアの流れを遮断し、且つ前記第2出力ポートと前記排出ポートとの間のエアの流れを許容する第1位置に切り換わるとともに、前記第1パイロット室にエアが供給されることにより、前記供給ポートと前記第2出力ポートとの間のエアの流れを許容し、且つ前記第2出力ポートと前記排出ポートとの間のエアの流れを遮断する第2位置に切り換わり、
前記第2スプール弁は、前記第1スプール弁が前記第1位置に切り換わることにより、前記供給ポートと前記第1出力ポートとの間のエアの流れを許容する第3位置に切り換わるとともに、前記第1スプール弁が前記第2位置に切り換わることにより、前記供給ポートと前記第1出力ポートとの間のエアの流れを遮断する第4位置に切り換わり、
前記第1ピストンは、前記第1スプール弁を前記第1位置から前記第2位置へ移動させるために前記第1パイロット室に供給されるパイロットエアを受圧する第1ピストン受圧面を有し、
前記第1スプール弁は、前記第1スプール弁を前記第2位置から前記第1位置へ移動させるために前記供給ポートから供給されるエアを前記第1ピストンとは反対側で受圧する第1スプール受圧面を有し、
前記第2ピストンは、前記第2スプール弁を前記第3位置から前記第4位置へ移動させるために前記第2パイロット室に供給されるパイロットエアを受圧する第2ピストン受圧面を有し、
前記第2スプール弁は、前記第2スプール弁を前記第4位置から前記第3位置へ移動させるために前記供給ポートから供給されるエアを前記第2ピストンとは反対側で受圧する第2スプール受圧面を有し、
前記吐出ポートからエアが外部へ吐出されている吐出時間と前記吐出ポートからのエアの吐出が遮断されている遮断時間との比であるオンデューティ比は、前記第1スプール受圧面の受圧面積を前記第1ピストン受圧面の受圧面積で割った値、及び前記第2スプール受圧面の受圧面積を第2ピストン受圧面の受圧面積で割った値に基づいて調整されていることを特徴とするパルスエア発生装置。
【0006】
[態様2]
前記第1連通流路又は前記第2連通流路には、前記吐出ポートからのエアの吐出が行われてから前記吐出ポートからのエアの吐出が遮断されて前記吐出ポートからのエアの吐出が再度行われるまでの時間である周期の長さを調整するべく、前記第1連通流路又は前記第2連通流路を流れるエアの流量を調整する調整弁が設けられていることを特徴とする[態様1]に記載のパルスエア発生装置。
【0007】
[態様3]
前記調整弁は、前記第1連通流路又は前記第2連通流路の一部を形成する調整弁孔の開度を調整する柱状の調整弁体を有し、
前記ボディには、前記ボディの外面に第1端が開口し、且つ、前記調整弁孔に第2端が連通する挿通孔が形成され、
前記調整弁体は、前記挿通孔に往復動可能に挿通され、
前記調整弁体の外周面には、前記調整弁体の軸方向に延びる凹部が形成されており、
前記挿通孔内には、ストッパ部材が設けられており、
前記ストッパ部材は、前記凹部における前記挿通孔の第1端側に位置する部位に係止されることにより、前記調整弁体における前記調整弁孔を閉弁する方向への移動を規制し、且つ、前記凹部における前記挿通孔の第2端側に位置する部位に係止されることにより、前記調整弁体における前記調整弁孔を開放する方向への移動を規制することを特徴とする[態様2]に記載のパルスエア発生装置。
【0008】
[態様4]
前記第1パイロット室は、
前記第1ピストンが往復動する第1ピストン室と、
前記第1ピストン室に連通する第1拡張室と、を有し、
前記第2パイロット室は、
前記第2ピストンが往復動する第2ピストン室と、
前記第2ピストン室に連通する第2拡張室と、を有していることを特徴とする[態様1]~[態様3]のいずれか1つに記載のパルスエア発生装置。
【発明の効果】
【0009】
この発明によれば、周期の長さの変更が意図せず行われることを回避しつつ、所望の吐出時間及び遮断時間を得ることができる。
【図面の簡単な説明】
【0010】
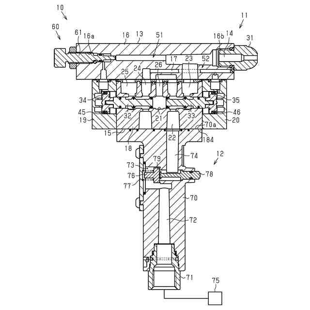
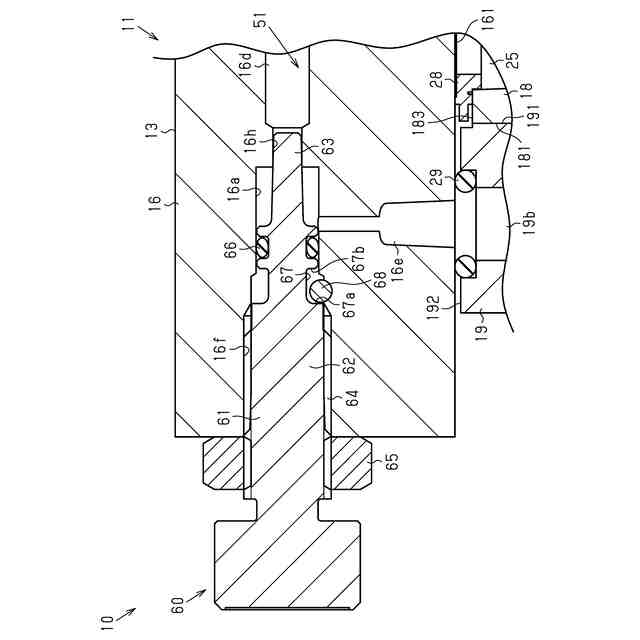
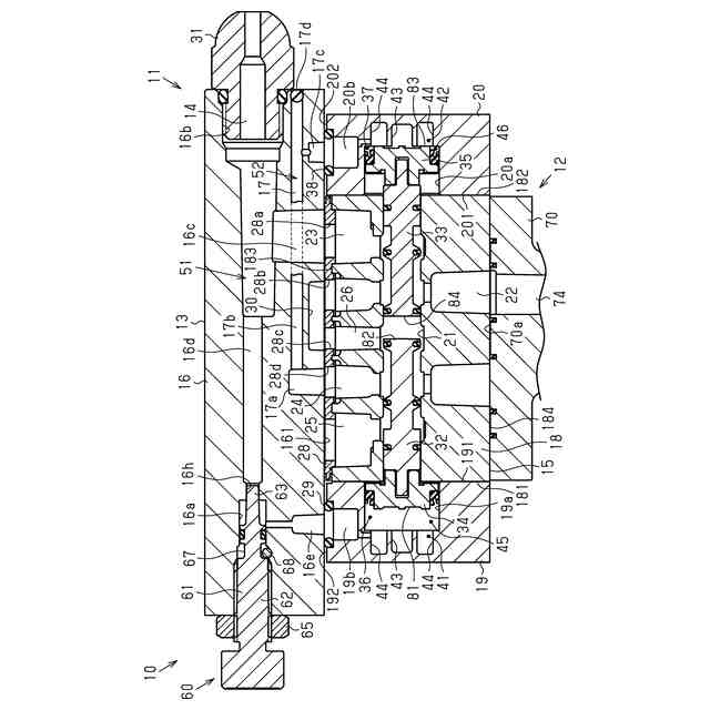
図1は、実施形態におけるエアブローガンを示す断面図である。
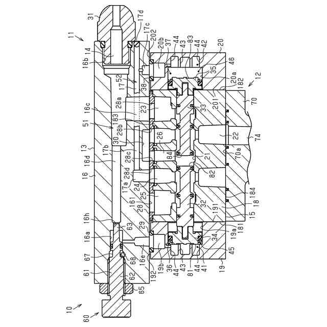
図2は、エアブローガンの一部分を拡大して示す断面図である。
図3は、エアブローガンの一部分を示す斜視図である。
図4は、エアブローガンの一部分を示す正面図である。
図5は、エアブローガンの一部分を拡大して示す断面図である。
図6は、エアブローガンの一部分を拡大して示す断面図である。
図7は、エアブローガンの一部分を拡大して示す断面図である。
図8は、エアブローガンの一部分を拡大して示す断面図である。
図9は、オンデューティ比と第1ピストン受圧面の受圧面積との関係を示すグラフである。
図10は、オンデューティ比と第1スプール受圧面の受圧面積を第1ピストン受圧面の受圧面積で割った値との関係を示すグラフである。
図11(a)、図11(b)、図11(c)、図11(d)及び図11(e)は、吐出ポートから間欠的にエアを吐出している状態を示すタイムチャートである。
【発明を実施するための形態】
(【0011】以降は省略されています)
この特許をJ-PlatPat(特許庁公式サイト)で参照する
関連特許
CKD株式会社
把持装置
3日前
CKD株式会社
流体制御弁
1か月前
CKD株式会社
昇降助力装置
10日前
CKD株式会社
アーム型助力装置
26日前
CKD株式会社
パルスエア発生装置
26日前
CKD株式会社
シート情報確認システム
4日前
CKD株式会社
噴出ヘッドの流速検査装置
3日前
CKD株式会社
栽培装置、及び栽培システム
3日前
CKD株式会社
シール手段異常検出システム及びブリスタ包装機
2か月前
株式会社豊田自動織機
流体圧シリンダ
3か月前
三和テッキ株式会社
油圧アクチュエータ
2か月前
株式会社コスメック
シリンダ装置
4か月前
株式会社不二越
電磁切替弁
3か月前
個人
省エネ改良型油圧リバースブースター
3か月前
SMC株式会社
増圧装置
1か月前
日立建機株式会社
作業機械
2か月前
日立建機株式会社
作業機械
2か月前
株式会社不二越
油圧駆動システム
3か月前
ナブテスコ株式会社
方向切換弁装置
6か月前
CKD株式会社
パルスエア発生装置
26日前
ナブテスコ株式会社
方向切換弁装置
1か月前
住友建機株式会社
ショベルの制御方法
5か月前
学校法人 中央大学
人工筋アクチュエータ装置
4か月前
株式会社WGE
増圧装置
1か月前
アズビル株式会社
パイロットリレー及びポジショナ
3か月前
日立建機株式会社
油圧システム
2か月前
カヤバ株式会社
流体圧制御装置
2か月前
インペリアルテクノサービス株式会社
二段シリンダ
10日前
中本パックス株式会社
気体圧装置
4か月前
株式会社クボタ
作業機及び作業機の制御方法
2か月前
株式会社東和製作所
シリンダ伸縮反転用バルブユニット
3か月前
株式会社コガネイ
圧縮空気供給装置
4か月前
日立建機株式会社
分別回収システム
2か月前
ジック アーゲー
磁気又は誘導センサ
1か月前
日立建機株式会社
制御弁装置および作業機械
3か月前
セイコーエプソン株式会社
圧力可変ユニット及び液体吐出装置
5か月前
続きを見る
他の特許を見る