TOP
|
特許
|
意匠
|
商標
特許ウォッチ
Twitter
他の特許を見る
10個以上の画像は省略されています。
公開番号
2025177077
公報種別
公開特許公報(A)
公開日
2025-12-05
出願番号
2024083594
出願日
2024-05-22
発明の名称
噴出ヘッドの流速検査装置
出願人
CKD株式会社
代理人
個人
,
個人
主分類
G01P
5/12 20060101AFI20251128BHJP(測定;試験)
要約
【課題】複数の噴出口が形成された噴出ヘッドの流速検査装置において、各噴出口から噴出される気体の流速を検査可能とする。
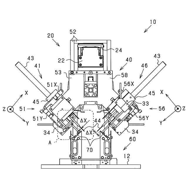
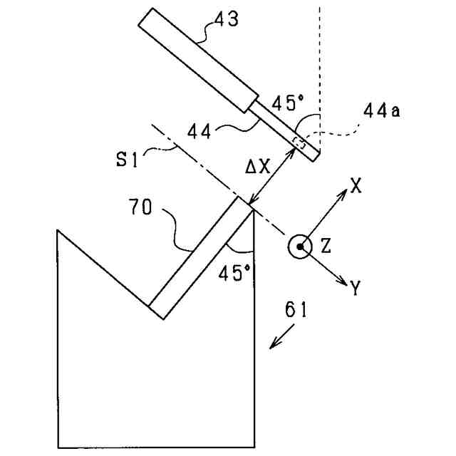
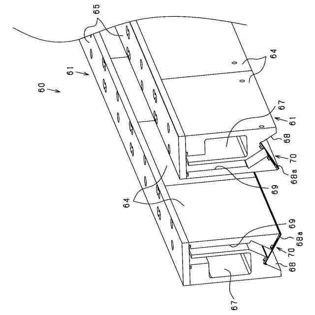
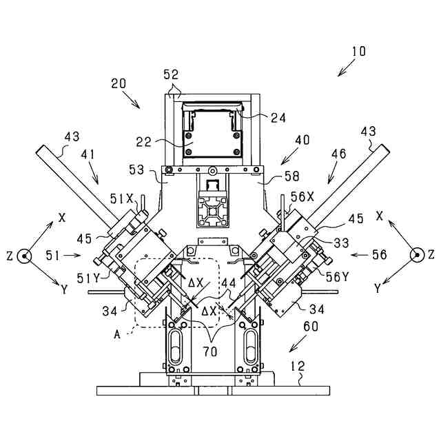
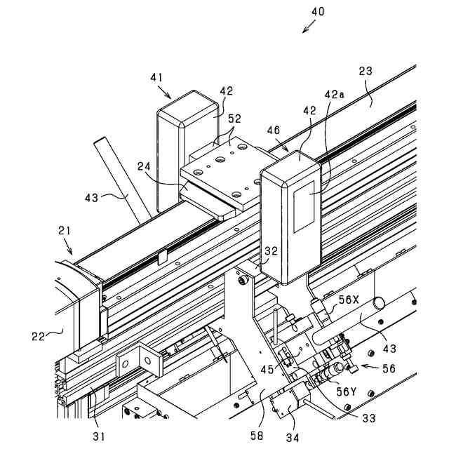
【解決手段】Z方向に並ぶ複数の噴出口が形成され且つ複数の噴出口の開口端を同一の所定平面が通っている噴出ヘッド(70)から噴出される気体の流速を検査する流速検査装置(10)であって、噴出ヘッドを支持するヘッド支持機構(12)と、検出部(44)を有し、検出部に吹き付けられた気体の流速を計測する流速計(41,46)と、所定平面と検出部との距離を調節する距離調節機構(51X,56X)と、検出部及び距離調節機構をZ方向に移動させる移動機構(20)と、を備える。
【選択図】 図4
特許請求の範囲
【請求項1】
所定方向に並ぶ複数の噴出口が形成され且つ前記複数の噴出口の開口端を同一の所定平面が通っている噴出ヘッドから噴出される気体の流速を検査する流速検査装置であって、
前記噴出ヘッドを支持するヘッド支持機構と、
検出部を有し、前記検出部に吹き付けられた気体の流速を計測する流速計と、
前記所定平面と前記検出部との距離を調節する距離調節機構と、
前記検出部及び前記距離調節機構を前記所定方向に移動させる移動機構と、
を備える、噴出ヘッドの流速検査装置。
続きを表示(約 320 文字)
【請求項2】
前記所定平面に平行であり且つ前記所定方向に垂直である方向における前記検出部の位置を調節する位置調節機構を備える、請求項1に記載の噴出ヘッドの流速検査装置。
【請求項3】
前記流速計により計測された前記気体の流速を記録する記録部と、
前記移動機構により前記検出部を前記所定方向に一定速度で移動させつつ、前記流速計により前記気体の流速を順次計測させ、前記流速計により順次計測された前記気体の流速を前記記録部により記録させる制御部と、を備える、請求項1又は2に記載の噴出ヘッドの流速検査装置。
【請求項4】
前記流速計は熱式流速計である、請求項1又は2に記載の噴出ヘッドの流速検査装置。
発明の詳細な説明
【技術分野】
【0001】
本発明は、噴出ヘッドから噴出される気体の流速を検査する流速検査装置に関する。
続きを表示(約 1,800 文字)
【背景技術】
【0002】
例えば、露光用マスクや基板等の精密な除塵対象から塵を除去する除塵装置に用いられ、除塵対象に吹き付ける気体を噴出する噴出ヘッドがある(特許文献1参照)。特許文献1に記載の噴出ヘッドは、長手方向の略全長にわたるスリットからエアを噴出する。
【先行技術文献】
【特許文献】
【0003】
特許第3975205号公報
【発明の概要】
【発明が解決しようとする課題】
【0004】
ところで、噴出されるエア(すなわち気体)の流速を高くするために、スリットの幅は例えば0.1mmというように非常に狭くされることが多い。このため、特許文献1に記載の噴出ヘッドでは、機械加工等により、噴出ヘッドの長手方向全長にわたってスリットを均一の幅で形成することが困難である。これに対して、噴出ヘッドの長手方向においてスリット(すなわち噴出口)を複数に分割して形成することが考えられる。しかし、その場合は、一部の噴出口が詰まったり、複数の噴出口から噴出される気体の流速に差が生じたりするおそれがある。このため、各噴出口から噴出される気体の流速を検査する必要がある。
【0005】
本発明は、上記課題を解決するためになされたものであり、その主たる目的は、複数の噴出口が形成された噴出ヘッドの流速検査装置において、各噴出口から噴出される気体の流速を検査可能とすることにある。
【課題を解決するための手段】
【0006】
上記課題を解決するための第1の手段は、
所定方向に並ぶ複数の噴出口が形成され且つ前記複数の噴出口の開口端を同一の所定平面が通っている噴出ヘッドから噴出される気体の流速を検査する流速検査装置であって、
前記噴出ヘッドを支持するヘッド支持機構と、
検出部を有し、前記検出部に吹き付けられた気体の流速を計測する流速計と、
前記所定平面と前記検出部との距離を調節する距離調節機構と、
前記検出部及び前記距離調節機構を前記所定方向に移動させる移動機構と、
を備える、噴出ヘッドの流速検査装置。
【0007】
上記構成によれば、噴出ヘッドには、所定方向に並ぶ複数の噴出口が形成されている。そして、前記複数の噴出口の開口端を同一の所定平面が通っている。このため、各噴出口から噴出される気体の流速を所定平面から一定距離で検出すれば、複数の噴出口から噴出される気体の流速を一定条件で検査することができる。
【0008】
ここで、流速計は、検出部を有し、前記検出部に吹き付けられた気体の流速を計測する。このため、流速計は、検出部の位置における気体の流速を計測することができる。そして、ヘッド支持機構により噴出ヘッドを支持して、距離調節機構により前記所定平面と前記検出部との距離を調節することができる。したがって、噴出ヘッドにより気体を噴出させることにより、流速計は、前記所定平面と前記検出部との距離が調節された状態(すなわち一定条件)において気体の流速を計測することができる。
【0009】
そして、移動機構は、前記検出部、及び前記所定平面と前記検出部との距離を調節した状態の前記距離調節機構を前記所定方向に移動させる。このため、移動機構により各噴出口に対向する位置に検出部を順次移動させながら、検出部に対向する噴出口から噴出された気体の流速を一定条件で順次計測することができる。したがって、複数の噴出口が形成された噴出ヘッドの流速検査装置において、各噴出口から噴出される気体の流速を検査することができる。その結果、ユーザは、一部の噴出口の詰まりや、複数の噴出口での気体の流速のばらつき等を評価することができる。ひいては、流速の検査結果に基づいて、噴出ヘッドの品質維持や、噴出ヘッドの性能向上を図ることができる。
【0010】
第2の手段では、前記所定平面に平行であり且つ前記所定方向に垂直である方向における前記検出部の位置を調節する位置調節機構を備える。こうした構成によれば、前記所定平面に平行であり且つ前記所定方向に垂直である方向において、検出部が噴出口の正面に位置するように調節しやすくなる。このため、各噴出口から噴出される気体の流速を正確に検査することができる。
(【0011】以降は省略されています)
この特許をJ-PlatPat(特許庁公式サイト)で参照する
関連特許
CKD株式会社
把持装置
1日前
CKD株式会社
流体制御弁
1か月前
CKD株式会社
昇降助力装置
8日前
CKD株式会社
アーム型助力装置
24日前
CKD株式会社
パルスエア発生装置
24日前
CKD株式会社
シート情報確認システム
2日前
CKD株式会社
噴出ヘッドの流速検査装置
1日前
CKD株式会社
栽培装置、及び栽培システム
1日前
株式会社荏原製作所
温度制御システム
2か月前
CKD株式会社
シール手段異常検出システム及びブリスタ包装機
2か月前
個人
視触覚センサ
1日前
日本精機株式会社
検出装置
1か月前
個人
採尿及び採便具
1か月前
個人
アクセサリー型テスター
1か月前
個人
計量機能付き容器
26日前
個人
高精度同時多点測定装置
1か月前
株式会社カクマル
境界杭
16日前
甲神電機株式会社
電流検出装置
1か月前
株式会社ミツトヨ
測定器
1か月前
日本精機株式会社
発光表示装置
9日前
株式会社トプコン
測量装置
8日前
ユニパルス株式会社
トルク変換器
1日前
ユニパルス株式会社
トルク変換器
1日前
ユニパルス株式会社
トルク変換器
1日前
アズビル株式会社
電磁流量計
1か月前
ダイキン工業株式会社
監視装置
1か月前
大成建設株式会社
風洞実験装置
26日前
愛知電機株式会社
軸部材の外観検査装置
1か月前
個人
計量具及び計量機能付き容器
26日前
大和製衡株式会社
組合せ計量装置
1か月前
ローム株式会社
半導体装置
1か月前
双庸電子株式会社
誤配線検査装置
1か月前
ローム株式会社
半導体装置
1か月前
日本信号株式会社
距離画像センサ
29日前
個人
非接触による電磁パルスの測定方法
29日前
愛知時計電機株式会社
ガスメータ
1か月前
続きを見る
他の特許を見る