TOP
|
特許
|
意匠
|
商標
特許ウォッチ
Twitter
他の特許を見る
公開番号
2025177355
公報種別
公開特許公報(A)
公開日
2025-12-05
出願番号
2024084108
出願日
2024-05-23
発明の名称
栽培装置、及び栽培システム
出願人
CKD株式会社
代理人
個人
,
個人
主分類
A01G
18/69 20180101AFI20251128BHJP(農業;林業;畜産;狩猟;捕獲;漁業)
要約
【課題】複数の段を有する栽培棚において段毎に加湿と保湿ができる栽培装置及び栽培システムを提供する。
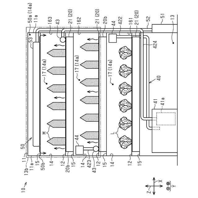
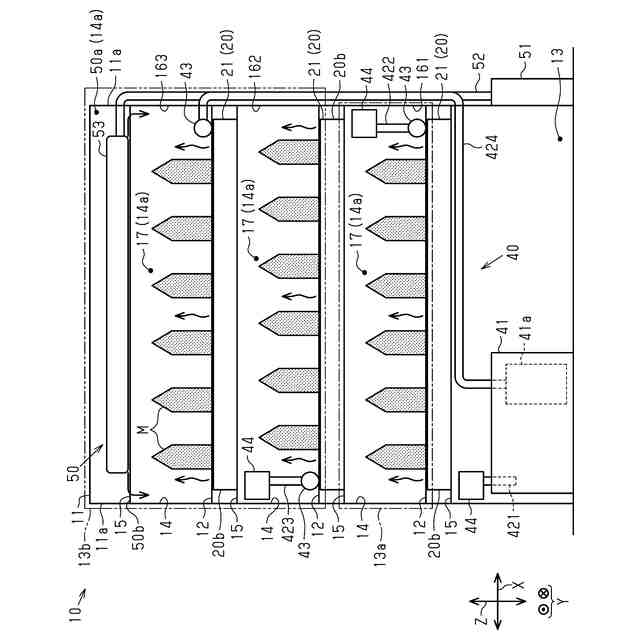
【解決手段】栽培システム100は、栽培室101に複数の栽培装置10を有する。栽培装置10は、栽培棚11と、第1遮蔽部材13a及び第2遮蔽部材13bと、載置網12と、流路部材20と、を有する。栽培棚11は、複数の段14と、栽培段16と、を有する。栽培段16には、菌床Mが配置された栽培空間17が設けられている。第1遮蔽部材13a及び第2遮蔽部材13bの各々は、栽培空間17を栽培棚11の側方から囲んでいる。載置網12は、複数の網目12aを有する。流路部材20は、各栽培段16に設けられるとともに、水平方向に水が流動するように構成されている。流路部材20を流動する水は、載置網12の網目12aを介して、菌床Mが含まれている栽培空間17を加湿及び保湿している。
【選択図】図1
特許請求の範囲
【請求項1】
複数の段を区画する支持部を有するとともに、栽培物が配置される栽培空間が設けられた栽培段を、複数の前記段のうち少なくとも1つに有する栽培棚と、
前記栽培空間を前記栽培棚の側方から囲む遮蔽部材と、
前記栽培物が上面に載置されるとともに複数の孔が設けられた載置板と、
前記支持部の上面に設けられるとともに前記載置板を支持する流路部材と、を有しており、
前記流路部材は、水平方向に液体が流動するように構成されつつ上方に向かって開口していることを特徴とする栽培装置。
続きを表示(約 700 文字)
【請求項2】
前記栽培物は菌床であり、
前記栽培段よりも上方から下方に向けて空気を送風するように構成された空調機構を有しており、前記栽培段よりも下方において前記空気を前記栽培棚の外部に排気する請求項1に記載の栽培装置。
【請求項3】
前記遮蔽部材は、前記栽培棚の内部を遮光するように構成されており、
前記空調機構は、
前記栽培段よりも下方、且つ前記遮蔽部材よりも前記栽培棚の外側に設けられた吸入部と、
前記栽培段よりも上方に設けられた送風部と、
前記遮蔽部材と前記栽培棚との間に設けられるとともに前記吸入部と前記送風部とを接続する空調用配管と、を有しており、
前記吸入部は、前記遮蔽部材よりも前記栽培棚の外側の前記空気を前記空調用配管に吸入しており、
前記送風部は、前記空調用配管により導入された前記空気を送風する請求項2に記載の栽培装置。
【請求項4】
前記流路部材は、水平方向に延びる複数の流路形成材によって構成されており、
前記流路形成材は、上方に向かって開口する樋状であり、
前記液体は、複数の前記流路形成材に沿って流れている請求項1に記載の栽培装置。
【請求項5】
栽培室と、
前記栽培室に設けられた複数の栽培装置と、
前記栽培室の内部の温度を調整するとともに前記栽培室の内部の空気を流動させる室内空調設備と、を有する栽培システムであって、
前記栽培装置は、請求項1~請求項4のいずれか一項に記載の栽培装置であることを特徴とする栽培システム。
発明の詳細な説明
【技術分野】
【0001】
本発明は、栽培装置、及び栽培システムに関する。
続きを表示(約 1,400 文字)
【背景技術】
【0002】
従来、茸や野菜等の栽培を室内で実施する場合、栽培物を配置するために複数の段を有する栽培棚を含む栽培装置が用いられる。栽培を実施する栽培室には、複数の栽培棚に加えて、室内の温度や湿度を調整するための室内空調設備が設けられる。各栽培棚に配置された栽培物は、室内空調設備により調整された環境において栽培される。
【0003】
例えば、特許文献1には、茸の栽培と植物の栽培とを同じ室内空間で実施する混成栽培システムが開示されている。混成栽培を実施する室内空間には、温度を調整するとともに空気を流動させる空調設備、湿度を調整する加湿器が含まれている。
【先行技術文献】
【特許文献】
【0004】
特許第7215984号公報
【発明の概要】
【発明が解決しようとする課題】
【0005】
栽培室に設けられた加湿器により複数の栽培棚を加湿する場合、栽培棚毎、及び各栽培棚の段毎といった空間的に細かい湿度の調整は困難である。栽培装置は、複数の段を有する栽培棚において段毎に加湿可能であることが望まれている。
【課題を解決するための手段】
【0006】
上記課題を解決するための栽培装置は、複数の段を区画する支持部を有するとともに、栽培物が配置される栽培空間が設けられた栽培段を、複数の前記段のうち少なくとも1つに有する栽培棚と、前記栽培空間を前記栽培棚の側方から囲む遮蔽部材と、前記栽培物が上面に載置されるとともに複数の孔が設けられた載置板と、前記支持部の上面に設けられるとともに前記載置板を支持する流路部材と、を有しており、前記流路部材は、水平方向に液体が流動するように構成されつつ上方に向かって開口していることを要旨とする。
【0007】
上記栽培装置において、前記栽培物は菌床であり、前記栽培段よりも上方から下方に向けて空気を送風するように構成された空調機構を有しており、前記栽培段よりも下方において前記空気を前記栽培棚の外部に排気してもよい。
【0008】
上記栽培装置において、前記遮蔽部材は、前記栽培棚の内部を遮光するように構成されており、前記空調機構は、前記栽培段よりも下方、且つ前記遮蔽部材よりも前記栽培棚の外側に設けられた吸入部と、前記栽培段よりも上方に設けられた送風部と、前記遮蔽部材と前記栽培棚との間に設けられるとともに前記吸入部と前記送風部とを接続する空調用配管と、を有しており、前記吸入部は、前記遮蔽部材よりも前記栽培棚の外側の前記空気を前記空調用配管に吸入しており、前記送風部は、前記空調用配管により導入された前記空気を送風してもよい。
【0009】
上記栽培装置において、前記流路部材は、水平方向に延びる複数の流路形成材によって構成されており、前記流路形成材は、上方に向かって開口する樋状であり、前記液体は、複数の前記流路形成材に沿って流れてもよい。
【0010】
上記課題を解決するための栽培システムは、栽培室と、前記栽培室に設けられた複数の栽培装置と、前記栽培室の内部の温度を調整するとともに前記栽培室の内部の空気を流動させる室内空調設備と、を有する栽培システムであって、前記栽培装置は、上記栽培装置であることを要旨とする。
【発明の効果】
(【0011】以降は省略されています)
この特許をJ-PlatPat(特許庁公式サイト)で参照する
関連特許
CKD株式会社
把持装置
2日前
CKD株式会社
巻回装置
4か月前
CKD株式会社
把持装置
2か月前
CKD株式会社
流体制御弁
1か月前
CKD株式会社
流体制御弁
3か月前
CKD株式会社
流体制御弁
4か月前
CKD株式会社
昇降助力装置
9日前
CKD株式会社
回転ジョイント
4か月前
CKD株式会社
アーム型助力装置
25日前
CKD株式会社
パルスエア発生装置
25日前
CKD株式会社
原反バッファ供給装置
3か月前
CKD株式会社
シート情報確認システム
3日前
CKD株式会社
噴出ヘッドの流速検査装置
2日前
CKD株式会社
栽培装置、及び栽培システム
2日前
CKD株式会社
検査装置及びブリスタ包装機
3か月前
株式会社荏原製作所
温度制御システム
2か月前
CKD株式会社
トレイシール機及びトレイパックの製造方法
4か月前
CKD株式会社
シール手段異常検出システム及びブリスタ包装機
2か月前
個人
産卵床
9日前
個人
草刈り鋏
1か月前
個人
蠅捕獲器
1か月前
個人
平板植栽
10日前
個人
釣り用錘
27日前
個人
噴霧器ノズル
25日前
個人
果実袋
9日前
個人
蜜蜂保護装置
1か月前
個人
養殖器具
9日前
個人
種子の製造方法
1か月前
個人
移動体草刈り機
9日前
個人
草刈機用回転刃
1か月前
個人
昆虫捕集器
1か月前
個人
水田排水量調整器具
9日前
井関農機株式会社
作業車両
1か月前
個人
可動リップ付きルアー
1か月前
株式会社剛樹
釣り竿
23日前
個人
ブルーカーボンシステム
1か月前
続きを見る
他の特許を見る